NB168-Parts List 配件手册 - 第204页
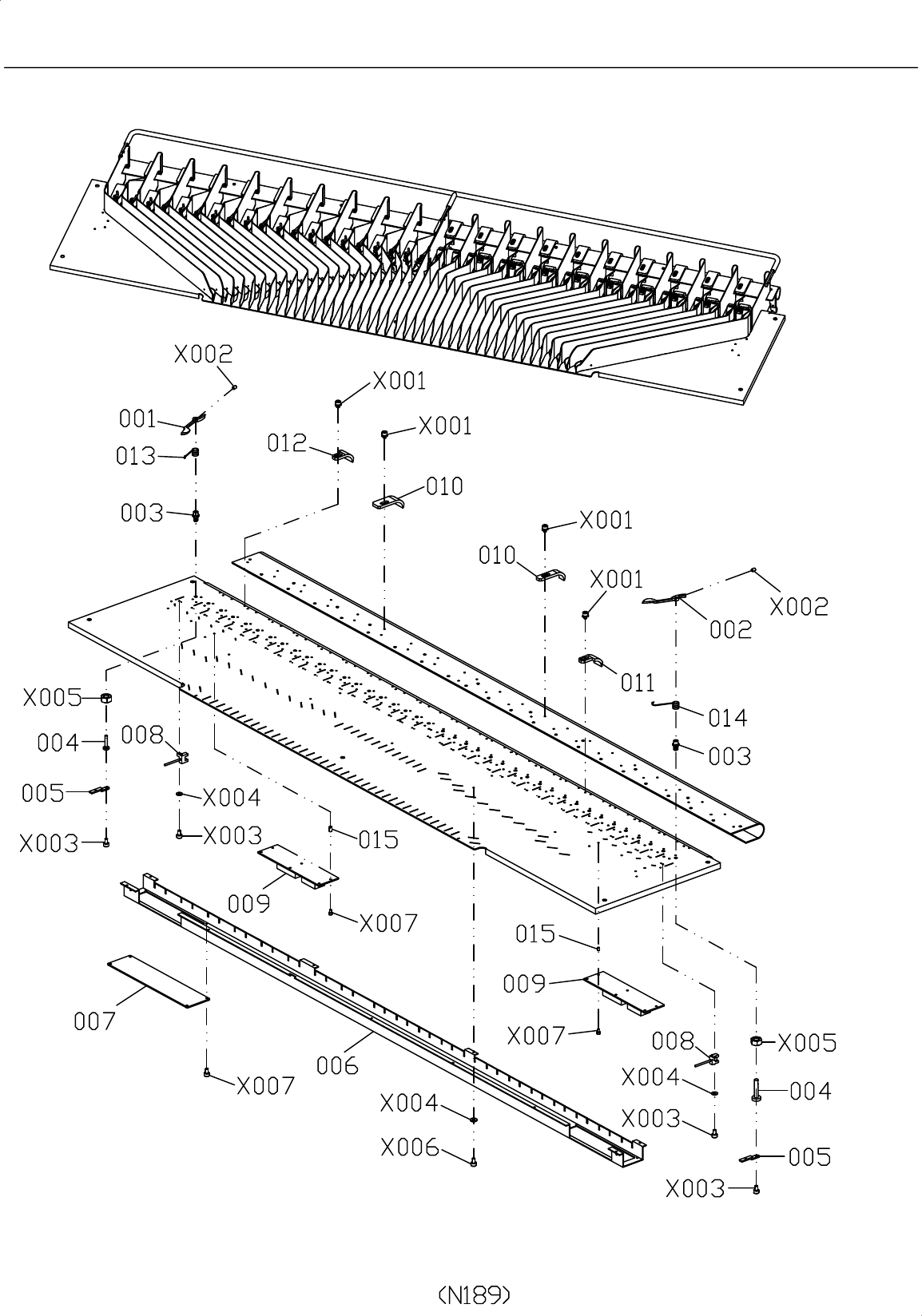
序号 料号 部品名称 数量 规格 备注 A001 NB168MS001AA MATERIAL SHELF NUIT 1 001 NB16816001AA PLATE 1 002 NB16816002AA PLATE 1 003 NB16816003AA PLATE 1 004 NB16816004AA BAR 1 005 NB16816014AA PLATE 40 006 NB16816Z01AA PLATE 1 007 NB16816…

16 MATERIAL SHELF.-1

序号 料号 部品名称 数量 规格 备注
A001 NB168MS001AA MATERIAL SHELF NUIT 1
001 NB16816001AA PLATE 1
002 NB16816002AA PLATE 1
003 NB16816003AA PLATE 1
004 NB16816004AA BAR 1
005 NB16816014AA PLATE 40
006 NB16816Z01AA PLATE 1
007 NB16816Z02AA PLATE 1
008 NB16816Z03AA PLATE 1
009 NB16816Z04AA PLATE 1
010 NB16816Z05AA PLATE 1
011 NB16816Z06AA PLATE 1
012 NB16816Z07AA PLATE 1
013 NB16816Z08AA PLATE 1
014 NB16816Z09AA PLATE 1
015 NB16816Z10AA PLATE 1
016 NB16816Z11AA PLATE 1
017 NB16816Z12AA PLATE 1
018 NB16816Z13AA PLATE 1
019 NB16816Z14AA PLATE 1
020 NB16816Z15AA PLATE 1
021 NB16816Z16AA PLATE 1
022 NB16816Z17AA PLATE 1
16 MATERIAL SHELF.-1
023 NB16816Z18AA PLATE 1
024 NB16816Z19AA PLATE 1
025 NB16816Z20AA PLATE 1
026 NB16816Z21AA PLATE 1
027 NB16816Z22AA PLATE 1
028 NB16816Z23AA PLATE 1
029 NB16816Z24AA PLATE 1
030 NB16816Z25AA PLATE 1
031 NB16816Z26AA PLATE 1
032 NB16816Z27AA PLATE 1
033 NB16816Z28AA PLATE 1
034 NB16816Z29AA PLATE 1
035 NB16816Z30AA PLATE 1
036 NB16816Z31AA PLATE 1
037 NB16816Z32AA PLATE 1
038 NB16816Z33AA PLATE 1
039 NB16816Z34AA PLATE 1
040 NB16816Z35AA PLATE 1
041 NB16816Z36AA PLATE 1
042 NB16816Z37AA PLATE 1
043 NB16816Z38AA PLATE 1
044 NB16816Z39AA PLATE 1
045 NB16816Z40AA PLATE 1
X001 NB168SH0305 SOKET HEAD CAP SCREW 140 M3-L5
X002 NB168SH0406 SOKET HEAD CAP SCREW 6 M4-L6
X003 NB168GS0305 FLAT SCREW 80 M3-L5
X003 NB168GS0305 FLAT SCREW 80 M3-L5
X004 NB168HEX03 HEXAGON NUT 20 M3
N188

16 MATERIAL SHELF.-2