NB168-Parts List 配件手册 - 第242页
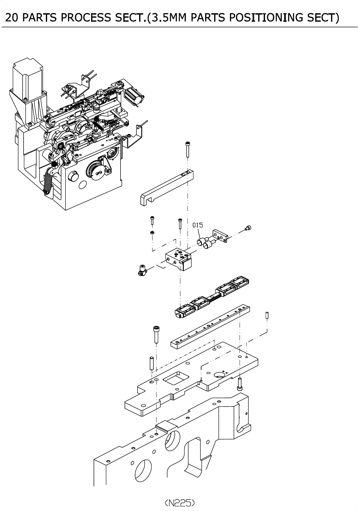
序号 料号 部品名称 数量 规格 备注 015 NB16820122AA PISTON 1 20 PAR TS PRO CESS S ECT.(3 .5MM P ARTS P OSITIO NING S ECT) N226


序号 料号 部品名称 数量 规格 备注
015 NB16820122AA PISTON 1
20 PARTS PROCESS SECT.(3.5MM PARTS POSITIONING SECT)
N226

21 LOWER ANVIL SECT.(3.5MM SECT.-1)