NB168-Parts List 配件手册 - 第289页
在线预览 NB168-Parts List 配件手册 PDF 文档。

序号 料号 部品名称 数量 规格 备注
030 NB1682541038AA TAPE GUIDE 1
031 NB1682541034AA LEVER 1
032 NB1681275024AA SPRING 1
036 NB1681275035AA PIN 1
037 NB1681275066AA PIN 2
041 NB168JR1/5WAA RETAINING RING E-TYPE 6
042 NB1682541033AA SLIDER 1
043 NB1681275068 CLAW 1
044 NB1681275002AA CLAW 1
045 NB1681275019AA CLAW 1
046 NB1681275021AA SPRING 2
047 NB1681275023AA SPRING 1
048 NB1681275018AA SPACER 2
049 NB1681275037AA ROLLER 2
050 NB1681275047AA PIN 1
051 NB1681275020AA PIN 2
052 NB1681275017AA PIN 2
053 NB1681275010AA PIN 1
054 NB1681275055AA STOPPER 1
055 NB168PMR25AA SENSOR UNIT 1 PM-R25
X001 NB168SH0306 SOKET HEAD CAP SCREW 4 M3-L6
X002 NB168HEX03 HEXAGON NUT 1 M3
26 TAPE FEEDER SECT.(25.4X10.0(2))
X002 NB168HEX03 HEXAGON NUT 1 M3
X003 NB168FG0307 FLAT WASHER 1 3-7-H0.5
X004 NB168SW03 SPRING WASHER 1 3-4-H1.0
X005 NB168SH0206 SOKET HEAD CAP SCREW 1 M2-L6
N272


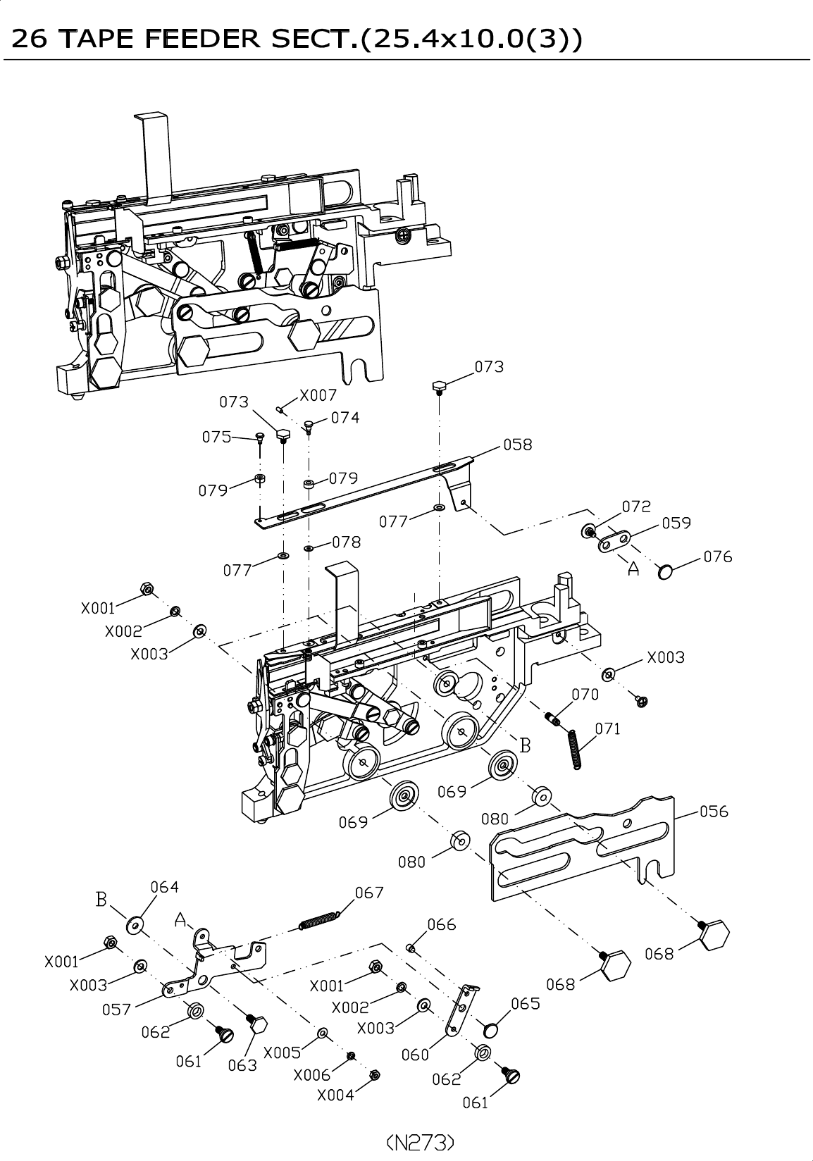
序号 料号 部品名称 数量 规格 备注
056 NB1682541060AA CAM 1
057 NB1681275039AA LEVER 1
058 NB1681275042AA SLIDER 1
059 NB1681275043AA LEVER 1
060 NB1681275040AA LEVER 1
061 NB1681275031AA PIN 2
062 NB1681275009AA ROLLER 2
063 NB1681275057AA PIN 1
064 NB1681275030AA COLLAR 1
065 NB1681275065AA PIN 1
066 NB1681275041AA PIN 1
067 NB1681275050AA SPRING 1
068 NB1681275058AA PIN 2
069 NB1681275059AA SPACER 2
070 NB1681275051AA PIN 1
071 NB1681275052AA SPRING 1
072 NB1681275010AA PIN 1
073 NB1681275053AA PIN 2
074 NB1681275061AA PIN 1
075 NB1681275045AA PIN 1
076 NB1681275044AA PIN 1
077 NB1681275054AA SPACER 2
078 NB1681275062AA SPACER 1
079 NB1681275046AA ROLLER 2
080 NB1681260ZZAA BEARING 2 L-1260ZZ
X001 NB168HEX04 HEXAGON NUT 5 M4
X002 NB168SW04 SPRING WASHER 4 4-7-H1.0
X003 NB168FG0409 FLAT WASHER 6 4-9-H1.0
X004 NB168HEX03 HEXAGON NUT 1 M3
X005 NB168FG0307 FLAT WASHER 1 3-7-H0.5
X006 NB168SW03 SPRING WASHER 1 3-5-H1.0
X007 NB168SS0202 SUNK SCREW 1 M2-L2
X008 NB168PH0306 ROUND HEAD SCREW 1 M3-L6
26 TAPE FEEDER SECT.(25.4X10.0(3))
N274