00195738-0102_UM_X-Serie_SR605_KO - 第183页
사용자 매뉴얼 SIPLACE X-S eries 3 장비에 대한 기술 데이터 소프트웨어 버전 SR.605.xx 2008 년 7 월 한글판 3 .9 SIPLACE X- 시 리즈 컴포넌트 트롤리의 X 피더 모듈 183 3.9 .5 X 피더 모듈용 에너지 및 데이터 인터페이스 품목 번호 001412 47-xx X 피더 모듈용 에너지 및 데이터 인터페이스 그림 3.9 - 16 X 피더 모듈용 에너지 …

3 장비에 대한 기술 데이터 사용자 매뉴얼 SIPLACE X-Series
3.9 SIPLACE X- 시리즈 컴포넌트 트롤리의 X 피더 모듈 소프트웨어 버전 SR.605.xx 2008 년 7 월 한글판
182
3.9.4.3 리젝트 컨베이어가 포함된 X- 시리즈용 피더 모듈 어댑터
그림 3.9 - 15 선형 진동 피더가 포함된 X- 시리즈용 피더 모듈 어댑터
(1) X- 시리즈 피더 모듈용 어댑터 (00141305-xx)
(2) 리젝트 컨베이어용 어댑터 평판 (00141308-xx)
(3) 리젝트 컨베이어

사용자 매뉴얼 SIPLACE X-Series 3 장비에 대한 기술 데이터
소프트웨어 버전 SR.605.xx 2008 년 7 월 한글판 3.9 SIPLACE X- 시리즈 컴포넌트 트롤리의 X 피더 모듈
183
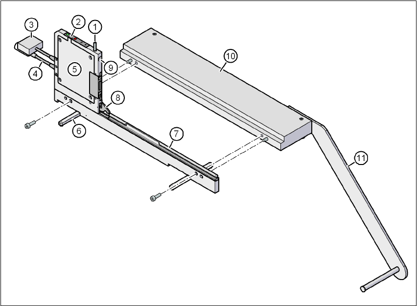
3.9.5 X 피더 모듈용 에너지 및 데이터 인터페이스
품목 번호 00141247-xx X 피더 모듈용 에너지 및 데이터 인터페이스
그림 3.9 - 16 X 피더 모듈용 에너지 및 데이터 인터페이스
(1) 잠금 걸쇠 해제용 버튼
(2) 오퍼레이터 패널
(3) 데이터 케이블
(4) 전원 공급 케이블
(5) 전자 케이스
(6) 접이식 받침대
(7) 피더 모듈 가이드용 오메가 프로파일
(8) 잠금 걸쇠
(9) 피더 모듈의 앞쪽 센터링 핀용 위치결정 구멍
(10)바닥판
(11)코일 홀더

3 장비에 대한 기술 데이터 사용자 매뉴얼 SIPLACE X-Series
3.9 SIPLACE X- 시리즈 컴포넌트 트롤리의 X 피더 모듈 소프트웨어 버전 SR.605.xx 2008 년 7 월 한글판
184
3.9.5.1 설명
에너지 및 데이터 인터페이스를 통해 X 피더 모듈을 실장기 및 셋업 영역 외부에서 사용할 수 있
습니다 . 이 인터페이스는 오메가 프로파일 (181 페이지에 있는 그림 3.9 - 14 의 항목 7) 의 알루
미늄 프레임으로 구성됩니다 . 피더 모듈은 X 컴포넌트 트롤리와 마찬가지로 슬라이더를 통해 오
메가 프로파일에 실장되며 , 피더 모듈의 앞쪽 센터링 핀이 위치결정 구멍 (181 페이지에 있는 그
림 3.9 - 14 의 항목 9) 에 완전히 끼워질 때까지 이 피더 모듈을 앞쪽으로 밉니다 . 잠금 걸쇠 (181
페이지에 있는 그림 3.9 - 14 의 항목 8) 는 이 위치에 있는 피더 모듈을 잠급니다 . 피더 모듈을
제거하려면 해제 버튼 (181 페이지에 있는 그림
3.9 - 14 의 항목 1) 을 누르기만 하면 됩니다 . 잠금 걸쇠 (181 페이지에 있는 그림 3.9 - 14 의
항목 8) 을 아래로 누르면 피더 모듈이 해제됩니다 . 접이식 받침대 (181 페이지에 있는 그림 3.9
- 14 의 항목 6) 는 특히 넓은 피더 모듈을 위해 에너지 및 데이터 인터페이스의 위치를 안정화합
니다 .
전자 케이스 (181 페이지에 있는 그림 3.9 - 14 의 항목 5) 에는 에너지 및 데이터 인터페이스용
전자 제어 장치가 들어있습니다 . 오퍼레이터 패널 (181 페이지에 있는 그림 3.9 - 14 의 항목 2)
은 시작 버튼과 정지 버튼 및 두 개의 상태 LED 로 이루어져 있습니다 . PC 와의 통신은 데이터
케이블 (181 페이지에 있는 그림 3.9 - 14 의 항목 3) 을 통해 이루어집니다 . 전원 공급 케이블
(181 페이지에 있는 그림 3.9 - 14 의 항목 4) 은 제공된 전원 공급기에 연결되어 있습니다 .
3.9.5.2 용도
에너지 및 데이터 인터페이스는 X 피더 모듈을 점검 , 유지보수 및 수리하는 데 사용되며 PCB 생
산용으로 미리 셋업할 경우에도 사용됩니다 . 이 경우 , 에너지 및 데이터 인터페이스는 바닥판
(187 페이지에 있는 그림 3.9 - 18 의 항목 10) 에 고정되어 있습니다 . 코일 홀더 (187 페이지에
있는 그림 3.9 - 18 의 항목 11) 도 바닥판에 장착되어 있습니다 . 컴포넌트 테이프를 삽입할 때
증분 , 픽업 위치 및 컨베이어 속도를 점검하거나 재설정할 수 있습니다 . 세부 사용자 매뉴얼에
서는 인터페이스 사용법과 필요한 서비스 작업을 설명합니다 .
3.9.5.3 인도물
– 단일 슬롯 EDIF
a
– 전원 공급기 , 100 - 120 / 200 - 240VAC, +30VDC, 4.3A
– 코일 암이 장착된 바닥판
– 사용자 매뉴얼
a) EDIF = 에너지 및 데이터 인터페이스