00195738-0102_UM_X-Serie_SR605_KO - 第210页
3 장비에 대한 기술 데이터 사용자 매뉴얼 SIPLACE X-Series 3.10 SIPLACE HF 컴포넌트 트롤리의 S 피더 모듈 소 프트웨어 버전 SR.605.xx 2008 년 7 월 한글판 210 참고 – 와플 - 팩 트레이 홀 더는 위치 2 및 4 에서만 셋업할 수 있습니다 . – 컴포넌트 테이블 상 에서 14 번과 15 번 피더 모듈 위치는 채우지 말 아야 합니다 . – 홀더와 노…

사용자 매뉴얼 SIPLACE X-Series 3 장비에 대한 기술 데이터
소프트웨어 버전 SR.605.xx 2008 년 7 월 한글판 3.10 SIPLACE HF 컴포넌트 트롤리의 S 피더 모듈
209
3.10.9.3 조립
그림 3.10 - 17 설치
(1) 센터링 핀
(2) 자기 레일
(3) 센터링 볼
(14), (15) 이 위치는 채우지 말아야 합니다 .
실장 헤드의 범위 TH, C&P6, C&P12
최대 와플 - 팩 트레이 높이
( 컴포넌트 포함 )
C&P12
C&P6
TH
12.5mm
12.5mm
28.5mm

3 장비에 대한 기술 데이터 사용자 매뉴얼 SIPLACE X-Series
3.10 SIPLACE HF 컴포넌트 트롤리의 S 피더 모듈 소프트웨어 버전 SR.605.xx 2008 년 7 월 한글판
210
참고
– 와플 - 팩 트레이 홀더는 위치 2 및 4 에서만 셋업할 수 있습니다 .
– 컴포넌트 테이블 상에서 14 번과 15 번 피더 모듈 위치는 채우지 말아야 합니다 .
– 홀더와 노즐 체인저는 위치 4 에서 동시에 사용할 수 없습니다 .
– 홀더가 장착되어 있을 경우에는 컴포넌트 트롤리를 도킹 또는 도킹해제할 수 없습니다 .
3.10.9.4 조립
→ 와플 - 팩 트레이 홀더의 앞쪽을 해당 센터링 핀 (209 페이지에 있는 그림 3.10 - 17 의 A) 으
로 집어넣습니다 .
→ 그런 다음 와플 - 팩 트레이 홀더의 뒷면에 있는 구멍을 컴포넌트 테이블에 있는 센터링 볼
(209 페이지에 있는 그림 3.10 - 17 의 B) 에 오도록 합니다 .
→ 와플 - 팩 트레이가 컴포넌트 테이블에 단단히 장착되도록 합니다 .
→ 와플 - 팩 트레이 캐리어의 한 쪽을 마운팅 (209 페이지에 있는 그림 3.10 - 17 의 C) 에 놓습
니다 . 그런 다음 다른 쪽을 마운팅 (209 페이지에 있는 그림 3.10 - 17 의 D) 안으로 누릅니
다.
→ 와플 - 팩 트레이를 정지장치 (209 페이지에 있는 그림 3.10 - 17 의 E) 에 부딪칠 때까지 밉
니다 .
→ 스러스트 패드 (209 페이지에 있는 그림 3.10 - 17 의 F) 를 아래쪽으로 눌러 와플 - 팩 트레
이 캐리어를 고정시킵니다 .
→ 와플 - 팩 트레이 캐리어를 분리하려면 스러스트 패드를 다시 한 번 누릅니다 .
참고
소형 와플 - 팩 트레이 (136mm)홀더를 사용하면 와플 - 팩 트레이 (JEDEC 또는 CENELEC 와
플 - 팩 트레이 ) 를 홀더에 직접 즉 , 와플 - 팩 트레이 캐리어를 사용하지 않고 장착할 수 있습니
다 . 이렇게 하려면 고정기 (209 페이지에 있는 그림 3.10 - 17 의 G) 를 교체합니다 .
경고
86 페이지의 2.6.5.2 섹션에 나와있는 분말 금속 소재 캐패시터 처리에 대한 안전 지침을 따르십
시오 .
3.10.9.5 고정기 교체
→ 고정기 (209 페이지에 있는 그림 3.10 - 17 의 G) 를 꽉 잡습니다 . 스러스트 패드를 아래로 누
르고 (209 페이지에 있는 그림 3.10 - 17 의 F) 측면으로 눌러 고정기를 빼냅니다 .

사용자 매뉴얼 SIPLACE X-Series 3 장비에 대한 기술 데이터
소프트웨어 버전 SR.605.xx 2008 년 7 월 한글판 3.10 SIPLACE HF 컴포넌트 트롤리의 S 피더 모듈
211
3.10.9.6 데이터 입력
SIPLACE Pro 작동 지침에 설명되어 있는 대로 와플 - 팩 트레이를 정의합니다 .
3.10.10 SIPLACE HF 컴포넌트 트롤리의 딥 모듈
품목 번호 00117010-xx 용제 및 접착제용 딥 모듈
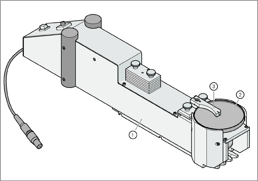
그림 3.10 - 18 딥 모듈
(1) 딥 모듈
(2) 회전판
(3) 고무 걸레
3.10.10.1 설명
딥 모듈 ( 그림 3.10 - 18 의 항목 1) 은 플립칩이나 CSP 컴포넌트에 용제나 유도 접착제를 바르
는 데 사용합니다 . 용제 홀더는 고무 걸레 ( 그림 3.10 - 18 의 항목 3) 로 위에 용제를 얇게 ( 예
: 40µm) 칠한 회전판 ( 그림 3.10 - 18 의 항목 2) 입니다 . 이 방법은 매우 점착성이 강한 ( 꿀처
럼 ) 용제에 특히 적합합니다 . 범프 아래 면에만 용제를 발라야 하므로 프로세스에 필요한 용제
의 양은 최소한의 코팅 두께로 줄입니다 .