3OM-1208-011_w.pdf - 第156页
3-69 AIVEDT -ID (4) Placement Feeder Location Data T able 3C9 Fdr No. Component ID C Comment Feeder Fixed Feeder Alternate Fdr No. 101 T ANA3216C0HIT - Disable Disable 000 103 TR2012-3B0HIT -L2 - Disable Disable 000 105 …

3-68
AIVEDT-ID
•
PEC Recognition Data
Table 3C6
PEC recognition function Enable
Correction algorithm Standard
Zone 1 2 Point
Zone 2 Disable
Zone 3 Disable
Zone 4 Disable
Zone 5 Disable
Image Disable
local Disable
Fiducial Zone 1 #1 X (Horizontal) FX1
mark Y (Vertical) FY1
Mark Code 1
#2 X (Horizontal) FX2
Y (Vertical) FY2
Mark Code 1
Beam Stage 1 Automatic (1 or 2)
Stage 2 Automatic (3 or 4)
Sequence Stage 1
After Pick Up
Stage 2 After Pick Up
PEC recognition Mode Global
•
PEC Recognition Mark Data
Table 3C7
Mark
No.
Mark
Size
D1[mm]
1 Round 1.00 0.00 0.00 000.00 05.0 Bright High Standard Standard
(Normal)
Mark
Type
Mark
Size
D2[mm]
Mark
Size
D3[mm]
Angle
[deg]
Window
Size
[mm]
Mark
Image
Mark
Level
Lighting
Level
Coax
Lighting
Level
Ring
•
Setup Data
Create this data when the automatic setup function is used.
(3) Creation of Placement Head/Nozzle Data
Table 3C8
Nozzle No. Head 1 Head 2 Head 3 Head 4
Nozzle 1 ID Name
Nozzle 2 ID Name
Nozzle 3 ID Name
Nozzle 4 ID Name
Nozzle12 ID Name
HA04
HV03
HA05
HA04
HV03
HA05
HA04
HV03
HA05
HA04
HV03
HA05
0606-009
3.1 Single Pattern (Global Recognition Enabled)

3-69
AIVEDT-ID
(4) Placement Feeder Location Data
Table 3C9
Fdr No. Component ID C Comment Feeder Fixed
Feeder
Alternate
Fdr No.
101 TANA3216C0HIT - Disable Disable 000
103 TR2012-3B0HIT
-L2 - Disable Disable 000
105
SOP008-B02SAN32E E Disable Disable 000
(5) P-data (U01)
•
Unit Control
Table 3C10
Unit Control Offset X [mm] Offset Y [mm] Offset Z [deg] Offset H [mm]
Placement +000.000 +000.000 +000.00 +0.000
•
Unit PCB Fiducial
Set "Disable" in this text box.
Do not set any parameters in the other text boxes.
•
P-data
Table 3C11
P-No. X [mm] Y [mm] Z [deg] H [mm] Fdr No. C Comment
1 X
1
Y
1
+000.00 +0.000 101 -
2 X
2
Y
2
+090.00 +0.000 103 -
3 X
3
Y
3
+180.00 +0.000 105 -
4 +000.000 +000.000 +000.00 +0.000 000 E
(6) O-data (U01)
Do not create this data.
0606-009
3.1 Single Pattern (Global Recognition Enabled)

3-70
AIVEDT-ID
3.2 Repetitive Patterns (Image Recognition Enabled)
(1) Information on Pattern Program Creation
•
PCB Size, Packaged Posture and ID of Components, and Fiducial
Marks
The data is the same as those described in "3.1 Single Pattern
(Global Recognition Enabled)".
•
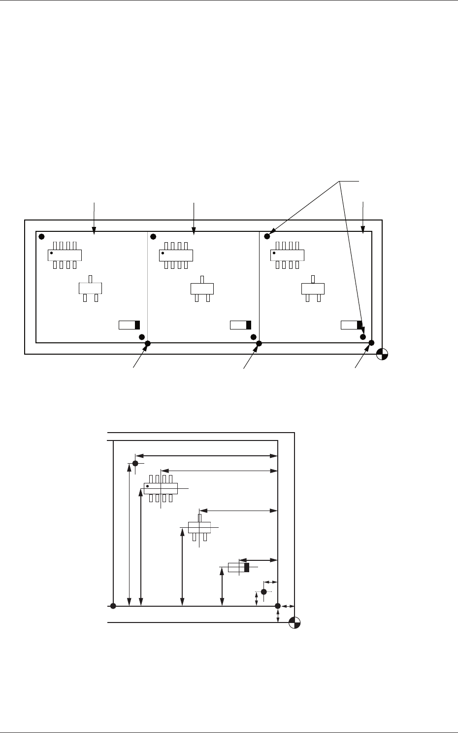
Placement Coordinates, Angles, and Fiducial Mark Coordinates
Placement
Coordinate
Reference
Pattern 3
Pattern 2 Pattern 1
Fiducial Marks
Pattern Origin (0X
3, 0Y3) (0X2, 0Y2) (0X1, 0Y1)
Fig. 3C54 Whole View
X3
Y3
X2
Y2
X1
OX1
Y1
OY1
FX1
FY1
FY2
FX2
Placement
Coordinate
Reference
Fig. 3C55 Pattern 1 (Magnified View)
0606-009
3.2 Repetitive Patterns (Image Recognition Enabled)