CM101-D Electrical parts20160302 - 第16页
1 本体部取付制御部品 Electric Pa rts on Main Body パーツレイアウト Kit No. キット品 番 Kit N am e キット名称 N610043861AA セクションN o. PARTS LAYOUT Section No. - - E1 ( KN610043861AA-15 )

Kit Name
RankQ'ty
番号
Part No.
キット名
品番
数量 ランク
頁
PageNo.
2
CM101-D:モジュラーマウンタ
CM101-D:Modular Placement Machine
キットリスト
Model No.
製品品番
Model Name
製品名称
NM-EJM5B
KIT LIST
1
9
N610027774AA HUB Power BOX_RoHS
HUB電源BOX_RoHS
E17
1
10
N610044189AA Communication Function Wiring
通信機能対応配線
E19
1
11
N610044188AA PanaPro/CVT Wiring
PanaPro/CVT対応配線
E21
1
12
N610044190AA HUB Option Unit Wiring
HUBオプションユニット対応配線
E23
1
13
N610017946AA Feeder Cart Cont RoHS
一括交換台車制御RoHS対応
E25
1
14
NMEJW1A Change Cart Preparation Unit
一括交換台車段取ユニット
E27
1
15
N610052523AA 3Dsensor wiring
3Dセンサ対応配線
E29
U4
--
( KEJM5BE-07-2 )

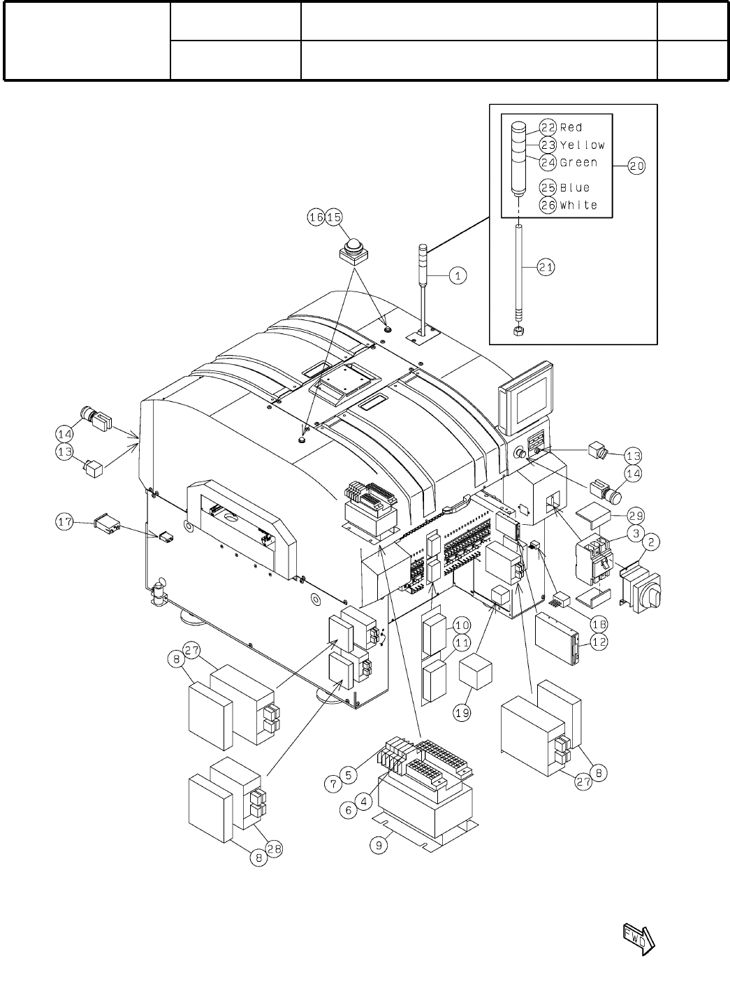
1
本体部取付制御部品
Electric Parts on Main Body
パーツレイアウト
Kit No.
キット品
番
Kit Name
キット名称
N610043861AA
セクションNo.
PARTS LAYOUT
Section No.
--
E1
( KN610043861AA-15 )

Ref
No.
Remarks
R
1
Q'ty
1
本体部取付制御部品
Electric Parts on Main Body
イラスト
No.
Part No.
品 名品番 数量
R
2
パーツリスト
Kit N
o
.
キット品
番
Kit Name
キット名称
N610043861AA
Part Name
備 考
セクションNo.
PARTS LIST
Section No.
R
3
PATLITE
1
1 N610018330AB
S
Three-color PATLITE LEDRoHS_with 380mm Pole
SWITCH-PARTS
1
2 N510058199AA
S
V-05SRUL
BREAKER
1
3 N510064051AA
S
NF100-SRU 3P 15A
CIRCUIT-PROTECTOR
1
4 N510013339AB
S
CP30-BA 3P 1-MD 7A
CIRCUIT-PROTECTOR
1
5 N510012144AB
S
CP30-BA 2P 1-MD 7A
TERMINAL-COVER
1
6 N510056895AA TCL-CP3
TERMINAL-COVER
1
7 N510056894AA TCL-CP2
RESISTOR
3
8 KXFP60UAA00
S
MR-RB12
TRANS
1
9 N510013068AA
S
TH2680W16KB
NOISE-FILTER
1
10 N510028465AA
S
NAC-10-472
NOISE-FILTER
1
11 N510034045AA
S
TAH-10-683
FDD
1
12 N902YD70-242
S
YD-702D-6238D
SWITCH
2
13 N510055493AA
S
AR22PR-220G(CCC)
SWITCH
2
14 N510011524AA
S
XW1E-BV402MFR-TK2377
LAMP
2
15 KXFP6GAGA00 APN122DNS-TK2310
TERMINAL-COVER
2
16 KXFP60LAA00 APN-PVL
METER
1
17 KXFP5C9AA00
S
TH632
SK
1
18 N610165736AA
S
Surge protector_RAV-801BXZ-4_with terminalsRoHS_M5
TERMINAL-BLOCK
1
19 N510009985AA
S
TM-212
SIGNAL-TOWER
1
20 N510012676AC LCE-302AFBW-RYG+B0910
SIGNAL-TOWER-POLE
1
21 N510068808AA SZ-80L-38+O0097
LED-LAMP-UNIT
1
22 MTNG000170AA B72100212-1F1(Red)
LED-LAMP-UNIT
1
23 MTNG000171AA B72100212-2F1(Yellow)
LED-LAMP-UNIT
1
24 MTNG000172AA B72100212-3F1(Green)
LED-LAMP-UNIT
1
25 MTNG000173AA B72100212-4F1(Blue)
LED-LAMP-UNIT
1
26 MTNG000174AA B72100212-7F1(White)
MOTOR-DRIVER
2
27 N510024098AA
S
MR-J3-70B-EE052
MOTOR-DRIVER
1
28 N510024097AA
S
MR-J3-40B-EE052
TERMINAL-COVER
1
29 N510035139AA
S
TCS-05SRU3
E2
--
( KN610043861AA-15 )