CX-1_维修调整 - 第143页
Rev 2.2 维修调整要领书 危险 为了防止突然的起动造成的事故,请关掉电源之后再进行操作。 13 其它机器 13 -1 . CRT( 视觉监视器 ) 的更换 1) 卸下监视器用电源电缆的插头,卸下视觉监视 器。 2) 卸下监视器头部后侧的图像监视器电缆。 3) 放下台座的把手,把头部下侧向机器前方滑动, 抬起头部进行更换 。 4) 安装时,形按照相反的程序进行操作 。 图 13-1-2 图 13-1-1 13-1

Rev 2.2
维修调整要领书
12-10
②机器外侧供料器跳起传感器的调整程序
1)把投光侧的旋钮向 min 侧(左侧)转动,遮挡传感器。
2)把旋钮慢慢向 max 侧(右侧)转动,调整到受光侧的红灯,绿灯均亮灯的位置。
3)把散件供料器设置到供料器的左、中、右,确认传感器是否OFF。
※传感器ON(绿灯不正常亮灯)时,转动旋钮,让绿灯亮灯。
4)把NF32供料器设置到与 3)同样的位置,用手打开顶盖10mm以内,确认传感器应OFF。
喘返箕軟
NF32工創匂
※ 3)的时候,如果旋钮转的过度,NF32的护罩打开后传感器也不反应。
5)把NF16供料器设置到与 3)同样的位置,用手打开顶盖10mm以内,确认传感器应OFF。
競固
王庫
FN16工創匂
※传感器不OFF时,请前后移动传感器的安装位置,重新从 1)调整光轴。

Rev 2.2
维修调整要领书
危险
为了防止突然的起动造成的事故,请关掉电源之后再进行操作。
13
其它机器
13-1 .CRT(视觉监视器)的更换
1) 卸下监视器用电源电缆的插头,卸下视觉监视
器。
2) 卸下监视器头部后侧的图像监视器电缆。
3) 放下台座的把手,把头部下侧向机器前方滑动,
抬起头部进行更换。
4) 安装时,形按照相反的程序进行操作。
图13-1-2
图13-1-1
13-1

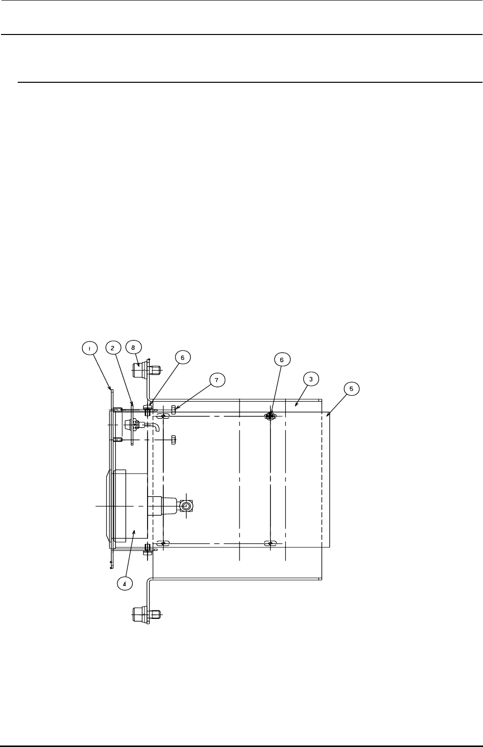
Rev 2.2
维修调整要领书
13-2 .FDD的更换
1) 卸下⑧的螺丝,从底座卸下FDD支架。
2) 从FDD卸下FDD连接电缆插头。
3) 卸下FDD下侧⑥的 4 个螺丝,从FDD支架卸下FDD。
4) 卸下FDD两侧面⑥的 2 个螺丝,从FDD卸下FDD面板。
5) 安装时,请按照相反的程序进行安装。
① FDD面板 1个
② HDD存取灯 1个
③ FDD支架 1个
④ 空气压缩机表 1个
⑤ FDD 1个
⑥ 螺丝Cap(M3×8) 6个
⑦ 螺母(M3) 2个
⑧ 螺丝Cap(M6×12) 2个
图13-2-1
13-2