CX-1_维修调整 - 第55页
Rev 2.2 维修调整要领书 2- 3 . Z传感器的更换 更换了Z传感器后,进行原点复位确认动作是否正常。 原点复位 后 ,需要重新输入有关Z轴的MS参数。(输入项目请参照2-9项。) 2- 3 -1 . MNLA贴装头 1) 按照2-1-2项的1)2)4)7)卸下 周边零件。 2) 卸下Z传感器座的安装螺丝 ⑪(2个),从 下侧下下Z传感器座。 3) 剪断束线带,更换 Z 传感器。 4) 安装时按照相反的顺序进行。 5) 按照以下…

Rev 2.2
维修调整要领书
<程序>
①
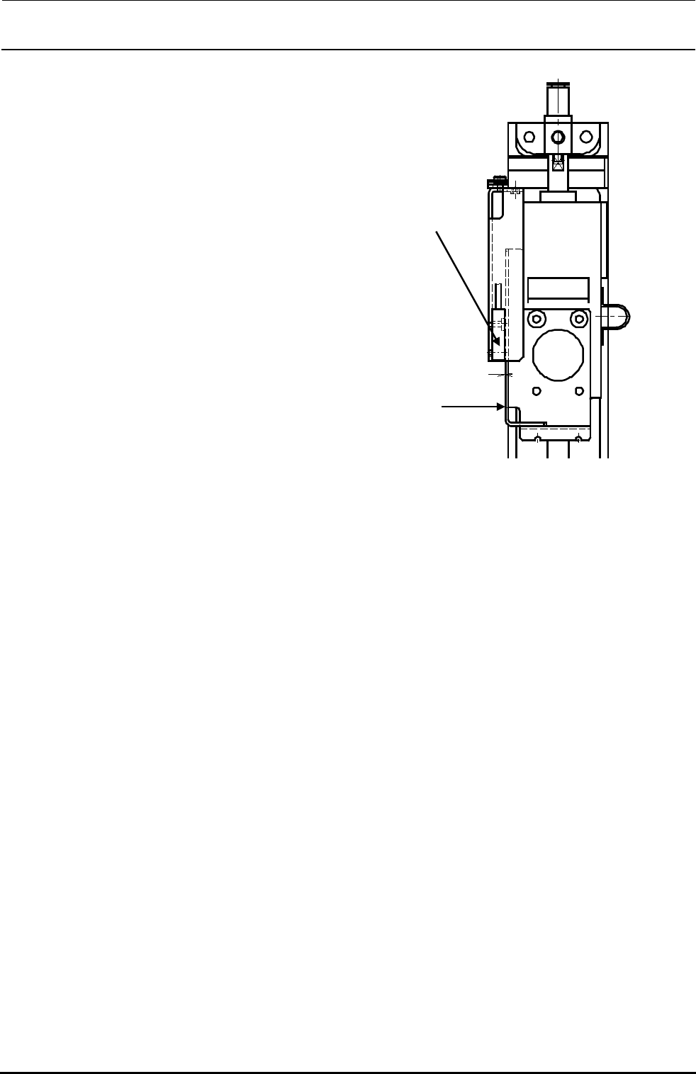
测定Z传感器和Z传感器配件IC
⑪
的
间隙。 上下移动Z传感器配件,确认上
下的间隙均为0.9±0.2mm的范围。
(A尺寸)
② 如果在规格外时,请拧松Z传感器座的安
装螺丝,调整Z传感器的位置。另外,上
下移动IC θ马达,间隙量变化时,请
拧松Z传感器配件的方向,进行调整。
③ 在不装ICZ电动机和贴装头上升SP
IC的状态下用弹簧秤检查,是否是以
0.75 kg滑动。
※用手关闭半总成之后,用扳手转动 1/6 圈。
※在ICθ马达安装螺丝 ⑪(4个)上Nm 拧紧固定。此时,
请让马达基准面和后导向器基准面没有间隙。
※在球螺丝的安装螺丝 ⑪(4 个)上涂上锁定漆242后,用转矩3.7 Nm 拧紧固定。
※请按照2-1-2项进行贴装头的安装。
然后,请进行贴装头心距调整。
Z传感器配件
A
Z传感器
2-13

Rev 2.2
维修调整要领书
2- 3.Z传感器的更换
更换了Z传感器后,进行原点复位确认动作是否正常。
原点复位后,需要重新输入有关Z轴的MS参数。(输入项目请参照2-9项。)
2- 3-1.MNLA贴装头
1) 按照2-1-2项的1)2)4)7)卸下
周边零件。
2) 卸下Z传感器座的安装螺丝 ⑪(2个),从
下侧下下Z传感器座。
3) 剪断束线带,更换 Z 传感器。
4) 安装时按照相反的顺序进行。
5) 按照以下的程序进行确认和调整。
<程序>
① 测定Z传感器和Z传感器配件的间隙。(图
A尺寸)
上下移动Z传感器配
件,确认上下均在0.9±0.2mm的范围中。
② 如果在规格外时,Z请拧送传感器座的安装螺丝,调整
Z传感器的位置。
※ 安装Z皮带侧盖 L,R 时,请靠近 MNLA 贴装头托架的B面、C面。
并注意不要从D面突出。
⑱
图2-3-1
图2-3-2
Z皮带侧盖 L、R
Z传感器座
Z皮带侧盖 R
Z皮带侧盖 L
MNLA 贴装头托架
C面
D面
B面
2-14

Rev 2.2
维修调整要领书
2- 3-2.FMLA 贴装头
1) 按照2-1-2项的1)2)4)7)卸下周边的零件。
2) 卸下Z传感器座 IC
的安装螺丝 ⑪
(2个),从下
IC
。
3) 剪断束线带,更换 Z 传感器。
图2-3-4 图2-3-5 图2-3-6
4) 安装时请按照相反的顺序进行。
5) 请按照以下的程序进行确认和调整。
<程序>
① 测定Z传感器和Z传感器配件IC的间
隙。 上下移动Z传感器配件,确认上下
均在0.9±0.2mm的范围中。(A
尺寸)
② 如果在规格外时,请拧松Z传感器座的安
装螺丝,调整Z传感器的位置。另 外 ,上
下移动IC θ马达,如果间隙量变化时,
请拧松安装螺丝调整 Z 传感器配件的方
向。
Z传感配件IC
A
Z传感器
⑲
2-15