Placement head C - 第9页
Placement head C&P20A Page 9 / 19 23.11.2021

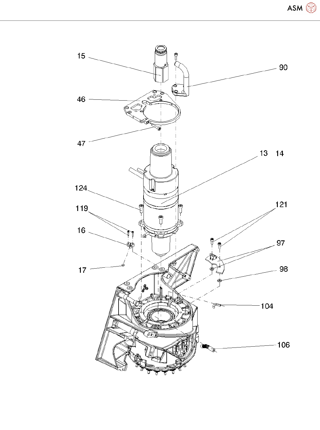
Placement head C&P20A
Page 8 / 19 23.11.2021

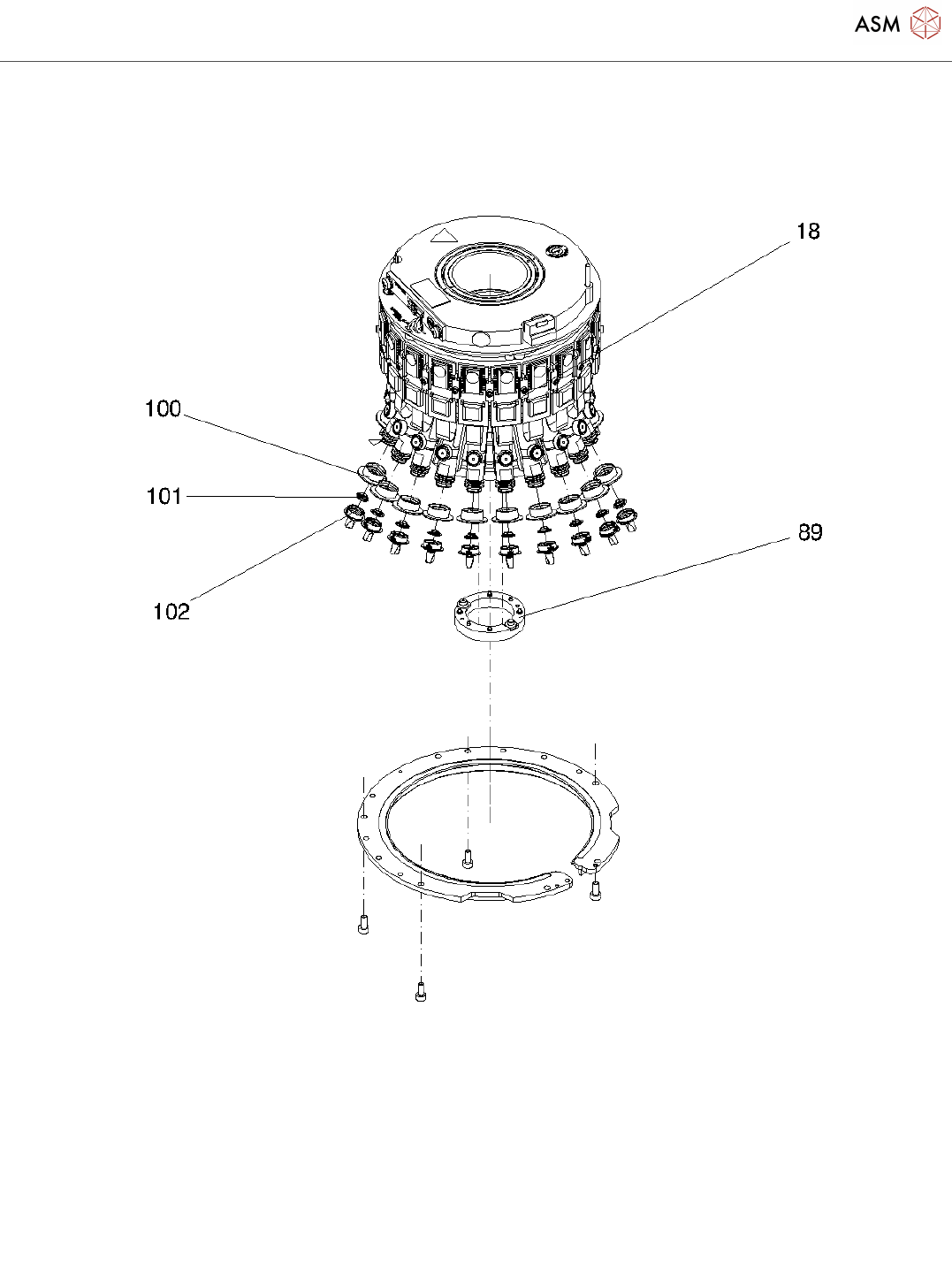
Placement head C&P20A
Page 9 / 19 23.11.2021

Placement head C&P20A
Page 10 / 19 23.11.2021
Placement head C&P20A Page 9 / 19 23.11.2021


