NXT 系统手册 QD027-17 - 第202页
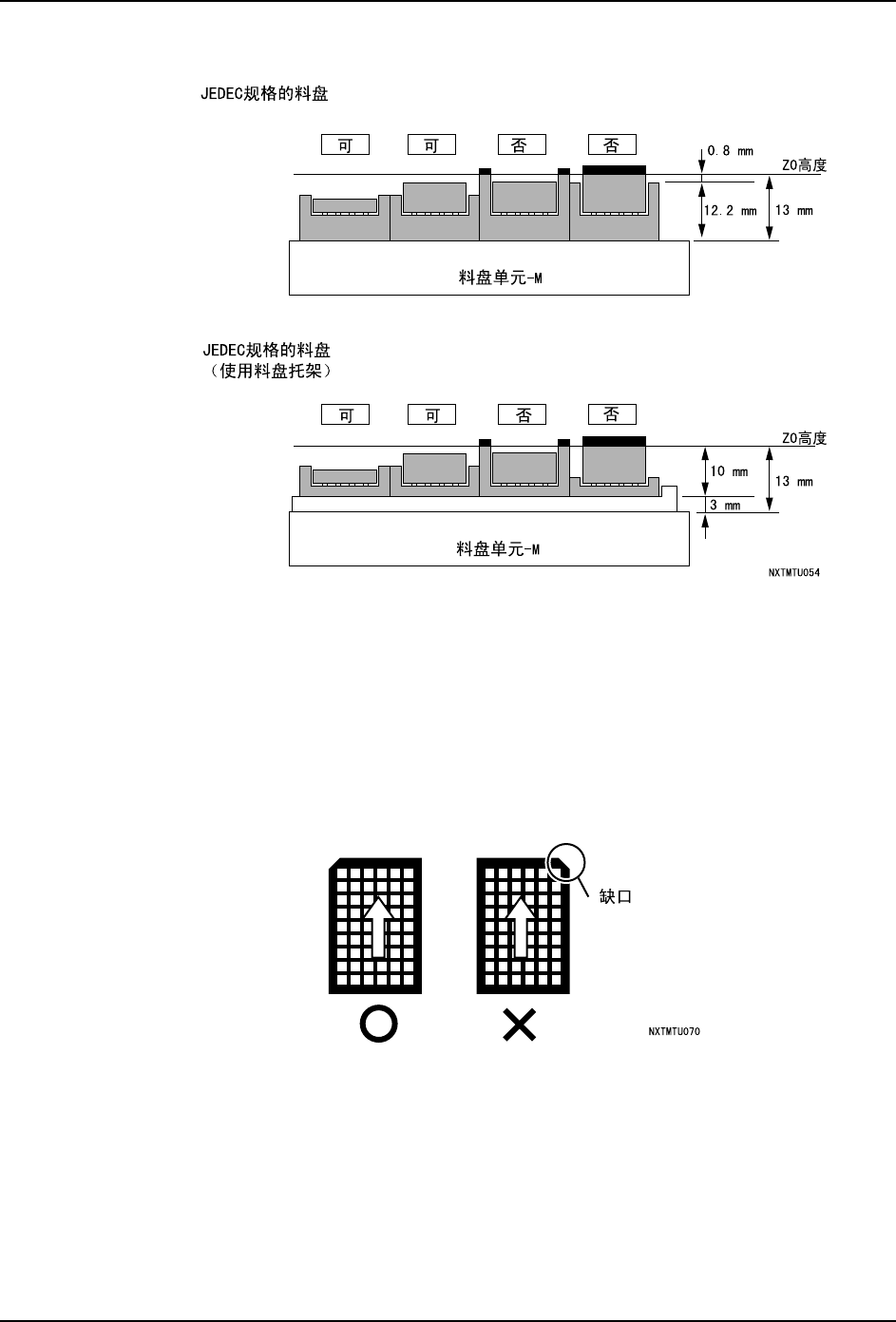
5. 换线 QD027-17 186 NXT 系统手册 料盘高度和搭载条件 5.6.7 料盘插入时的注意事项 · 料盘具有方向性。将料盘插入料盘单元 -M 时,请注意方向。 · 开闭料盘单元 -M 的正门时, 请不要有冲击小心进行。 有可能发生元件偏移或元件 从料盘上飞出。 从安全上考虑,这些门实施了自动锁定而有可能不能打 开,此时 请不要硬开。 · 请不要使用右前方有缺口的料盘。

QD027-17 5. 换线
NXT 系统手册 185
5.6.6 料盘单元 -M 中可以使用的料站尺寸
料盘方向和搭载条件
–
–
–

5. 换线 QD027-17
186 NXT 系统手册
料盘高度和搭载条件
5.6.7 料盘插入时的注意事项
·料盘具有方向性。将料盘插入料盘单元 -M 时,请注意方向。
·开闭料盘单元 -M 的正门时,请不要有冲击小心进行。有可能发生元件偏移或元件
从料盘上飞出。从安全上考虑,这些门实施了自动锁定而有可能不能打开,此时
请不要硬开。
·请不要使用右前方有缺口的料盘。

QD027-17 5. 换线
NXT 系统手册 187
5.7 支撑板的更换
5.7.1 更换支撑板的向导画面
备注 ) 从单搬运轨道切换到双通道生产时 ( 或者相反 ),或者变更搬运轨道宽度时,有时需要进行支
撑销的更换。搬运轨道宽度自动地调节到与下一道生产的电路板宽度相吻合。
在 M6S 模组中进行支撑板的更换时,请在线性马达的轴的温度降到常温后,安装保护罩。
注意
在 M6S 模组的线性马达附近使用工具时,请注意由磁铁引起的吸引作用。
请不要使磁卡、手表、精密仪器等靠近 M6S 模组的线性马达附近。有可能
受磁力影响出现故障。