NXT 系统手册 QD027-17 - 第208页
5. 换线 QD027-17 192 NXT 系统手册 5.7.4 支撑架的更换步骤 以下情况时,由于支撑架的尺寸 不符,因此需要更换。 a. 从双通道生产变更到单通道生产的时候。 b. 从单通道生产变更到双通道生产的时候。 c. 在各通道中按不同宽度进行双通道生产的 时候。 1. 将操作画面切换到手动模式,卸下安装在 机器上的支撑架。详细请参照 " 6.6.4 支撑板 的更换 "。 2. 对照要新安装的支撑架,变更…

QD027-17 5. 换线
NXT 系统手册 191
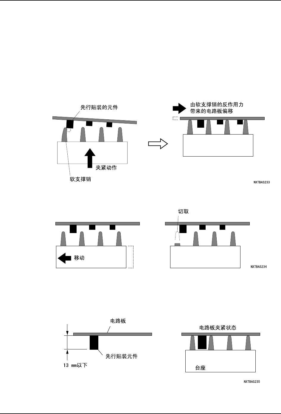
5.7.3 软支撑销使用时的注意点
在支撑板上安装软支撑销时,请注意以下的 2 点。
a. 电路板的位置偏移
b. 先行贴装元件的高度限制
电路板的位置偏移
当电路板上先行贴装的元件比较高时,有可能与上升的支撑销发生干涉,造成由该反作用力
带来的电路板的位置偏移。
当电路板的位置偏移时,请改变软支撑销的位置,或者切取干涉销等使得不碰到先行贴装的
元件。
先行贴装元件的高度限制
在电路板的反面能够先行贴装的元件的高度为 13mm 以下。超过这个高度的元件比软支撑销
还要高,由于与销底部的台座发生干涉而无法进行电路板夹紧。

5. 换线 QD027-17
192 NXT 系统手册
5.7.4 支撑架的更换步骤
以下情况时,由于支撑架的尺寸不符,因此需要更换。
a. 从双通道生产变更到单通道生产的时候。
b. 从单通道生产变更到双通道生产的时候。
c. 在各通道中按不同宽度进行双通道生产的时候。
1. 将操作画面切换到手动模式,卸下安装在机器上的支撑架。详细请参照 " 6.6.4 支撑板
的更换 "。
2. 对照要新安装的支撑架,变更附加软件的机器功能设定。详细请参照 " 4.10.23 不同宽
度的电路板的双通道生产 (NXT V3.70 以后) "。还有,如果要指定通道 1 与通道 2 间
的间距时,请参照 " 4.10.24 对应搬运轨道通道间的间距设定 (NXT V3.70 以后) "。
3. 从 Fuji Flexa 向机器传输 Job。
4. 安装新使用的支撑架。详细请参照 [6.6.4 支撑板更换 ]。
5. 按下操作面板的 START。
6. 在操作画面上显示支撑板的更换向导。请根据向导安装支撑板。
7. 作业异常结束。当按下操作面板的 START 按钮后,机器就会自动进行搬运轨道的宽度切
换。

QD027-17 5. 换线
NXT 系统手册 193
5.8 吸嘴的更换
5.8.1 更换吸嘴的向导画面
备注 ) 在吸嘴置放台中不存在生产中所需要的吸嘴时,在向导画面上显示那些吸嘴种类的画面。请向
吸嘴置放台补充需要的吸嘴。
1
1
1
1
30