80S-20用户手册 - 第512页
11 Station extensions /Hardware SIPLACE 80S-20 /F4 User Manual 11.9 Flux dispenser unit Software version S R.407.xx 01/2001 US Edition 512 Å Push the flux d ispenser against th e side stop, and ti ghten the fi xing sc re…

SIPLACE 80S-20/F4 User Manual 11 Station extensions /Hardware
Software version SR.407.xx 01/2001 US Edition 11.9 Flux dispenser unit
511
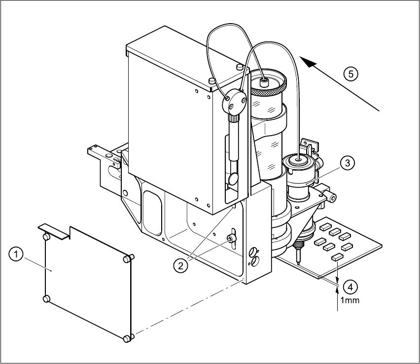
11.9.6.1 Setting the distance between the dispensing needle and the PCB
11
Fig. 11.9 - 5 Setting the distance between the dispensing needle and the PCB
11
Å Loosen the 4 fixing screws for the rear panel of the flux dispenser, and remove the panel.
Å Loosen the two fixing screws in the slots.
Å Press down on the lifting piston, and adjust the flux dispenser so that the distance between the
tip of the dispensing needle and the PCB is 1 mm.
(1) Rear panel with four fixing screws
(2) Two fixing screws for the flux dispenser
(3) Lifting piston
(4) Set a distance of 1 mm with respect to the PCB
(5) Press the flux dispenser right down against the stop

11 Station extensions /Hardware SIPLACE 80S-20/F4 User Manual
11.9 Flux dispenser unit Software version SR.407.xx 01/2001 US Edition
512
Å Push the flux dispenser against the side stop, and tighten the fixing screws.
Å Attach the rear panel.
11.9.7 User interface
PLEASE NOTE
Before the flip-chip component can be placed and the flux can be applied, a placement program
with flip-chip component must be created on the line computer and sent to the station computers
(see the UNIX user manual).
The Fluxing option must have been activated in the machine options on the station computer.
See Section 3.3.2.3 "Options" menu of the user manual. 11
11.9.7.1 Package form list and parameters
Before the flux can be applied to a PCB for placing flip-chips, process data about the flip-chip must
be entered in a list, and general parameters about the flux dispenser must be entered on the sta-
tion computer. 11
Å Select the Fluxing submenu from the Options menu in the menu bar.
Fig. 11.9 - 6 Fluxing option

SIPLACE 80S-20/F4 User Manual 11 Station extensions /Hardware
Software version SR.407.xx 01/2001 US Edition 11.9 Flux dispenser unit
513
11.9.7.2 Editing the package form list
Å Select the “Package form list” menu in order to edit the data for the flip-chip component to be
placed.
Å You can use this menu to add and edit flip-chip components together with their GF no. See Fig.
11.9 - 7
and 11.9 - 8.
Fig. 11.9 - 7 Fluxing package form list
(1) ‘Add’ button
(2) Input boxes
11
Å Click on the Add button in order to describe a new component for fluxing, and enter the data
in the input boxes.
Å Enter the following data:
GF no: 11
– The package form number of the component
– Package form numbers from 1 to 32000 can be used.
211 111