文档中心
/
Trailing cable 2_4_20211124_042128
Trailing cable 2_4_20211124_042128
Trailing cable 2/4 Page 1 / 5 24.11.2021
目录
100%
显示:宽度
宽度
1 / 5
回到旧版
旧版
?
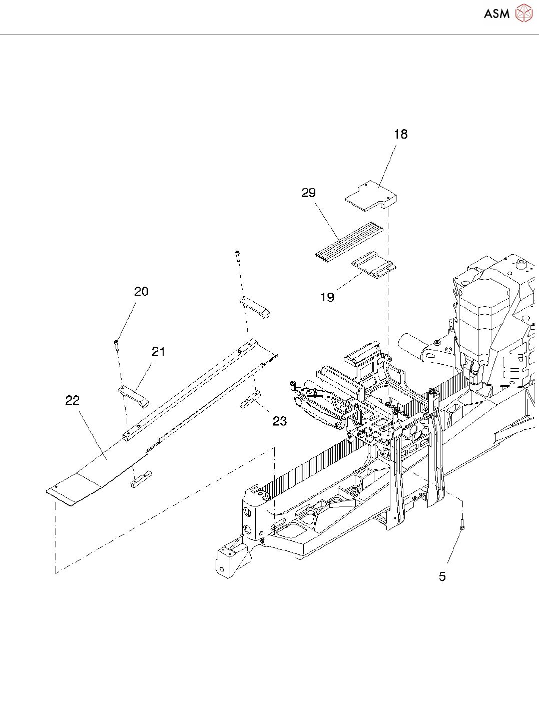
Trailing cable 2/4
Page 1 / 5
24.11.2021
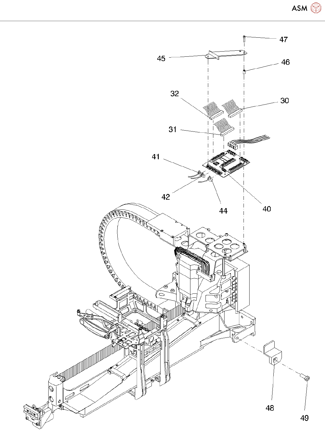
Trailing cable 2/4
Page 2 / 5
24.11.2021
Trailing cable 2/4
Page 3 / 5
24.11.2021
该页面需要启用 JavaScript 才能进行交互式预览。