JUKI_KE-2070-2080_MAINTE_CH - 第325页
维修调整要领书 19 -6 ( 3 ) 请拆下连接于 MPC 、 SWIT CHING HUB 的电缆,如下图所示拆下托架。 40073033 SWITCHING HUB 40073032 MPC

维修调整要领书
19-5
(2) 卸下 HUB BOX 的护罩,可看到 MPC 和 SWITCHING HUB 如下图所示组装在内。
40073032 MPC
40073033 SWITCHING HUB

维修调整要领书
19-6
(3) 请拆下连接于 MPC、SWITCHING HUB 的电缆,如下图所示拆下托架。
40073033 SWITCHING HUB
40073032 MPC

维修调整要领书
19-7
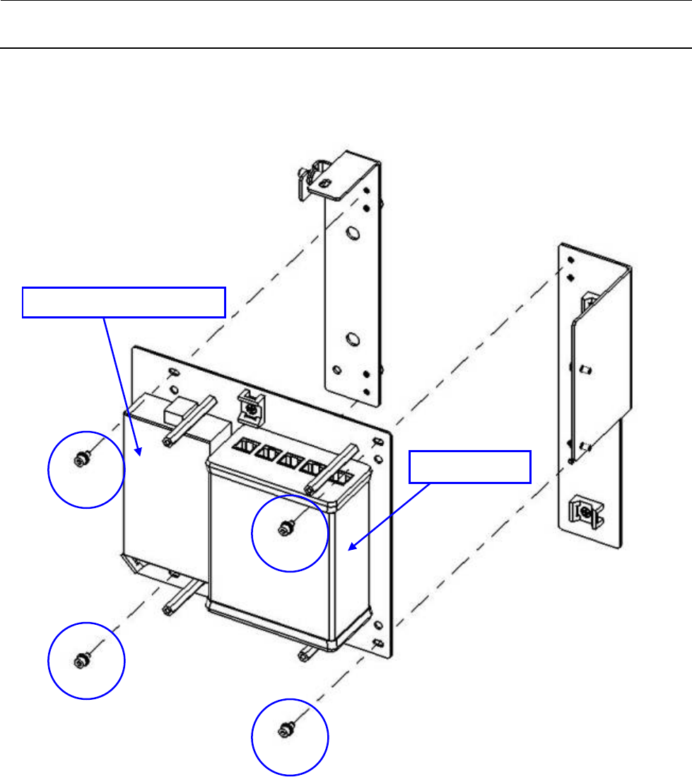
(4) 拆下托架后,请松开 MPC、SWITCHING HUB 的固定螺丝,按下图所示卸下。
40073032 MPC
40073033
SWITCHING HUB