00191368-01 - 第349页
Betriebsanleitung SIPLACE HS-50 7 W as ist zu tun .... Softwareversion SR.501.xx Ausgabe 01/99 7.8 Was Sie beachten sollten, um Spurfehler z u vermeiden 347 EHLP PP6*XUW]XIKUPRGXO Å Öffnen Si e nie die Abd…

7 Was ist zu tun .... Betriebsanleitung SIPLACE HS-50
7.8 Was Sie beachten sollten, um Spurfehler zu vermeiden Softwareversion SR.501.xx Ausgabe 01/99
346
:DV6LHEHDFKWHQVROOWHQXP6SXUIHKOHU]X
YHUPHLGHQ
$OOJHPHLQ
Å Achten Sie darauf, daß die Zuführmodulbereiche sauber sind und sich keine losen Bauele-
mente im Förderbereich bzw. unter den Zuführmodulen befinden.
Å Sorgen Sie dafür, daß die Stellflächen der Zuführmodule und insbesondere die Magnetlei-
ste der BE-Tische sauber und eben sind.
Å Füllen Sie Bauelemente rechtzeitig nach.
Å Spleißen Sie die Gurte rechtzeitig. In der Regel bedeutet dies, daß Sie das Anspleißmate-
rial vorbereiten, wenn noch ca. 1,5 m Gurt auf der Rolle sind.
Å Gehen Sie vorsichtig mit den Zuführmodulen um, wenn Sie diese auf den BE-Tisch einset-
zen oder von dort entfernen, da es sich um Präzisionsgeräte handelt.
Å Achten Sie beim Einsetzen der Zuführmodule darauf, daß Sie nicht versehentlich die Pro-
grammtasten betätigen. Dadurch könnte sich beispielsweise bei 8mm S-Zuführmodulen der
Takt von
4 mm auf 2 mm verstellen.
Å Schließen Sie die Klappen an den Zuführmodulen, da diese im offenen Zustand leichter
beschädigt werden können.
Å Überprüfen Sie, ob bei den S-Zuführmodulen alle BE’s abhängig von ihrer Größe von der
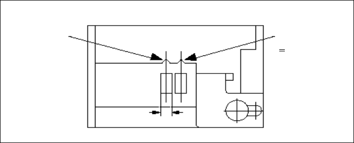
richtigen Position aus abgeholt werden (siehe nachfolgendes Beispiel).
Beispiel für 8mm S-Zuführmodule
Å Prüfen Sie, ob die Stecker der Zuführmodule an den richtigen Buchsen angeschlossen
sind.
Abholposition für
Abholposition für
> 3 mm
Bauelemente
<
3 mm
Bauelemente
Breite

Betriebsanleitung SIPLACE HS-50 7 Was ist zu tun ....
Softwareversion SR.501.xx Ausgabe 01/99 7.8 Was Sie beachten sollten, um Spurfehler zu vermeiden
347
EHLPPP6*XUW]XIKUPRGXO
Å Öffnen Sie nie die Abdeckklappe, ohne zuvor den Abdeckfolienabzug zu entlasten.
Å Stellen Sie die Abholposition und die Teilung des Gurts anhand der Kurzanleitung ein, die
jedem Gurtzuführmodul beigefügt ist.
Å Führen Sie das Gurtmaterial über die Feder in das Gurtzuführmodul ein.
EHLP*XUWFRQWDLQHU
Å Setzen Sie die Teilungsbleche richtig ein (siehe Abb. 7.5 - 2).
Å Versehen Sie große Gurtrollen mit Steckachsen.

7 Was ist zu tun .... Betriebsanleitung SIPLACE HS-50
7.8 Was Sie beachten sollten, um Spurfehler zu vermeiden Softwareversion SR.501.xx Ausgabe 01/99
348
%(.RRUGLQDWHQV\VWH PXQG$EKROZLQNHO
0°
90°
90°
SO-IC
DIL-IC
0°
SOT 194
90°
90°
SOT 23
Y
X
Stangen-
m agazin:
S p e z ia l-
Bauelem ent
Chip-
Bauelem ente
gepolt
0402
2220
G ehäuse-
ty p
0°-B eschreibungslage Lage in der Zuführung
Abholw inkel/
Pipettenw inkel
Gurt:
Gurt:
Stangen-
m agazin:
Gurt:
Gurt:
Y
X
Y
X
Löcher
Y
X
Y
X
D ie A node m uß zur
positiven X -A chse
ausgerichtet sein.