QEJM1A-E-MPA-34 - 第55页
Ref No. Remarks R 1 Q'ty 4 X 軸接続 ユ ニ ット X-Axis Connection Unit イラスト No. Part No. 品 名 品番 数量 R 2 パー ツ リ スト Kit No. キ ット 品番 Kit Name キ ット 名称 KXFX04H2A00 Part Name 備 考 セクション No . PARTS LIST Section No. R 3 STOPPER 2 1 K…

4
X
軸接続
ユニット
X-Axis Connection Unit
パーツレイアウト
Kit No.
キット
品番
Kit Name
キット
名称
KXFX04H2A00
セクション
No
.
PARTS LAYOUT
Section No.
-
-
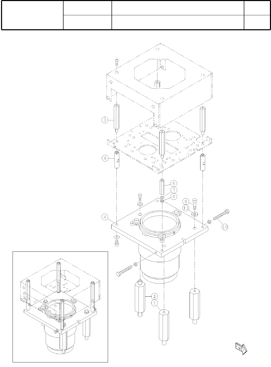
M33
( KKXFX04H2A00-03 )

Ref
No.
Remarks
R
1
Q'ty
4
X
軸接続
ユニット
X-Axis Connection Unit
イラスト
No.
Part No.
品 名品番 数量
R
2
パーツリスト
Kit No.
キット
品番
Kit Name
キット名称
KXFX04H2A00
Part Name
備 考
セクション
No
.
PARTS LIST
Section No.
R
3
STOPPER
2
1 KXFB02PLA01
SHEET
2
2 N210068082AA
BRACKET
2
3 KXFB02RQA00
BRACKET
2
4 N210079208AA
DOG
1
5 KXFB02Q0A00
PLATE
1
6 KXFB02Q1A00
PH-SENSOR
3
7 KXF0DL6AA01 PM-L53B-C1(DA KXF0DL6AA01)
CABLE-BEAR
2
8 KXF0CWPAA00 25.4-055BB-15-24B(DDA)
S-PIN
2
9 KXF0CSFAA00 Corrugated spring pin D8X16L
URETHANE
2
10 KXF0CSMAA00 AN25-40
BOLT
2
11 N510017195AA
Hexagon socket head cap screw M12X50-10.9 A2J (Trivalent)
BOLT
8
12 N510017557AA
Hexagon socket button head screw M6X16-10.9 A2J (Trivalent)
WASHER
4
13 N510024069AA MMSRB8-0.5
M34
-
-
( KKXFX04H2A00-03 )

5
ラインカメラ
Line Camera
パーツレイアウト
Kit No.
キット
品番
Kit Name
キット
名称
KXFX036BA00
セクション
No
.
PARTS LAYOUT
Section No.
-
-
M35
( KKXFX036BA00-05 )