文档中心
/
Machine frame_20211124_073411
Machine frame_20211124_073411 - 第7页
Machine frame Page 7 / 24 24.11.2021
目录
100%
显示:宽度
宽度
1 / 24
回到旧版
旧版
?
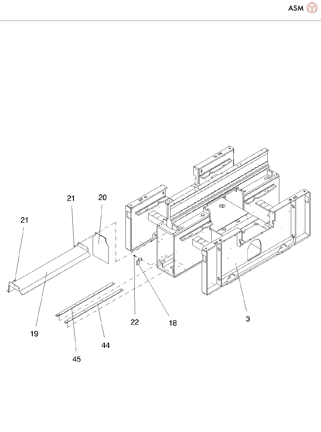
Machine frame
Page 6 / 24
24.11.2021
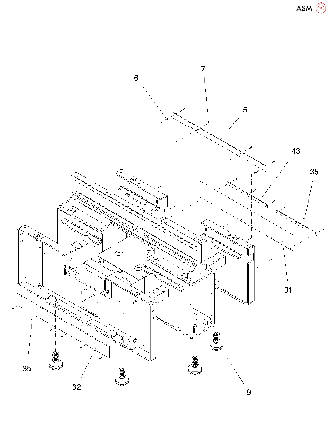
Machine frame
Page 7 / 24
24.11.2021
Machine frame
Page 8 / 24
24.11.2021
该页面需要启用 JavaScript 才能进行交互式预览。