P-208-001 - 第205页
MODEL TCM-X300 021 1-002 Key No. P AR T No. P AR T NAME Q’ ty REMARKS NOTE 203 MA-3 22 0 630 1 12 1864 HI NG E 4 784MA-010-220 22 1 630 1 1 1 9687 PL A T E 8 784MA-010-221 2 22 4 1 1 0 50 600 1 SCR TRS 3X8 1 6 784MA-010-…

MODEL TCM-X300
0211-002
202
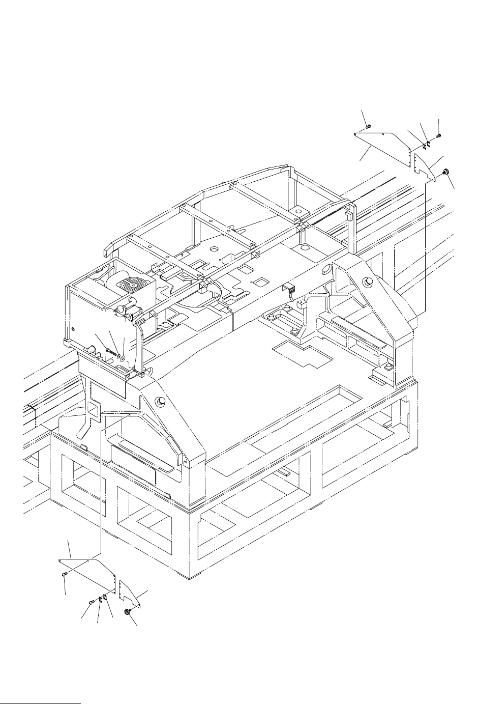
ࠞࡃㇱ COVER SECTION
Fig. MA-3 ⼔ࠞࡃ Protection Cover
Fig.MA-3
226
221
220
225
222
223
224
239
245
246
224
225
223
226
221
220
222
4797L-002
TCM-X300-002

MODEL TCM-X300
0211-002
Key No. PART No. PART NAME Q’ty REMARKS
NOTE
203
MA-3
220 630 112 1864 HINGE 4 784MA-010-220
221 630 111 9687 PLATE 8 784MA-010-221
222 411 050 6001 SCR TRS 3X8 16 784MA-010-222
223 630 111 9090 COVER 2 784MA-010-223
224 630 111 9083 COVER 2 784MA-010-224
225 411 113 9109 SCR TRS 5X10 6 784MA-010-225
226 630 117 7649 HANDLE 2 784MA-010-226
239 630 000 8050 BOLT,HEX-SCT 1 784MA-010-239
245 411 141 3100 WASHER SPR 8 1 784MA-010-245
246 630 001 0244 WASHER 1 784MA-010-246

MODEL TCM-X300
0211-002
204
ࠞࡃㇱ COVER SECTION
Fig. MA-4 ㇱࠞࡃ Upper Cover
Fig.MA-4
345
335
346
345
335
346
344
338
343
320
319
320
321
344
344
343
338
320
319
320
344
343
338
338
320
319
320
343
344
347
345
334
344
321
343
338
338
320
346
345
335
320
325
336
322
315
341
341
336
322
315
341
305
328
328
349
327
303
327
341
302
341
304
348
333
349
348
333
341
341
341
324
341
341
306
319
343
344
344
343
338
342
343
344
344
343
342
343
344
344
343
342
343
344
323
344
343
342
343
344
343
342
343
344
340
A
DETAIL "A"
4797L-002
TCM-X300-002