P-208-001 - 第84页
MODEL TCM-X300 0203-001 82 L ࠦࡦࡌࠕㇱ L CONVEYOR SECTION Fig. G-3 ࠦࡦࡌࠕ㚟േ࿁〝 L Conveyor Driver Circuit L 258 259 260 258 259 260 258 259 260 258 257 259 260 202 265 255 254 253 256 . 266 . 252 256 . 266 . 255 202 201 251 See …

MODEL TCM-X300
0211-002
Key No. PART No. PART NAME Q’ty REMARKS
NOTE
81
G-2
101 630 001 1548 BEARING,RADIAL 2 784G--010-101
102 630 097 1606 PLATE(OKU) 1 784G--010-102
103 630 106 7407 PLATE,LOCATE(L) 1 784G--010-103
104 630 097 1583 PLATE,LOCATE 1 784G--010-104
105 411 141 4107 WASHER V 5X10X1 8 784G--010-105
106 411 141 6705 WASHER SPR 5 8 784G--010-106
107 630 000 7763 BOLT,HEX-SCT 8 784G--010-107
108 411 141 4305 WASHER V 6X12.5X1.6 3 784G--010-108
109 411 141 3001 WASHER SPR 6 3 784G--010-109
110 630 000 7886 BOLT,HEX-SCT 7 784G--010-110
111 630 030 5913 COLLAR 2 784G--010-111
112 630 001 1531 BEARING,RADIAL 4 784G--010-112
113 630 084 1909 GUIDE,LINEAR 2 784G--010-113
114 411 000 7805 RING C 20 2 784G--010-114
115 630 000 8883 SET SCREW 2 784G--010-115
116 630 084 1916 BALL SCREW 2 784G--010-116
117 411 141 4008 WASHER V 4X9X0.8 20 784G--010-117
118 411 141 2905 WASHER SPR 4 20 784G--010-118
119 630 000 7657 BOLT,HEX-SCT 8 784G--010-119
121 630 097 1682 GUIDE(OKU) 1 784G--010-121
122 630 092 9997 PLATE 1 784G--010-122
123 630 000 7640 BOLT,HEX-SCT 12 784G--010-123
124 630 075 6159 PLATE 2 784G--010-124
125 630 000 7602 BOLT,HEX-SCT 2 784G--010-125
126 630 092 6224 PULLEY,FLAT 4 784G--010-126
127 630 089 7685 BELT,FLAT 1 784G--010-127
128 630 090 8008 BELT,FLAT 1 784G--010-128
129 630 077 4726 COLLAR 4 784G--010-129
130 630 097 1644 CHUTE(R OKU) 1 784G--010-130
131 630 077 4689 SPACER 2 784G--010-131
132 630 092 6231 PULLEY,FLAT 6 784G--010-132
133 630 097 1651 CHUTE(L OKU) 1 784G--010-133
134 630 000 7664 BOLT,HEX-SCT 6 784G--010-134
135 630 092 6217 PULLEY,FLAT 8 784G--010-135
137 630 008 5303 BEARING,UNIT 2 784G--010-137
138 411 141 4305 WASHER V 6X12.5X1.6 8 784G--010-138
139 411 141 3001 WASHER SPR 6 8 784G--010-139
140 630 000 7879 BOLT,HEX-SCT 4 784G--010-140
141 630 000 8920 SET SCREW 2 784G--010-141
142 630 053 5419 COLLAR 2 784G--010-142
143 630 001 1432 BEARING,RADIAL 2 784G--010-143
144 411 000 7300 RING C 12 2 784G--010-144
145 630 031 0566 BEARING,UNIT 2 784G--010-145
146 630 031 0573 NUT 2 784G--010-146
147 630 035 6618 MECH PARTS (SET COLLARS) 1 784G--010-147

MODEL TCM-X300
0203-001
82
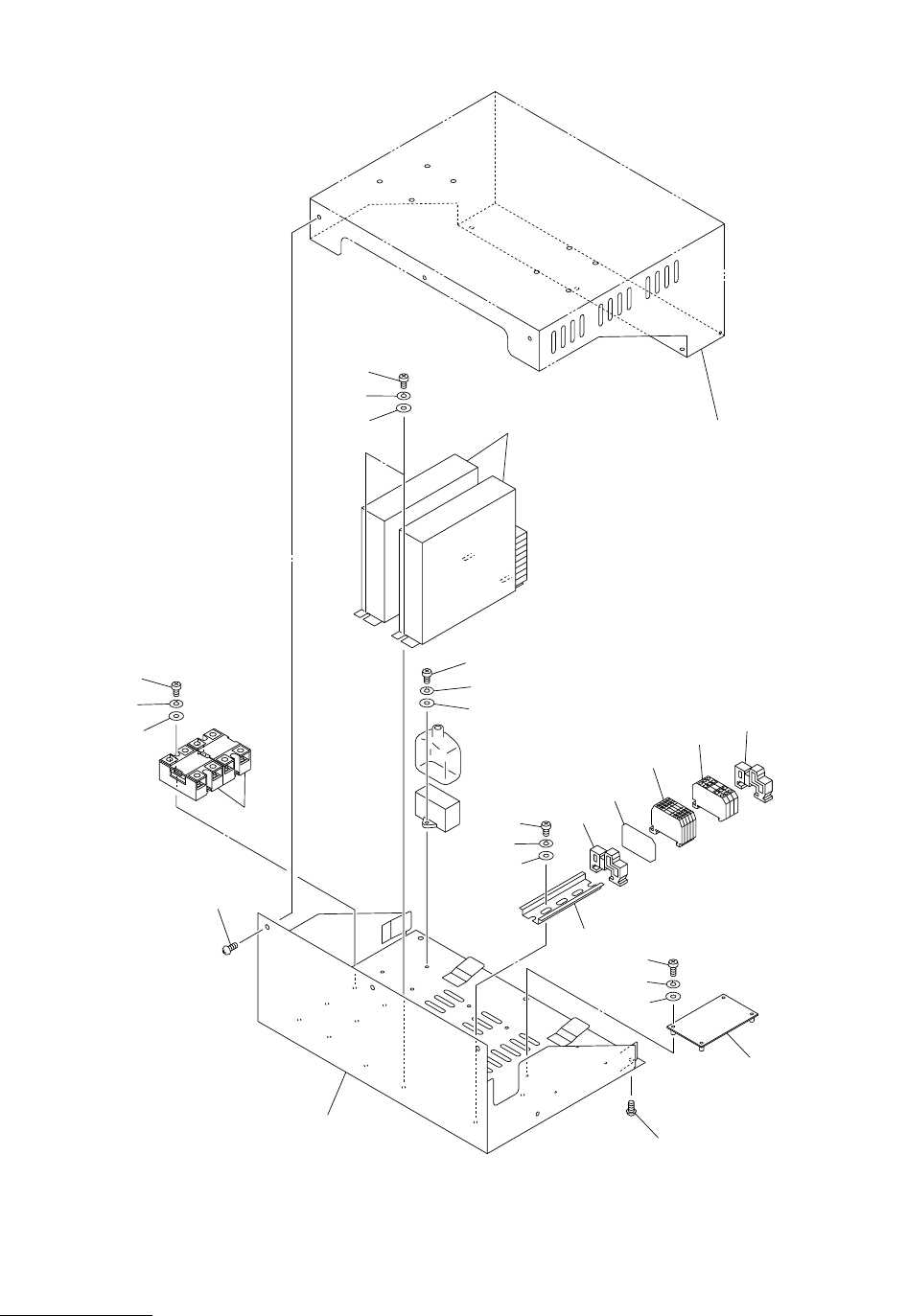
L ࠦࡦࡌࠕㇱ L CONVEYOR SECTION
Fig. G-3 ࠦࡦࡌࠕ㚟േ࿁〝 L Conveyor Driver Circuit L
258
259
260
258
259
260
258
259
260
258
257
259
260
202
265
255
254
253
256
.
266
.
252
256
.
266
.
255
202
201
251
See Fig.G-4
Key No.316
281
295
296
297
Fig.G-3
4797L
TCM-X300

MODEL TCM-X300
0203-001
Key No. PART No. PART NAME Q’ty REMARKS
NOTE
83
G-3
201 630 106 7414 BRACKET(TB) 1 784G--010-201
202 411 113 9109 SCR TRS 5X10 6 784G--010-202
251 630 049 1210 RELAY 2 KSSR1,KSSR2 784G--010-251
252 630 083 5458 TERMINAL 5 784G--010-252
253 630 083 5489 TERMINAL 3 784G--010-253
254 630 083 5502 ACCESSORY,WIRING 1 784G--010-254
255 630 049 3672 BRACKET,WIRING 2 784G--010-255
256 630 072 8408 ACCESSORY,WIRING 1 784G--010-256
257 630 108 4008 UNIT,DRIVER 2 APMD16(LCVW),APMD22(L2CV),
#AK-BX580-SAT3 784G--010-257
258 411 113 1400 SCR PAN 4X6 11 784G--010-258
259 411 008 1706 WASHER SPR 4 11 784G--010-259
260 411 119 2104 WASHER V 4X9X0.8 11 784G--010-260
265 630 089 6480 RAIL,WIRING 1 784G--010-265
266 630 058 8460 ACCESSORY,WIRING 2 784G--010-266
281 630 110 1361 P.C.B,MOUNT 1 UB01*001*0001 784G--010-281
295 411 040 6202 SCR PAN 3X10 4 784G--010-295
296 411 086 4408 WASHER SPR 3 4 784G--010-296
297 411 119 1909 WASHER V 3X7X0.5 4 784G--010-297