P-208-001 - 第86页
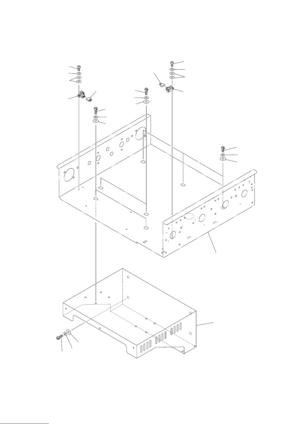
MODEL TCM-X300 0203-001 84 L ࠦࡦࡌࠕㇱ L CONVEYOR SECTION Fig. G-4 ࠦࡦࡌࠕࡦࠨ Conveyor Width Limit Sensor 306 305 304 313 31 1 310 313 314 31 1 310 302 306 305 304 312 316 317 319 318 31 1 310 302 303 See Fig.G-1 Key No.1 Fig.…

MODEL TCM-X300
0203-001
Key No. PART No. PART NAME Q’ty REMARKS
NOTE
83
G-3
201 630 106 7414 BRACKET(TB) 1 784G--010-201
202 411 113 9109 SCR TRS 5X10 6 784G--010-202
251 630 049 1210 RELAY 2 KSSR1,KSSR2 784G--010-251
252 630 083 5458 TERMINAL 5 784G--010-252
253 630 083 5489 TERMINAL 3 784G--010-253
254 630 083 5502 ACCESSORY,WIRING 1 784G--010-254
255 630 049 3672 BRACKET,WIRING 2 784G--010-255
256 630 072 8408 ACCESSORY,WIRING 1 784G--010-256
257 630 108 4008 UNIT,DRIVER 2 APMD16(LCVW),APMD22(L2CV),
#AK-BX580-SAT3 784G--010-257
258 411 113 1400 SCR PAN 4X6 11 784G--010-258
259 411 008 1706 WASHER SPR 4 11 784G--010-259
260 411 119 2104 WASHER V 4X9X0.8 11 784G--010-260
265 630 089 6480 RAIL,WIRING 1 784G--010-265
266 630 058 8460 ACCESSORY,WIRING 2 784G--010-266
281 630 110 1361 P.C.B,MOUNT 1 UB01*001*0001 784G--010-281
295 411 040 6202 SCR PAN 3X10 4 784G--010-295
296 411 086 4408 WASHER SPR 3 4 784G--010-296
297 411 119 1909 WASHER V 3X7X0.5 4 784G--010-297

MODEL TCM-X300
0203-001
84
L ࠦࡦࡌࠕㇱ L CONVEYOR SECTION
Fig. G-4 ࠦࡦࡌࠕࡦࠨ Conveyor Width Limit Sensor
306
305
304
313
311
310
313
314
311
310
302
306
305
304
312
316
317
319
318
311
310
302
303
See Fig.G-1
Key No.1
Fig.G-4
4797L
TCM-X300

MODEL TCM-X300
0203-001
Key No. PART No. PART NAME Q’ty REMARKS
NOTE
85
G-4
302 630 000 0252 SENSOR,PHOTO 2 BPH77,BPH78 784G--010-302
303 630 000 0269 SENSOR,PHOTO(CONNECTOR) 1 784G--010-303
304 411 088 9005 WASHER F 3X6X0.5 8 784G--010-304
305 411 086 4408 WASHER SPR 3 4 784G--010-305
306 411 040 7803 SCR PAN 3X12 4 784G--010-306
310 630 001 0237 WASHER 7 784G--010-310
311 411 141 3001 WASHER SPR 6 7 784G--010-311
312 630 000 7886 BOLT,HEX-SCT 3 784G--010-312
313 630 000 7893 BOLT,HEX-SCT 4 784G--010-313
314 630 000 0269 SENSOR,PHOTO(CONNECTOR) 1 784G--010-314
316 630 106 7421 BRACKET(TB) 1 784G--010-316
317 630 001 0220 WASHER 4 784G--010-317
318 630 000 7770 BOLT,HEX-SCT 4 784G--010-318
319 411 141 6705 WASHER SPR 5 4 784G--010-319