ZHX-R20B(-IN) 立式离线(在线)高速插件机说明书 - 第51页
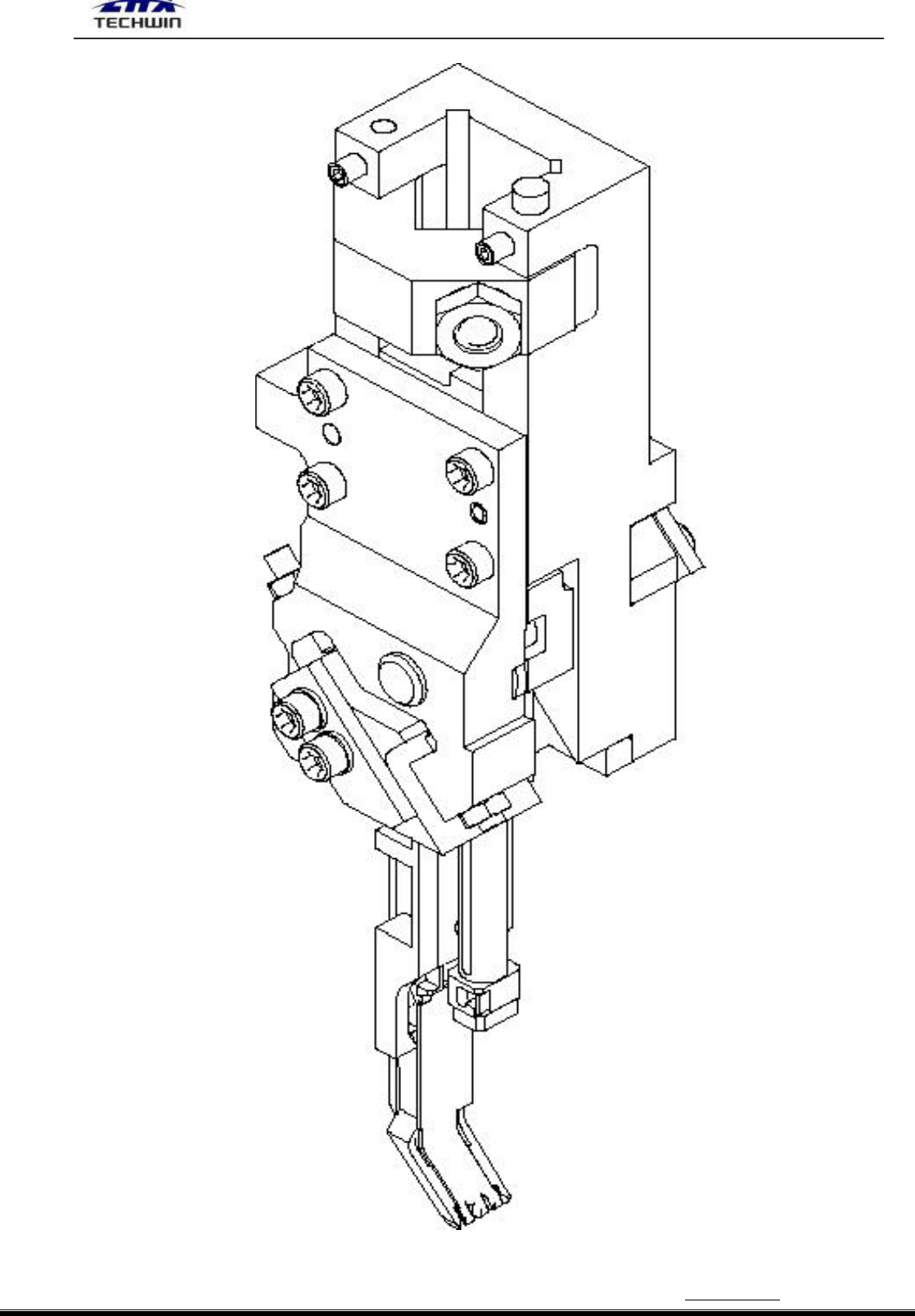
ZHX-R20B /-IN 自 动 下板 立式 插件 机操 作说 明书 - 48 - 深圳市中 禾旭精密机械 有限公司 - 48 - www.zkdi p.com 7 1 2 3 4 5 8 9 10 41 11 40 39 38 12 13 14 37 22 16 14 21 36 35 14 8 34 23 8 33 20 19 18 17 16 15 32 24 25 26 31 30 29 28 27 6 立式插件头零件明细 项…

ZHX-R20B/-IN 自动下板立式插件机操作说明书-
48
-
深圳市中禾旭精密机械有限公司
-
48
-
www.zkdip.com
7
1
2
3
4 5
8 9
10
41
11
40
39
38
12
13
14
37
22
16
14
21
36
35
14
8
34
23 8
33
20
19 18 17
16
15
32
24
25
26
31
30
29 28
27
6
立式插件头零件明细
项目号
零件号
数量
备注
1
LS1D-13024 插件两端螺丝
2
2
WJ-11121 M4 平垫
2
3
LS1D-13003 垫片
1
4
LS1D-13002 调整块
1
5
LS1D-13009 插件头本体
1
6
LS1D-13030 3.175x38 销
1
7
LS1D-13046 插件头上部销 2
1
8
LS1D-13040 6-32*3/16 机米
4
9
LS1D-13012 压紧块
1
10
LS1D-13026 压紧块机米
1
11
LS1D-13039 1/4-20 螺母
1
12
LS1D-13007 异型滑块
1

ZHX-R20B/-IN 自动下板立式插件机操作说明书-
49
-
深圳市中禾旭精密机械有限公司
-
49
-
www.zkdip.com
13
LS1D-13010 插件头盖子
1
14
LS1D-13023 插件头对中机米
3
15
LS1D-13029 3.175x24 销
2
16
LS1D-13025 螺丝
6
17
LS1D-13031 倒角垫片
1
18
LS1D-13005 垫块
1
19
LS1D-13032 滑轮
1
20
LS1D-13008 偏心销
1
21
LS1D-13013 梅花滑块
1
22
LS1D-13004 导套
1
23
LS1D-13036 实心销
2
24
LS1D-13020 压杆滑块弹簧
1
25
LS1D-13006 打料销
1
26
LS1D-13041 胶头
1
27
LS1D-13043 左边爪
1
28
LS1D-13022 边爪滑块弹簧
2
29
LS1D-13045 主爪
1
30
LS1D-13044 右边爪
1
31
LS1D-13027 主爪螺丝
2
32
WJ-11121 M4 平垫
2
33
LS1D-13011 三角滑块
1
34
LS1D-13021 主爪滑块弹簧
1
35
LS75-02035 夹紧块
1
36
LS1D-13038 6-32 螺母
3
37
WJ-10106 M4x6 黑色杯头
1
38
LS1D-13017 弹簧片
1
39
LS1D-13001 斧型件
1
40
WJ-12103 轴承
1
41
LS1D-13042 3/16x12 销
1
9、剪脚头保养。
1)剪脚头的拆卸。
松开
○
24 WJ-10149 上较大的四个剪脚头固定螺丝,松开(9)LS1D-07034 上的螺丝,把检
测线拉出来,就可以把整个剪脚头拿出来。
2)
剪脚头的保养。
(1).松开(7)上的螺丝,然后松开(10)、(20)、(19)上的螺丝把(20)拉出来,再把(6)给拉
出来,这样就可以把剪脚刀(2) (3) (4) (5)拿出来了,用不含纤维的干净的布把剪脚刀
擦干净,检查剪脚刀有没有磨损,磨损程度是多少,看是否需要更换。
(2).用不含纤维的干净的布把(6)擦干净,再涂上少许本公司配机的雪油。
(3).注意(3) (5)尾部部分和(9)之间的距离要在 0.3 毫米左右,太小会导致“插件检测”无
法检测,太大又会检测不到,它们的距离大小可以通过扭动(9)来实现,距离调好后,就
