4M-1752-003w_G5S.pdf - 第87页
4OM-1752 1-39 1306-002 4.8 XY 横梁部 X轴直线导轨(2处) 每天 点检 所要时间:1分钟 请目视点检是否有异物等掉落。 X轴直线导轨(4处) 每三个月 清扫、注油 所要时间:5分钟 (DAPHNE GREASE MP No.1) 请用棉纱擦去原有的润滑油,用手动注油 枪从注油嘴注入新的润滑油。 请注意不要残留纱头。 初次注油是在一个月后,以后每三个月注 油一次。 X轴滚珠丝杠(2处) 每三个月 清扫、注油 …

4OM-1752
1-381305-001
4.7 安装头部
通知
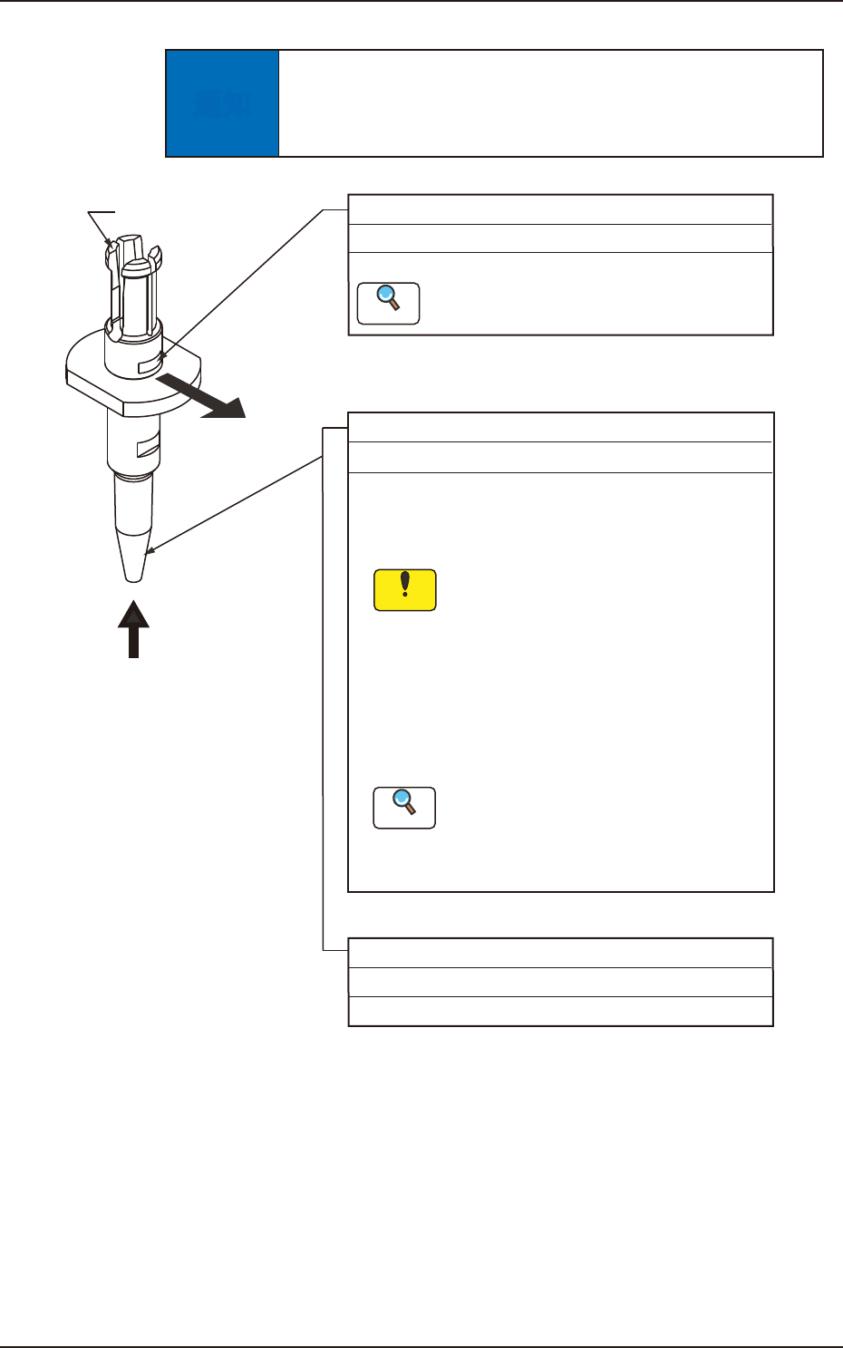
在吸嘴进行吹气时,请务必从吸嘴顶端方向进行吹气。
如果从夹板棘爪方向对吸嘴进行吹气,就会有弄断夹板棘爪的
危险。
吸嘴
每三个月 点检
请点检吸嘴的状态,吸嘴顶端磨损时,请进行更换。
吸嘴
每周 清扫
• 请用镜头布清扫吸嘴锥形部。
• 通过界面操作请将吸嘴收纳到吸嘴储料器内,取出
各吸嘴储料器后,进行吹气,去除垃圾等。
(a) 关于清扫的详细内容,请参照“第一
章 4.1 吸嘴的清扫”章节。
(b) 关于吸嘴收纳步骤,请参照“第二卷
第六章 5. 吸嘴交换”章节。
(a) 请不要用手从安装头取出吸嘴。
否则吸嘴和吸嘴数据不相符。
(b) 吸嘴上的污垢明显或真空吸引力
变弱,吸取或贴装发生不良情况
时,请在水中进行超声波清洗。
在水中进行超声波清洗时,请拆卸
吸嘴过滤器。
严禁使用水以外的液体。
从顶端吹气
夹板棘爪
吸嘴过滤器
每周 更换
请使用过滤器拔出治具更换吸嘴过滤器。
关于更换的详细内容,请参照“第一章
4.2 吸嘴过滤器的更换”。
Reference
Notice
Reference
F4A32

4OM-1752
1-391306-002
4.8 XY 横梁部
X轴直线导轨(2处)
每天 点检 所要时间:1分钟
请目视点检是否有异物等掉落。
X轴直线导轨(4处)
每三个月 清扫、注油 所要时间:5分钟
(DAPHNE GREASE MP No.1)
请用棉纱擦去原有的润滑油,用手动注油
枪从注油嘴注入新的润滑油。
请注意不要残留纱头。
初次注油是在一个月后,以后每三个月注
油一次。
X轴滚珠丝杠(2处)
每三个月 清扫、注油
(DAPHNE EPONEX GREASE No.3)
请用棉纱擦去原有的润滑油,用手动注油
枪从注油嘴注入新的润滑油。
请注意不要残留纱头。
初次注油是在一个月后,以后每三个月注
油一次。
Notice
Notice
F4A33
4.8 XY 横梁部

4OM-1752
1-401305-001
Y轴直线导轨(2处)
每天 点检 所要时间:1分钟
请目视点检是否有异物等掉落。
Y轴直线导轨(8处)
每三个月 清扫、注油 所要时间:5分钟
(DAPHNE GREASE MP No.1)
请用棉纱擦去原有的润滑油,用手动注油
枪从注油嘴注入新的润滑油。
请注意不要残留纱头。
初次注油是在一个月后,以后每三个月
注油一次。
Notice
F4A34
4.8 XY 横梁部