RX-6_RX-6B_RX-6R-Rev08 - 第131页
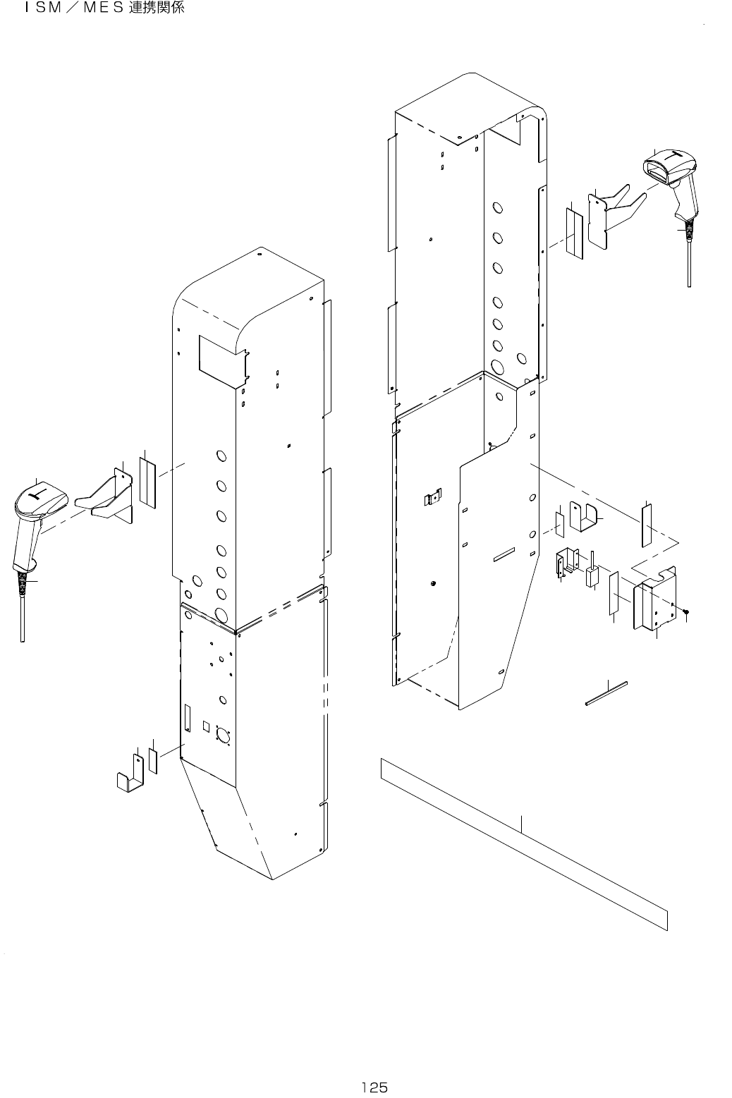
- - REF.NO NOTE PART NO D E S C R I P T I O N Qty 1 EZ -1 4 5864 4 - 11 READER B AR CODE 2 2 401-7 3414 BARCODE_RE ADER_BR 2 3 401-7 3415 BARCODE_RE ADER_HOOK 2 4 401-7 3482 USB BARCOR D READER CABLE (4 M) 2 5 401-5 89…

- -
63.ISM/MES COOPERATION COMPONENTS
1
2
3
2
1
3
5
5
5
5
5
5
7
1 0
9
1 1
8
4
4
6

- -
REF.NO NOTE PART NO D E S C R I P T I O N Qty
1 EZ-1458644-11 READER BAR CODE 2
2 401-73414 BARCODE_READER_BR 2
3 401-73415 BARCODE_READER_HOOK 2
4 401-73482 USB BARCORD READER CABLE(4M) 2
5 401-58914 BRB_MAGNET 2
6 400-97737 ETF_POSITION_BARCODE_SEAL 2
7
#01
401-73416 USB_BR_A 1
8
#01
401-73417 USB_BR_B 1
9
#01
401-73481 USB REPEATER CABLE 1
10
#01
SL-4030891-SC SCREW M3 L=8 4
11
#01
HX-0066900-00 GROMMET 0.05

- -
64.E REPLACING OVERALL CHANGER TRUCK RF COMPONENTS(1)
4 1
4 3
4 2
4 5 7 1
2 7
2 9
2
1 1
1 4
1 3
1 2
8
9
7
6
5
4
1 0
1 5
1 7
8
9
7
C
8 0
4 0
9 6
9 5
3
1 6
2 6
1 8
2 5
2 4
2 4
2 4
2 4
1 9
2 0 2 3
4 4
7 4
7 5
7 6
9 1
7 7
7 7
7 8
7 8
7 8
8 1
8 2
8 3
8 4
8 5
8 6
8 7
8 8
7 9
7 3
7 2
2 8
B
9 2
9 2
3 0
3 0
3 1
3 1
3 2
3 2
B
3 3
3 4
3 5
3 6
3 8
3 7
9 3
3 9
3 9
9 4
9 3
9 4
9 3
9 4
9 3
9 4
9 4
9 3
9 4
9 3
9 3
9 4
9 3
9 4
9 3
9 4
A
A
1
C
8 9
9 0
D
E
D
E