Protection_20211124_073105 - 第14页
Protection Page 14 / 17 24.11.2021 Pos. Item no. Description Part marking 00357164-01 PROTECTION S27HM 1 00357196-02 SWIVEL DOOR 1 ASSYMETR. Spare Part 2 00354956-01 ESLON WINDOW W/ BARCODE SWIVEL DOOR 1 SPARE PART 3 003…

Protection
Page 13 / 17 24.11.2021

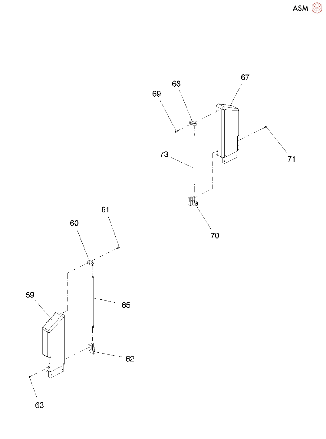
Protection
Page 14 / 17 24.11.2021
Pos. Item no. Description Part marking
00357164-01 PROTECTION S27HM
1 00357196-02 SWIVEL DOOR 1 ASSYMETR. Spare Part
2 00354956-01 ESLON WINDOW W/ BARCODE
SWIVEL DOOR 1
SPARE PART
3 00319467-03 CLAMPING PROFILE 1
4 00319036-01 DIN EN ISO 7380-M5 X 20-12.9
5 00095565-01 HEXAGON NUT
6 00322793-01 FIXING
7 00845030-01 HEXAGON SOCKET HEAD CAP
SCREW
8 00304588-01 DIN EN ISO 7380-M5 X 16-10.9 STANDARD PARTS
9 00346038-02 PROTECTION CLIP LEFT(LONG) SPARE PART
10 00322795-01 SHIM SPARE PART
11 00357197-01 SWIVELING DOOR 2 ASYMMETR.
12 00354957-01 ESLON WINDOW W/ BARCODE
SWIVEL DOOR 2
SPARE PART
13 00319135-03 CLAMPING PROFILE 2
14 00319036-01 DIN EN ISO 7380-M5 X 20-12.9
15 00095565-01 HEXAGON NUT
16 00322793-01 FIXING
17 00845030-01 HEXAGON SOCKET HEAD CAP
SCREW
18 00304588-01 DIN EN ISO 7380-M5 X 16-10.9 STANDARD PARTS
19 00346045-01 PROTECTION CLIP RIGHT SPARE PART
21 00357199-02 SWIVEL DOOR 3 ASSYMETR. Spare Part
22 00354958-01 ESLON WINDOW W/ BARCODE
SWIVEL DOOR 3
SPARE PART
23 00321175-03 CLAMPING PROFILE 3 Spare Part
24 00319036-01 DIN EN ISO 7380-M5 X 20-12.9
25 00095565-01 HEXAGON NUT
26 00322793-01 FIXING
27 00845030-01 HEXAGON SOCKET HEAD CAP
SCREW
28 00304588-01 DIN EN ISO 7380-M5 X 16-10.9 STANDARD PARTS
29 00346038-02 PROTECTION CLIP LEFT(LONG) SPARE PART
30 00322795-01 SHIM SPARE PART
31 00357200-02 SWIVEL DOOR 4 ASSYMETR. Spare Part

Protection
Page 15 / 17 24.11.2021
Pos. Item no. Description Part marking
32 00354959-01 ESLON WINDOW W/ BARCODE
SWIVEL DOOR 4
SPARE PART
33 00321176-03 CLAMPING PROFILE 4
34 00319036-01 DIN EN ISO 7380-M5 X 20-12.9
35 00095565-01 HEXAGON NUT
36 00322793-01 FIXING
37 00845030-01 HEXAGON SOCKET HEAD CAP
SCREW
38 00304588-01 DIN EN ISO 7380-M5 X 16-10.9 STANDARD PARTS
39 00346045-01 PROTECTION CLIP RIGHT SPARE PART
40 00319221-01 STOP 1 FOR SAFETY COVER
42 00364008-01 STAY 1 (HM) COMPL. ASSEMBLED
43 00346034-03 STAY 1 CASTED-TYPE
44 00319359-02 BUSHING SPARE PART
45 00845026-01 HEXAGON SOCKET HEAD CAP
SCREW M4 X 12-8.8
46 00322791-02 PEDESTAL Spare Part
47 00845026-01 HEXAGON SOCKET HEAD CAP
SCREW M4 X 12-8.8
49 00319360-01 AXIS 1
50 00353582-01 STAY 2 (S20/23) COMPL.
ASSEMBLED
51 00346035-01 STAY 2 CAST IRON WORK
52 00319359-02 BUSHING SPARE PART
53 00845026-01 HEXAGON SOCKET HEAD CAP
SCREW M4 X 12-8.8
54 00322792-02 BEARING BLOCK 2 Spare Part
55 00845026-01 HEXAGON SOCKET HEAD CAP
SCREW M4 X 12-8.8
57 00319360-01 AXIS 1
58 00364009-01 STAY 3 (HM) COMPL. ASSEMBLED
59 00346036-03 STAY 3 CASTED-TYPE
60 00319359-02 BUSHING SPARE PART
61 00845026-01 HEXAGON SOCKET HEAD CAP
SCREW M4 X 12-8.8
62 00322791-02 PEDESTAL Spare Part
63 00845026-01 HEXAGON SOCKET HEAD CAP
SCREW M4 X 12-8.8