KE-3010A_KE-3020VA_KE-3020VRA-Rev14 - 第133页
- - REF.NO NOTE PARTNO DESCRIPTION Qty 1 E2501-7 29-AA0-D FEED ERBANKASM . 1 2 E2501-7 29-0B0 FEEDERBANK(30)COMPL. (1) 3 E2502-7 29-000 PLATESTA NDL ( 1) 4 E2503-7 29-000 PLATESTA NDR (1) 5 E2…

- -
63.MFIXEDBANKUNITCOMPONENTS
3 8
4 2
3 9
4 1
3 5
3 5
4 0
4 3
3 8
4 1
3 6
3 7
3 4
4 3
3 6
3 7
3 4
3 3
5 5
5 6
5 8
5 7
4 6
5 1
5 4
5 3
5 2
4 5
5 1
5 0
5 0
4 9
4 7
4 8
2 4
1 9
1 5
6
5
3
2 2
1 6
1 6
2 1
8
7
9
3 1
2 9
2 3
2
3 1
3 0
2 3
1 1
1 8
1 7
1
A
1 1
1 0
2 6
2 7
2 5
2 6
2 7
2 5
1 4
1 3
2 0
1 2
4
2 2
1 6
1 6
7
2 1
9
8
3 5
4 2
4 0
3 9
3 5
5 9 7 0
4 4 7 3
6 4 7 1
6 0
5 9
4 4
6 5
6 66 8
6 4 7 1
6 7 6 9
2 8 7 2
3 2 7 4
6 3 6 6
6 2
6 1
3 2
6 0
2 8
6 7

- -
REF.NO NOTE PARTNO DESCRIPTION Qty
1 E2501-729-AA0-D FEEDERBANKASM. 1
2 E2501-729-0B0 FEEDERBANK(30)COMPL. (1)
3 E2502-729-000 PLATESTANDL (1)
4 E2503-729-000 PLATESTANDR (1)
5 E2515-729-000 FIXINGPLATE(30) (1)
6 E2516-729-000 NUMBERPLATE (1)
7 E2505-729-0A0 MARKASM. (2)
8 E2601-725-000 MARK (1)
9 E2505-729-000 MARKBASE (1)
10 E2504-729-000-A LOCKSHAFT(30) (1)
11 E2513-729-000-A FIXINGPLATEB(30) (4)
12 E2608-721-000 PLATESUPPORT (4)
13 E2609-721-000 BANKLOCATEPINA (1)
14 E2610-721-000 BANKLOCATEPINB (1)
15 400-98252 POSITIONLABEL (1)
16 SM-8041402-TP SCREWM4X0.7L=14 (4)
17 SM-6040802-TN SCREWM4X0.7L=8 (17)
18 SL-6031292-TN SCREWM3L=12 (12)
19 SL-6041292-TN SCREWM4L=12 (5)
20 SL-6041692-TN SCREWM4L=16 (8)
21 SL-6041292-TN SCREWM4L=12 (4)
22 SL-6052092-TN SCREWM5L=20 (4)
23 SM-4040655-SN SCREWM4X0.7L=6 (8)
24 SM-6030552-KS SCREW (5)
25 NM-6080003-SC NUTM8X1.25TYPE3 (2)
26 WP-0841601-SC WASHERM8 (2)
27 WS-0820002-KN SPRINGWASHERM8 (2)
28 401-47428 HOD_COVER 2
29 SM-6062002-TN SCREWM6L=20 2
30 WS-0610002-KN SPRINGWASHERM6 2
31 NM-6060003-SC NUTM6 2
32 SL-4030691-SC SCREWM3L=6 4
33 401-47411 BANK_SUPPORT_UNIT 1
34 401-09098 BANKSUPA (2)
35 SL-6104042-TN SCREWM10L=40 (16)
36 SL-6104042-TN SCREWM10L=40 (8)
37 WP-1052001-SC WASHER10 (8)
38 401-47412 BANK_SUP_B_L_ASM (2)
39 401-47413 BANK_SUP_B_L (1)
40 E2623-721-000 BANKLOCATEBUSHB (1)
41 401-47415 BANK_SUP_B_R_ASM (2)
42 401-47416 BANK_SUP_B_R (1)
43 E2623-721-000 BANKLOCATEBUSHB (1)
44 401-47198 M_CONNECTOR_PLATE_R 2
45 400-93831 DRIVECYLINDERUNIT 1
46 SM-4861001-SC SCREWM2.6L=10 (4)
47 400-00575 DRIVECYLINDERL (1)
48 400-00576 DRIVECYLINDERR (1)
49 400-93843 DRIVER_SUPPORT (1)
50 SL-6052092-TN SCREWM5L=20 (6)
51 SL-6051292-TN SCREWM5L=12 (2)
52 400-23687 DRIVECYLINDERCABLE (2)
53 PV-1303050-00 3-PORTSOLENOIDVALVE (80)
54 400-23687 DRIVECYLINDERCABLE (4)
55 E2634-721-0A0 DRIVERBRACKETSUPPORTAASM. 2
56 E2634-721-000 DRIVERBRACKETSUPPORTA (2)
57 SL-6052092-TN SCREWM5L=20 (4)
58 SL-6053592-TN SCREWM5L=35 (4)
59 SL-4030691-SC SCREWM3L=6 4
60 400-93799 HOLEPLUGSHP18 2
61 E2904-700-000 SOCKET 1
62 PJ-3010651-06 FEMALEUNION 1
63
#01
401-60009 CONNECTOR_COVER_ME 1
64 400-93799 HOLEPLUGSHP18 2
65 E2904-700-000 SOCKET 1
66 401-60009 CONNECTOR_COVER_ME 2
67 400-81751 B_COVER_SCREW 8
68 PJ-3010651-06 KNIFEUNION 1
69
#01
400-81751 B_COVER_SCREW 4
70
#01
SL-4030891-SC SCREWM3L=8 2
71
#01
400-93799 HOLE_PLUGS_HP18 2
72
#01
401-47428 HOD_COVER 1
73
#01
401-47198 M_CONNECTOR_PLATE_R 1
74
#01
SL-4030691-SC SCREWM3L=6 2

- -
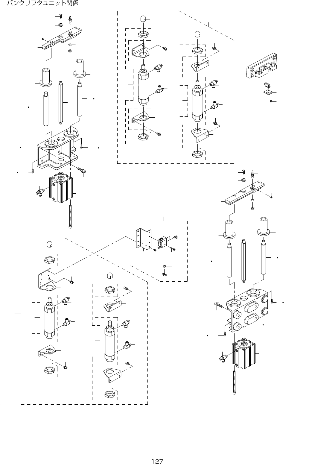
64.BANKLIFTERUNITCOMPONENTS
5
5
1 2
9
2 8
4 3
2 0
1 9
4 2
8 2 3
8 2 3
4 1
4 1
2 1
2 1
2 2 2 3
2 2 2 3
3 3
3 2
3 1
6 7
6 7
6 7
6 7
1 7 1 8
1 6
1 5
1 4
1 3
3 0
2 9
1 1
1 0
4
2 4
2 5
2 7
3
4 0
3 5
3 6
3 6
3 7
3 7
3 8
3 9
3 9
1 2
2 6
3 8
3 7
3 7
3 6
3 6
3 5
3 9
3 9
5 0
5 0
4 5
4 6
4 6
4 7
4 7
4 9
4 4
5 0
5 0
4 9
4 7
4 8
4 6
4 6
4 5
5 1
5 2
5 3
5 4
5 5
5 6
5 7
5 8
3 4