KE-3010A_KE-3020VA_KE-3020VRA-Rev14 - 第93页
- - REF.NO NOTE PARTNO DESCRIPTION Qty 1 401-47024 AWC_MECHANIC _ASM_V 1 2 E1038-871-000 P LATENLOCKCAMSCREW (1) 3 400-00768 AWCPULLEYAASM. (1) 4 E2153-725-000 A WCPULLEYA (1) 5 SM-8040602-TP S…

- -
OPTION
43.AWCCOMPONENTS
3 7
3 6
3 5
3 4
3 4
3 3
3 2
3 2
3 1
2 9
1 8
2 7
1 7
6
3
1 0
2 8
2 2
1
3 0
2 3
1 6
9
8
5
7
2 0
4
1 9
2 6
2
2 5
1 1
1 2
1 5
1 4
1 3
1 2
1 5
3 8
2 4
2 1
1 1

- -
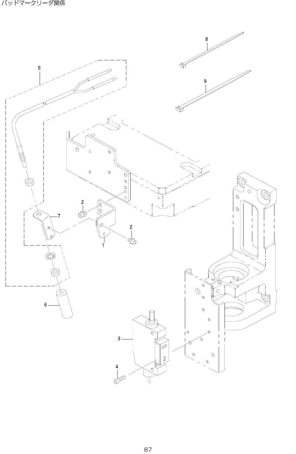
REF.NO NOTE PARTNO DESCRIPTION Qty
1 401-47024 AWC_MECHANIC_ASM_V 1
2 E1038-871-000 PLATENLOCKCAMSCREW (1)
3 400-00768 AWCPULLEYAASM. (1)
4 E2153-725-000 AWCPULLEYA (1)
5 SM-8040602-TP SCREWM4X0.7L=6 (2)
6 400-00769 AWCPULLEYBASM. (1)
7 E2154-725-000 AWCPULLEYB (1)
8 SM-8040402-TP SCREWM4X0.7L=4 (2)
9 SM-8040602-TP SCREWM4X0.7L=6 (2)
10 LS-6030692-TN SCREWM3L=6 (2)
11 401-47054 SENSOR_BR_AWC (2)
12 SL-6030892-TN SCREWM3L=8 (4)
13 401-29058 SEPARATESENSOREMISSIONASM (1)
14 401-29057 SEPARATESENSORRECEIVERASM (1)
15 SL-4031291-SC SCREWM3X12 (4)
16 400-48077 AWCMOTORASM (1)
17 E2163-725-000 AWCBRACKETE (1)
18 E2160-725-000 AWCBELT(E) (1)
19 E2161-725-000 AWCOPDOG(E) (1)
20 SL-6030692-TN SCREWM3L=6 (2)
21 401-47025 AWC_SENSOR_BR_B_E (1)
22 SM-4030501-SN SCREWM3X0.5L=5 (1)
23 SL-6041292-TN SCREWM4L=12 (4)
24 SL-4031091-SC SCREWM3L=10 (2)
25 400-00534 BACKUPDRIVPLATE (1)
26 SL-4041091-SC SCREWM4L=10 (1)
27 EA-9500B01-00 CABLEBAND (2)
28 HX-0052200-00 SPIRALTUBE (0.32)
29 400-65488 BUPINSENSORDOG (1)
30 SL-6051492-TN BOLT (2)
31
#01
401-47011 WAIT_SENSOR_BR_ML (1)
32
#01
400-65488 BUPINSENSORDOG (2)
33
#01
401-47012 WAIT_SENSOR_BR_MR (1)
34
#01
SM-4030501-SN SCREWM3X0.5L=5 (2)
35
#02
401-47013 WAIT_SENSOR_BR (2)
36
#02
400-65488 BUPINSENSORDOG (2)
37
#02
SM-4030501-SN SCREWM3X0.5L=5 (2)
38 401-29042 AWC/BUORGSENSORCABLEASM (1)

- -
44.BADMARKREADERCOMPONENTS