P-0138-001 - 第111页
MODEL TCM-3700 9912-001 5- 2 PART No. PART NAME Q'ty REMARK S 1 -1 630 084 1237 BASE 1 739C--01B -001 1 -2 630 084 1244 BASE 1 739C--01B -002 1 -6 630 084 4078 PIN,LO CATE 8 739C --01B-048 2 -1 630 084 4085 PLAT E 1…

MODEL TCM-3700
9912-001
部品供給部 FEEDER CARRIAGE SECTION
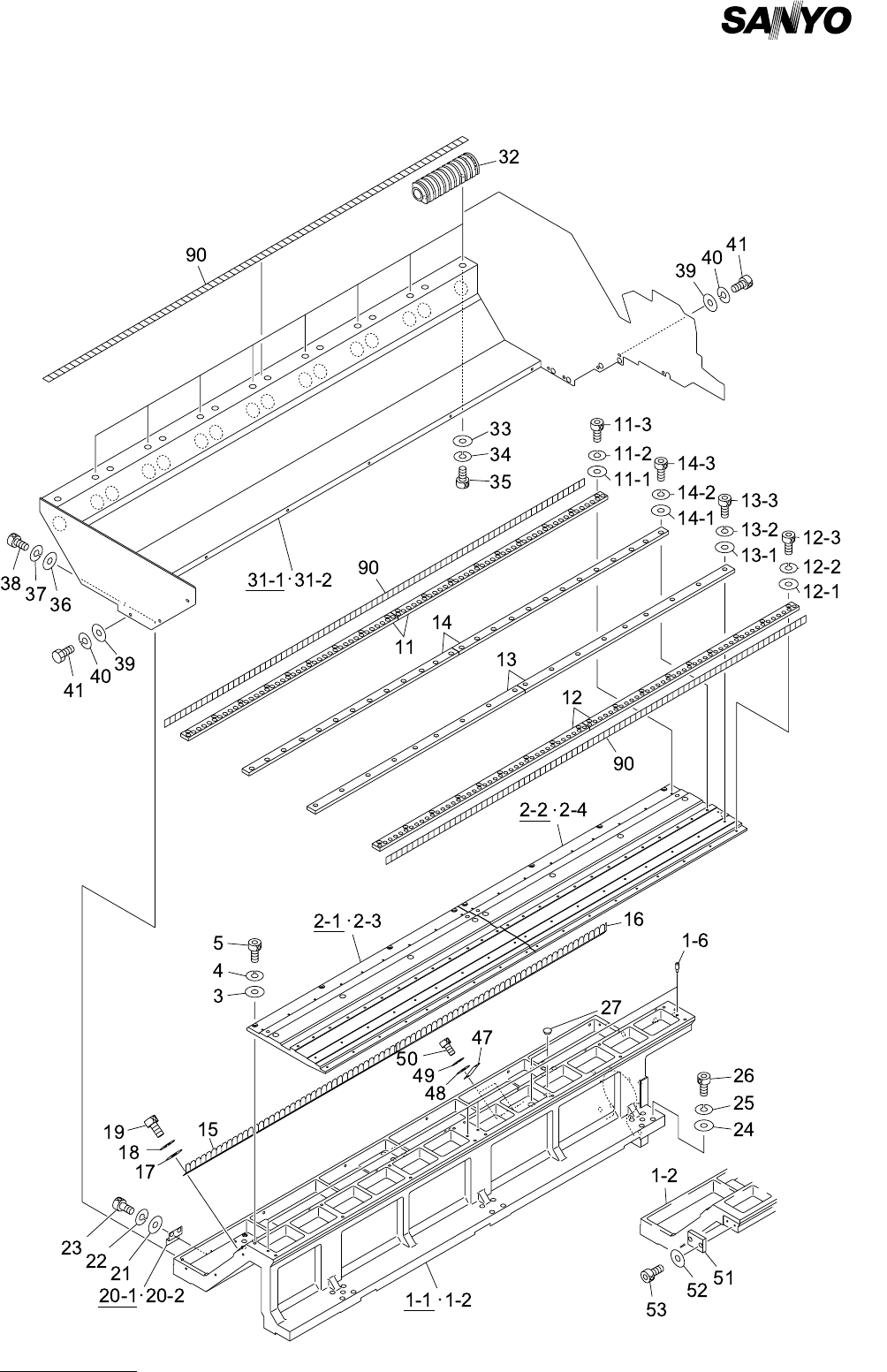
Fig. 5-2 リールユニット Feeder Carriage

MODEL TCM-3700
9912-001
5- 2
PART No. PART NAME Q'ty REMARKS
1 -1 630 084 1237 BASE 1 739C--01B-001
1 -2 630 084 1244 BASE 1 739C--01B-002
1 -6 630 084 4078 PIN,LOCATE 8 739C--01B-048
2 -1 630 084 4085 PLATE 1 739C--01B-049
2 -2 630 084 4092 PLATE 1 739C--01B-050
2 -3 630 084 4108 PLATE 1 739C--01B-051
2 -4 630 084 4085 PLATE 1 739C--01B-049
3 411 141 4305 WASHER V 6X12.5X1.6 32 FW6
4 411 141 3001 WASHER SPR 6 32 SW6
5 630 000 7893 BOLT,HEX-SCT 32 M6X20
11 630 048 4342 PLATE 4 739C--01B-007
11 -1 411 141 4008 WASHER V 4X9X0.8 36 FW4
11 -2 411 141 2905 WASHER SPR 4 36 SW4
11 -3 630 000 7640 BOLT,HEX-SCT 36 M4X14
12 630 048 4335 PLATE 4 739C--01B-003
12 -1 411 141 4008 WASHER V 4X9X0.8 36 FW4
12 -2 411 141 2905 WASHER SPR 4 36 SW4
12 -3 630 000 7626 BOLT,HEX-SCT 36 M4X10
13 630 084 4061 PLATE 4 739C--01B-047
13 -1 411 141 4008 WASHER V 4X9X0.8 36 FW4
13 -2 411 141 2905 WASHER SPR 4 36 SW4
13 -3 630 000 7640 BOLT,HEX-SCT 36 M4X14
14 630 056 2491 PLATE 4 739C--01B-005
14 -1 411 141 4107 WASHER V 5X10X1 52 FW5
14 -2 411 141 6705 WASHER SPR 5 52 SW5
14 -3 630 000 7763 BOLT,HEX-SCT 52 M5X16
15 630 048 4359 SUPPORT 2 739C--01B-009
16 630 048 4366 SUPPORT 2 739C--01B-010
17 411 141 4107 WASHER V 5X10X1 16 FW5
18 411 141 6705 WASHER SPR 5 16 SW5
19 630 000 7756 BOLT,HEX-SCT 16 M5X12
20 -1 630 047 6798 BRACKET 1 739C--01B-032
20 -2 630 047 6804 BRACKET 1 739C--01B-033
21 411 141 4008 WASHER V 4X9X0.8 4 FW4
22 411 141 2905 WASHER SPR 4 4 SW4
23 630 000 7619 BOLT,HEX-SCT 4 M4X8
24 411 141 4107 WASHER V 5X10X1 48 FW5
25 411 141 6705 WASHER SPR 5 48 SW5
26 630 000 7763 BOLT,HEX-SCT 48 M5X16
27 630 005 4057 ACCESSORY,SW 4 739C--01H-022
31 -1 630 084 3989 SUPPORT 1 739C--01B-011
31 -2 630 084 3996 SUPPORT 1 739C--01B-012
32 630 055 1792 SUPPORT 16 739C--01B-013
33 411 141 4305 WASHER V 6X12.5X1.6 32 FW6
34 411 141 3001 WASHER SPR 6 32 SW6
35 630 000 7886 BOLT,HEX-SCT 32 M6X16
36 411 141 4305 WASHER V 6X12.5X1.6 12 FW6
37 411 141 3001 WASHER SPR 6 12 SW6
38 630 000 7879 BOLT,HEX-SCT 12 M6X12
39 411 088 1702 WASHER V 5X10X1 16 FW5 F
Key No.
NOTE

MODEL TCM-3700
9912-001
5- 2
PART No. PART NAME Q'ty REMARKS
40 411 008 2109 WASHER SPR 5 16 SW5 F
41 411 140 4900 BOLT HEX 5X12 16 M5X12 HEX
47 630 086 0696 COVER 4 739C--01B-055
48 411 141 4008 WASHER V 4X9X0.8 8 FW4
49 411 141 2905 WASHER SPR 4 8 SW4
50 630 000 7626 BOLT,HEX-SCT 8 M4X10
51 630 056 1050 PLATE 1 739C--01B-014
52 411 141 4008 WASHER V 4X9X0.8 2 FW4
53 630 000 7626 BOLT,HEX-SCT 2 M4X10
90 630 047 6378 NAME PLATE,INDEX 6 739C--01H-024
Key No.
NOTE