P-0138-001 - 第158页
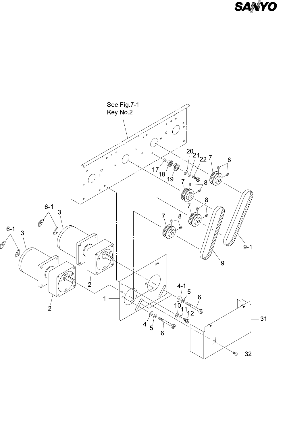
MODEL TCM-3700 9912-001 Lコンベア部 L CONVEYOR SECTION Fig. 7-2 コンベア駆動部 Conveyor Driver

MEMO

MODEL TCM-3700
9912-001
Lコンベア部 L CONVEYOR SECTION
Fig. 7-2 コンベア駆動部 Conveyor Driver

MODEL TCM-3700
9912-001
7- 2
PART No. PART NAME Q'ty REMARKS
1 630 077 4580 BRACKET(MOTOR) 1 739G--01B-010
2 630 006 0409 GEAR,REDUCTION 2 739G--01H-016
3 630 075 6333 MOTOR,REVERSIBLE 2 739G--01H-015
4 411 141 4107 WASHER V 5X10X1 2 FW5
4 -1 630 001 0220 WASHER 1 739G--01H-027
5 411 141 6705 WASHER SPR 5 4 SW5
6 630 000 7848 BOLT,HEX-SCT 4 M5X60
6 -1 630 075 6289 NUT 4 739G--01B-054
7 630 009 2684 PULLEY,TIMING 4 739G--01H-017
8 630 000 8944 SET SCREW 8 M5X6 SET
9 630 066 9992 BELT,TIMING 1 739G--01H-036
9 -1 630 049 6925 BELT,TIMING 1 739G--01H-048
10 411 141 4107 WASHER V 5X10X1 2 FW5
11 411 141 6705 WASHER SPR 5 2 SW5
12 630 000 7749 BOLT,HEX-SCT 2 M5X10
17 630 077 4733 COLLAR 1 739G--01B-067
18 630 077 3200 BEARING,RADIAL 1 739G--01H-049
19 630 077 3217 BEARING,RADIAL 1 739G--01H-050
20 411 141 4107 WASHER V 5X10X1 1 FW5
21 411 141 6705 WASHER SPR 5 1 SW5
22 630 000 7787 BOLT,HEX-SCT 1 M5X25
31 630 077 4634 COVER(MOT0R) 1 739G--01B-032
32 411 051 1708 SCR TRS 4X6 1 M4X6 TRS
Key No.
NOTE