P-0138-001 - 第168页
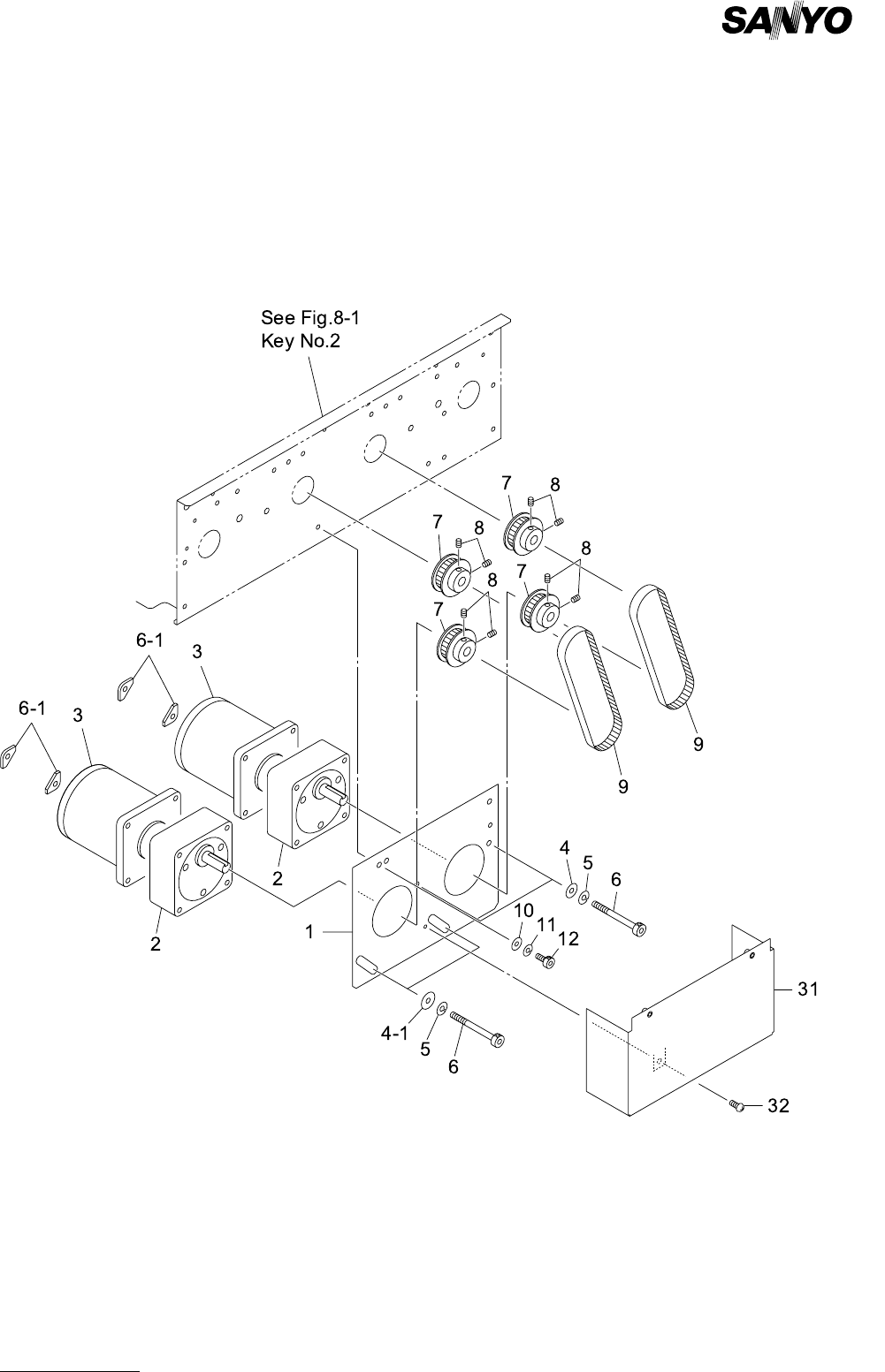
MODEL TCM-3700 9912-001 R コンベア部 R CONVEYOR SECTION Fig. 8-2 コンベア駆動部 Conveyor Driver

MEMO

MODEL TCM-3700
9912-001
R コンベア部 R CONVEYOR SECTION
Fig. 8-2 コンベア駆動部 Conveyor Driver

MODEL TCM-3700
9912-001
8- 2
PART No. PART NAME Q'ty REMARKS
1 630 077 4580 BRACKET(MOTOR) 2 739H--01B-010
2 630 006 0409 GEAR,REDUCTION 2 739H--01H-016
3 630 075 6333 MOTOR,REVERSIBLE 2 739H--01H-015
4 411 141 4107 WASHER V 5X10X1 2 FW5
4 -1 630 001 0220 WASHER 2 739H--01H-027
5 411 141 6705 WASHER SPR 5 4 SW5
6 630 000 7848 BOLT,HEX-SCT 4 M5X60
6 -1 630 075 6289 NUT 4 739H--01B-054
7 630 009 2684 PULLEY,TIMING 4 739H--01H-017
8 630 000 8944 SET SCREW 8 M5X6 SET
9 630 078 7900 BELT,TIMING 2 739H--01H-036
10 411 141 4107 WASHER V 5X10X1 2 FW5
11 411 141 6705 WASHER SPR 5 2 SW5
12 630 000 7749 BOLT,HEX-SCT 2 M5X10
31 630 077 4832 COVER(MOTOR) 1 739H--01B-032
32 411 051 1708 SCR TRS 4X6 1 M4X6 TRS
Key No.
NOTE