P-0138-001 - 第201页
MODEL TCM-3700 9912-001 1 1- 3 PART No. PART NAME Q'ty REMARK S 1 630 085 9843 SUPPO RT 1 739BC-01V-006 2 630 001 0220 W ASHER 2 BW 5 3 411 141 6705 W ASHER SPR 5 2 SW 5 4 630 000 7756 BOLT ,HEX-SCT 2 M5X 12 10 630 …

MODEL TCM-3700
9912-001
電気制御部 ELECTRICAL SECTION
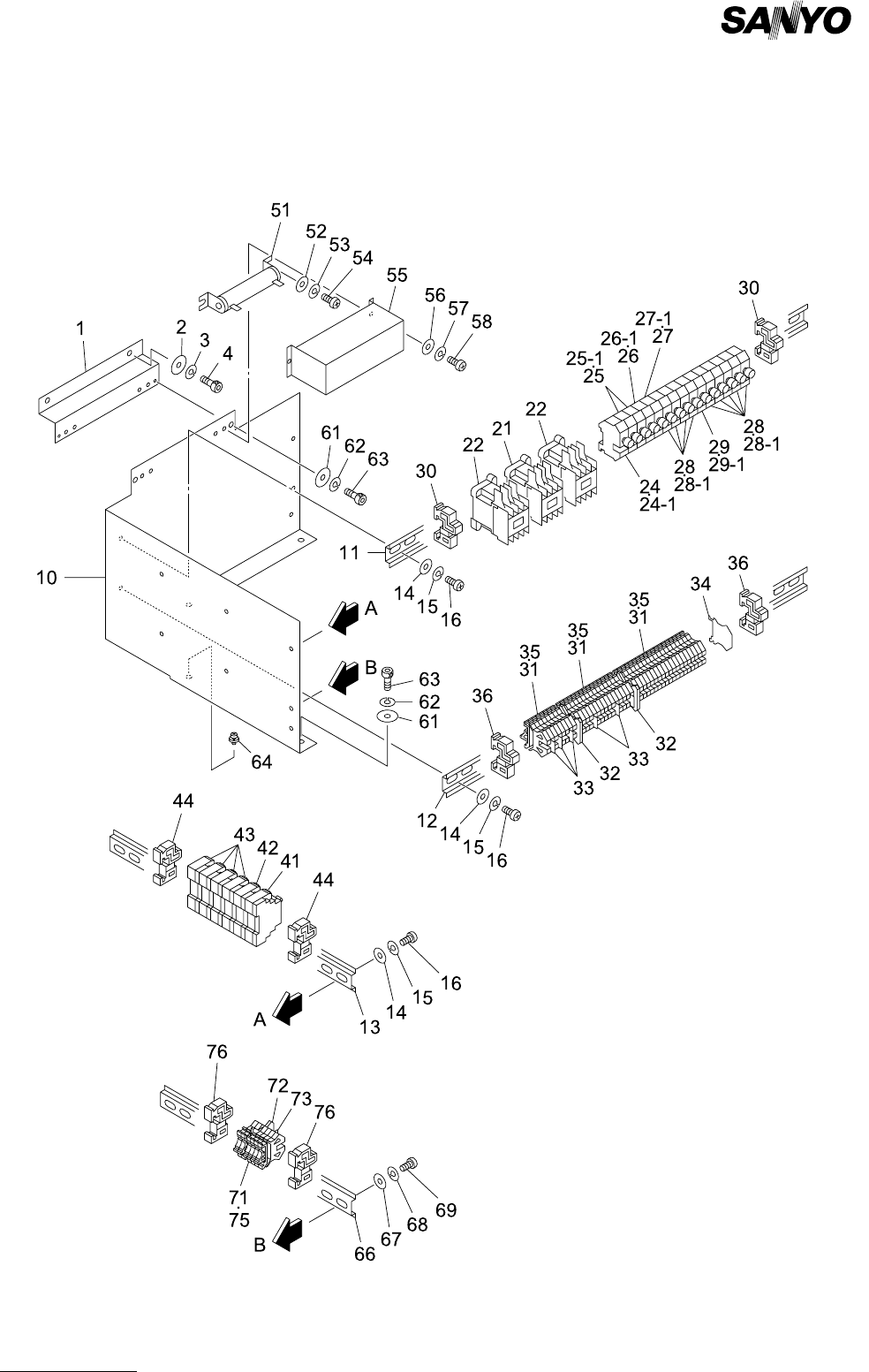
Fig.11-3 100V 電源 Power Supply-100V

MODEL TCM-3700
9912-001
11- 3
PART No. PART NAME Q'ty REMARKS
1 630 085 9843 SUPPORT 1 739BC-01V-006
2 630 001 0220 WASHER 2 BW5
3 411 141 6705 WASHER SPR 5 2 SW5
4 630 000 7756 BOLT,HEX-SCT 2 M5X12
10 630 059 1651 PANEL 1 739BC-01V-005
14 411 119 2104 WASHER V 4X9X0.8 7 FW4 F
15 411 008 1706 WASHER SPR 4 7 SW4 F
16 411 043 5004 SCR PAN 4X8 7 M4X8 PAN
21 630 053 8588 EM-CONTACTOR 1 739BC-01D-056
22 630 053 8618 EM-CONTACTOR 2 739BC-01D-004
24 630 049 1173 FUSE HOLDER 1 739BC-01D-049
24 -1 423 025 2109 FUSE 250V 6.3A 1 739BC-01D-073
25 630 049 1173 FUSE HOLDER 2 739BC-01D-049
25 -1 423 022 8104 FUSE 250V 2A 2 739BC-01D-058
26 630 049 1173 FUSE HOLDER 1 739BC-01D-049
26 -1 423 022 8104 FUSE 250V 2A 1 739BC-01D-058
27 630 049 1173 FUSE HOLDER 1 739BC-01D-049
27 -1 423 022 8104 FUSE 250V 2A 1 739BC-01D-058
28 630 049 1173 FUSE HOLDER 9 739BC-01D-049
28 -1 423 022 8005 FUSE 250V 1A 9 739BC-01D-057
29 630 049 1173 FUSE HOLDER 1 739BC-01D-049
29 -1 423 025 2109 FUSE 250V 6.3A 1 739BC-01D-073
30 630 049 3672 BRACKET,WIRING 2 739BC-01D-026
31 630 049 3696 TERMINAL 42 739BC-01D-021
32 630 049 3757 ACCESSORY,WIRING 2 739BC-01D-025
33 630 049 3702 ACCESSORY,WIRING 6 739BC-01D-024
34 630 049 3733 ACCESSORY,WIRING 1 739BC-01D-023
36 630 049 3672 BRACKET,WIRING 2 739BC-01D-026
41 630 088 9529 CIRCUIT PROTECTOR 1 739BC-01D-047
42 630 088 9505 CIRCUIT PROTECTOR 1 739BC-01D-048
43 630 088 9734 CIRCUIT PROTECTOR 4 739BC-01D-046
44 630 049 3672 BRACKET,WIRING 2 739BC-01D-026
51 402 061 5206 WIRE WOUND 100 JB 80W 1 739BC-01D-040
52 411 119 2104 WASHER V 4X9X0.8 2 FW4 F
53 411 008 1706 WASHER SPR 4 2 SW4 F
54 411 042 3001 SCR PAN 4X10 2 M4X10 PAN
55 630 057 2735 COVER 1 739BC-01V-004
56 411 119 2104 WASHER V 4X9X0.8 2 FW4 F
57 411 008 1706 WASHER SPR 4 2 SW4 F
58 411 042 3001 SCR PAN 4X10 2 M4X10 PAN
61 630 001 0220 WASHER 5 BW5
62 411 141 6705 WASHER SPR 5 5 SW5
63 630 000 7756 BOLT,HEX-SCT 5 M5X12
64 411 036 8609 SCR PAN+SW+W 5X12 1
67 411 119 2104 WASHER V 4X9X0.8 2 FW4 F
68 411 008 1706 WASHER SPR 4 2 SW4 F
69 411 043 5004 SCR PAN 4X8 2 M4X8 PAN
71 630 049 3696 TERMINAL 6 739BC-01D-021
72 630 049 3733 ACCESSORY,WIRING 1 739BC-01D-023
73 630 049 3702 ACCESSORY,WIRING 1 739BC-01D-024
Key No.
NOTE

MODEL TCM-3700
9912-001
11- 3
PART No. PART NAME Q'ty REMARKS
76 630 049 3672 BRACKET,WIRING 2 739BC-01D-026
Key No.
NOTE