P-0138-001 - 第217页
MODEL TCM-3700 9912-001 1 1- 8 PART No. PART NAME Q'ty REMARK S 15 630 049 5034 COR D 1 739FB-01D-045 16 630 084 6379 COR D 1 739FB-01D-046 17 630 064 1523 COR D 1 739FB-01D-047 18 630 084 6393 COR D 1 739FB-01D-048…

MODEL TCM-3700
9912-001
電気制御部 ELECTRICAL SECTION
Fig.11-8 制御ボックス配線 Control Box Wiring

MODEL TCM-3700
9912-001
11- 8
PART No. PART NAME Q'ty REMARKS
15 630 049 5034 CORD 1 739FB-01D-045
16 630 084 6379 CORD 1 739FB-01D-046
17 630 064 1523 CORD 1 739FB-01D-047
18 630 084 6393 CORD 1 739FB-01D-048
19 630 064 1516 CORD 1 739FB-01D-049
20 630 084 5952 CORD 1 739FB-01D-050
21 630 084 5969 CORD 1 739FB-01D-051
22 630 049 5102 CORD 1 739FB-01D-052
24 630 084 6409 CORD 1 739FB-01D-053
25 630 058 0341 CORD 1 739FB-01D-054
26 630 064 1530 CORD 1 739FB-01D-055
27 630 084 5983 CORD 1 739FB-01D-056
28 630 084 6416 CORD 1 739FB-01D-057
30 630 049 5171 CORD 1 739FB-01D-140
54 630 084 6232 CORD 1 739FB-01D-064
55 630 084 6256 CORD 1 739FB-01D-063
57 630 049 7595 CORD 1 739FB-01D-062
58 630 084 6225 CORD 1 739FB-01D-066
59 630 084 6249 CORD 1 739FB-01D-065
65 630 065 8255 CORD 1 739FB-01D-150
66 630 064 1479 CORD 1 739FB-01D-060
71 630 049 3269 CONNECTOR 1 739FB-01D-033
73 630 054 8709 CONNECTOR 1 739FB-01D-102
74 630 049 3238 CONNECTOR 1 739FB-01D-025
83 630 084 6034 CORD 1 739FB-01D-126
85 630 004 6267 CONNECTOR 1 739FB-01D-127
87 630 064 1486 CORD 1 739FB-01D-125
Key No.
NOTE

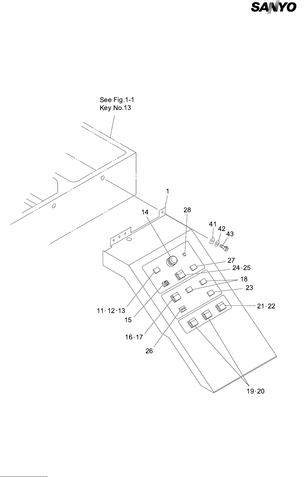
MODEL TCM-3700
9912-001
電気制御部 ELECTRICAL SECTION
Fig.11-10 前面操作パネル Front Operation Panel