P-0138-001 - 第230页
MODEL TCM-3700 9912-001 電気制御部 ELECTRICAL SECTION Fig.1 1-14 前面コンソール Front Console

MEMO

MODEL TCM-3700
9912-001
電気制御部 ELECTRICAL SECTION
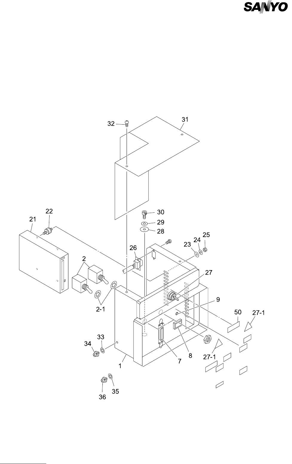
Fig.11-14 前面コンソール Front Console

MODEL TCM-3700
9912-001
11-14
PART No. PART NAME Q'ty REMARKS
1 630 085 8327 BOX 1 739FG-01V-001
2 630 049 1098 SWITCH,TOGGLE 2 739FG-01D-001
2 -1 411 175 4708 WASHER IN TW 12 2
7 630 064 1509 CORD 1 739FB-01D-122
8 630 000 2744 SWITCH,BUTTON 1 739FG-01D-008
9 407 035 4704 LED SLP-721F 1 739FG-01D-011
21 630 057 0694 UNIT,I/O 1 739FG-01D-006
22 630 036 4736 MECH PARTS 4 739FG-01V-002
23 411 141 3902 WASHER V 3X7X0.5 4 FW3
24 411 141 2806 WASHER SPR 3 4 SW3
25 411 140 9905 NUT HEX 3 4 M3
26 630 064 1486 CORD 1 739FB-01D-125
27 630 060 5730 SWITCH,SELECTOR 1 739FG-01D-012
27 -1 630 061 2325 NAME PLATE,NOTICE 2 739FG-01D-014
28 630 001 0237 WASHER 2 BW6
29 411 141 3001 WASHER SPR 6 2 SW6
30 630 000 7879 BOLT,HEX-SCT 2 M6X12
31 630 065 2383 COVER 1 739FG-01V-003
32 411 113 9109 SCR TRS 5X10 2 M5X10 TRS
33 411 087 0508 WASHER IN TW 4 1
34 411 114 7807 SCR PAN+SW+W 4X10 1
35 411 087 1109 WASHER IN TW 5 1
36 411 036 8609 SCR PAN+SW+W 5X12 1
50 630 060 1992 NAME PLATE,PARTS 1 739FG-01D-010
Key No.
NOTE