P-0138-001 - 第234页
MODEL TCM-3700 9912-001 電気制御部 ELECTRICAL SECTION Fig.1 1-16 前後工程 I / F 1 Previous/Next Work Process Interface-1

MODEL TCM-3700
9912-001
11-15
PART No. PART NAME Q'ty REMARKS
1 630 085 8334 BRACKET 1 739FG-01V-004
7 630 058 9191 CORD 1 739FB-01D-124
8 630 000 2744 SWITCH,BUTTON 1 739FG-01D-008
9 407 035 4704 LED SLP-721F 1 739FG-01D-011
10 411 140 8007 SCR TRS 5X6 2 M5X6 TRS
20 630 060 1619 NAME PLATE,PARTS 1 739FG-01D-013
Key No.
NOTE

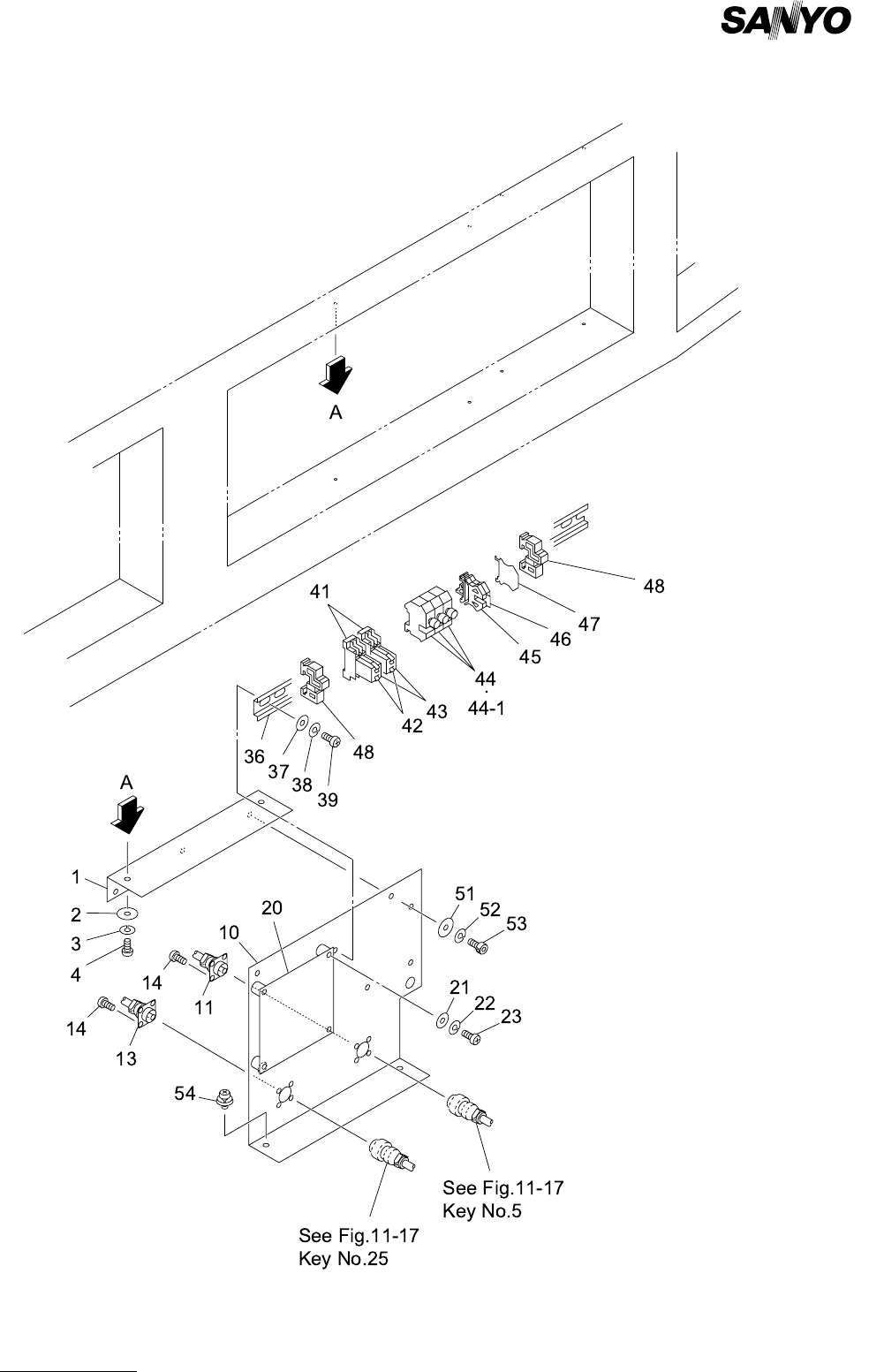
MODEL TCM-3700
9912-001
電気制御部 ELECTRICAL SECTION
Fig.11-16 前後工程 I / F 1 Previous/Next Work Process Interface-1

MODEL TCM-3700
9912-001
11-16
PART No. PART NAME Q'ty REMARKS
1 630 061 5630 SUPPORT 1 739FB-01V-019
2 630 001 0220 WASHER 2 BW5
3 411 141 6705 WASHER SPR 5 2 SW5
4 630 000 7756 BOLT,HEX-SCT 2 M5X12
10 630 073 5147 PANEL 1 739FB-01V-017
14 411 042 0703 SCR PAN 3X8 8 M3X8 PAN
20 630 062 4793 P.C.B,MOUNT(I/F) 1 739FB-01U-002
21 411 119 1909 WASHER V 3X7X0.5 4 FW3 F
22 411 086 4408 WASHER SPR 3 4 SW3 F
23 411 041 8908 SCR PAN 3X6 4 M3X6 PAN
37 411 119 2104 WASHER V 4X9X0.8 2 FW4 F
38 411 008 1706 WASHER SPR 4 2 SW4 F
39 411 043 5004 SCR PAN 4X8 2 M4X8 PAN
41 630 045 4260 SOCKET 2 739FB-01D-165
42 630 000 1020 BRACKET,WIRING 2 739FB-01D-166
43 630 049 2125 RELAY 2 739FB-01D-164
44 630 070 4808 FUSE HOLDER 3 739FB-01D-157
44 -1 423 022 8005 FUSE 250V 1A 3 739FB-01D-162
45 630 049 3801 TERMINAL 2 739FB-01D-155
46 630 049 3702 ACCESSORY,WIRING 1 739FB-01D-175
47 630 049 3733 ACCESSORY,WIRING 1 739FB-01D-156
48 630 049 3672 BRACKET,WIRING 2 739FB-01D-158
51 630 001 0220 WASHER 3 BW5
52 411 141 6705 WASHER SPR 5 3 SW5
53 630 000 7756 BOLT,HEX-SCT 3 M5X12
54 411 036 8609 SCR PAN+SW+W 5X12 1
Key No.
NOTE