P-0138-001 - 第237页
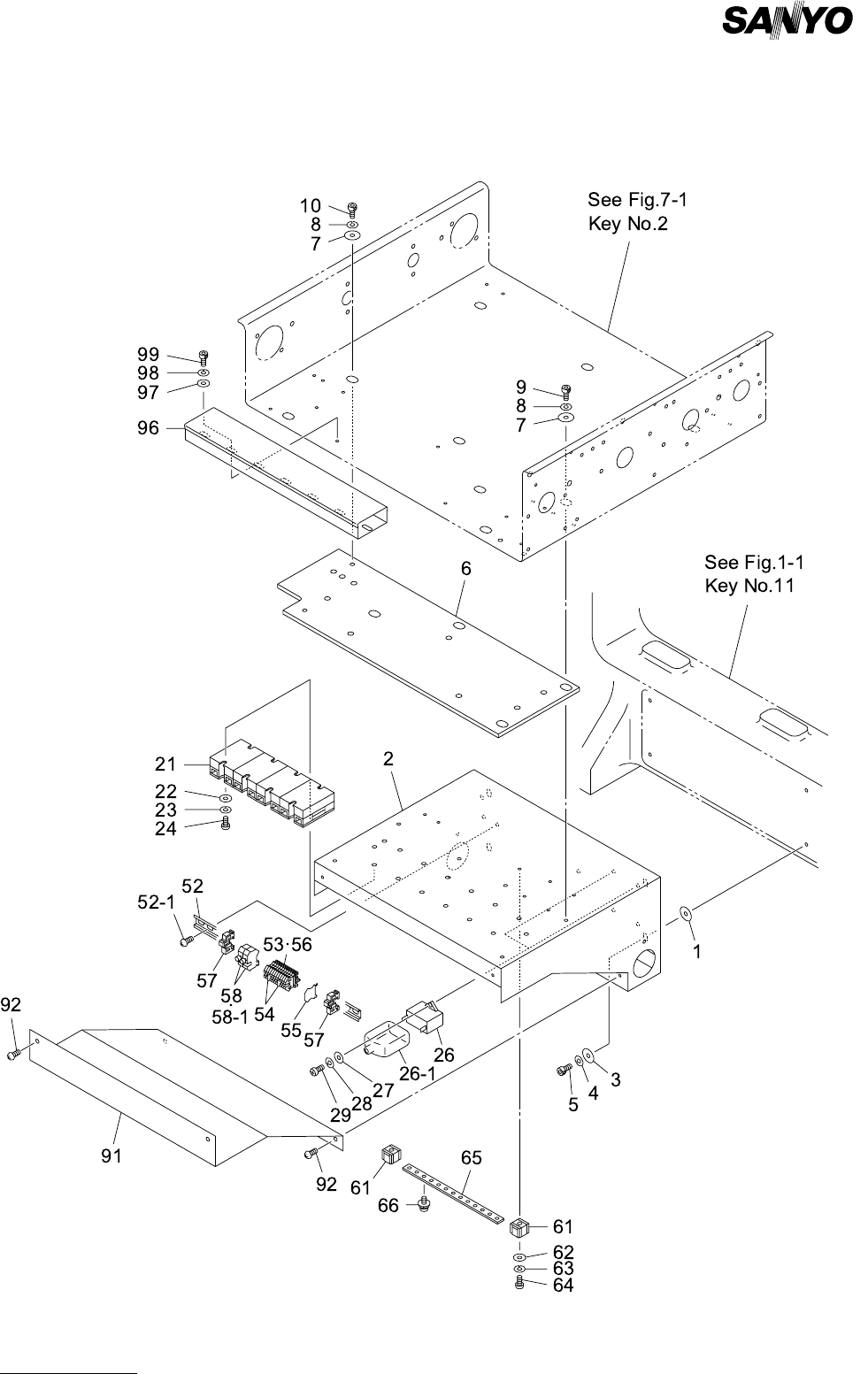
MODEL TCM-3700 9912-001 1 1-17 PART No. PART NAME Q'ty REMARK S 1 630 085 7702 BOX 1 739FB-01V-021 6 411 042 0703 SCR PAN 3X8 4 M3X8 PAN 10 411 140 8007 SCR T RS 5X6 2 M5X 6 TRS 21 630 085 7696 BOX 1 739FB-01V-020 2…

MODEL TCM-3700
9912-001
電気制御部 ELECTRICAL SECTION
Fig.11-17 前後工程 I / F 2 Previous/Next Work Process Interface-2

MODEL TCM-3700
9912-001
11-17
PART No. PART NAME Q'ty REMARKS
1 630 085 7702 BOX 1 739FB-01V-021
6 411 042 0703 SCR PAN 3X8 4 M3X8 PAN
10 411 140 8007 SCR TRS 5X6 2 M5X6 TRS
21 630 085 7696 BOX 1 739FB-01V-020
26 411 042 0703 SCR PAN 3X8 4 M3X8 PAN
30 411 140 8007 SCR TRS 5X6 2 M5X6 TRS
Key No.
NOTE

MODEL TCM-3700
9912-001
電気制御部 ELECTRICAL SECTION
Fig.11-18 コンベア駆動回路L Conveyor Driver Circuit L