P-0138-001 - 第241页
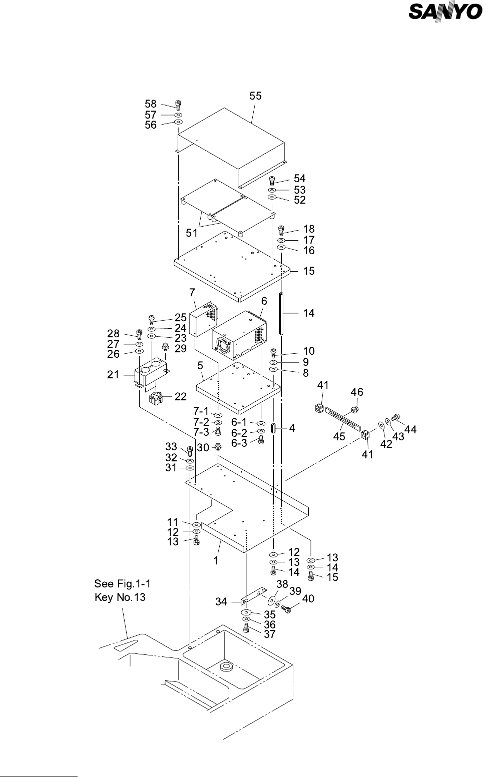
MODEL TCM-3700 9912-001 1 1-19 PART No. PART NAME Q'ty REMARK S 1 630 001 0237 W ASHER 4 739H--01H -025 2 630 084 4443 BRACKET (TB) 1 739H--01B-045 3 630 001 0220 W ASHER 4 BW 5 4 411 141 6705 W ASHER SPR 5 4 SW 5 5…

MODEL TCM-3700
9912-001
電気制御部 ELECTRICAL SECTION
Fig.11-19 コンベア駆動回路R Conveyor Driver Circuit R

MODEL TCM-3700
9912-001
11-19
PART No. PART NAME Q'ty REMARKS
1 630 001 0237 WASHER 4 739H--01H-025
2 630 084 4443 BRACKET(TB) 1 739H--01B-045
3 630 001 0220 WASHER 4 BW5
4 411 141 6705 WASHER SPR 5 4 SW5
5 630 000 7770 BOLT,HEX-SCT 4 M5X20
6 630 084 4467 PLATE 1 739H--01B-053
7 630 001 0237 WASHER 3 BW6
8 411 141 3001 WASHER SPR 6 3 SW6
9 630 000 7893 BOLT,HEX-SCT 2 M6X20
10 630 000 7886 BOLT,HEX-SCT 1 M6X16
21 630 049 1210 RELAY 4 739FD-01D-001
22 411 119 2104 WASHER V 4X9X0.8 8 FW4 F
23 411 008 1706 WASHER SPR 4 8 SW4 F
24 411 042 3001 SCR PAN 4X10 8 M4X10 PAN
27 411 119 2104 WASHER V 4X9X0.8 2 FW4 F
28 411 008 1706 WASHER SPR 4 2 SW4 F
29 411 113 1400 SCR PAN 4X6 2 M4X6 PAN
52 -1 411 051 1708 SCR TRS 4X6 2 M4X6 TRS
53 630 049 3801 TERMINAL 10 739FD-01D-008
54 630 049 3702 ACCESSORY,WIRING 2 739FD-01D-006
55 630 049 3733 ACCESSORY,WIRING 1 739FD-01D-005
57 630 049 3672 BRACKET,WIRING 2 739FD-01D-007
58 630 049 1173 FUSE HOLDER 2 739FD-01D-012
58 -1 423 022 8203 FUSE 250V 3.15A 2 739FD-01D-013
61 630 051 5763 WIRE PARTS 2 739FD-01D-020
62 411 119 2104 WASHER V 4X9X0.8 2 FW4 F
63 411 008 1706 WASHER SPR 4 2 SW4 F
64 411 042 3001 SCR PAN 4X10 2 M4X10 PAN
66 411 036 8609 SCR PAN+SW+W 5X12 9
91 630 084 4450 COVER(TB) 1 739H--01B-046
92 411 051 1708 SCR TRS 4X6 4 M4X6 TRS
97 411 119 2104 WASHER V 4X9X0.8 2 FW4 F
98 411 008 1706 WASHER SPR 4 2 SW4 F
99 411 043 5004 SCR PAN 4X8 2 M4X8 PAN
Key No.
NOTE

MODEL TCM-3700
9912-001
電気制御部 ELECTRICAL SECTION
Fig.11-20 機械廻り 3 (ベース上面部 2) Miscellaneous Parts-3