P-0138-001 - 第245页
MEMO

MODEL TCM-3700
9912-001
11-20
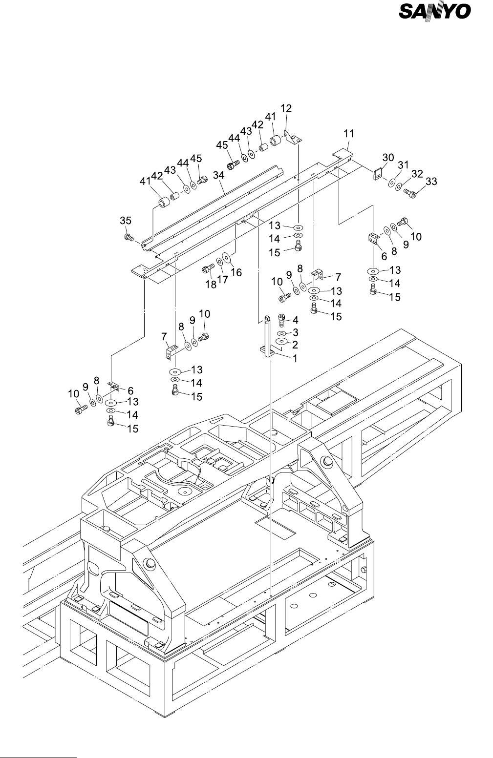
PART No. PART NAME Q'ty REMARKS
54 411 162 1604 SCR PAN 3X20 8 M3X20 PAN
55 630 085 2868 COVER 1 739DB-01V-904
56 411 141 4008 WASHER V 4X9X0.8 4 FW4
57 411 141 2905 WASHER SPR 4 4 SW4
58 630 000 7626 BOLT,HEX-SCT 4 M4X10
Key No.
NOTE

MEMO

MODEL TCM-3700
9912-001
カバー部 COVER SECTION
Fig.12-1 手すり Handrail