P-0138-001 - 第269页
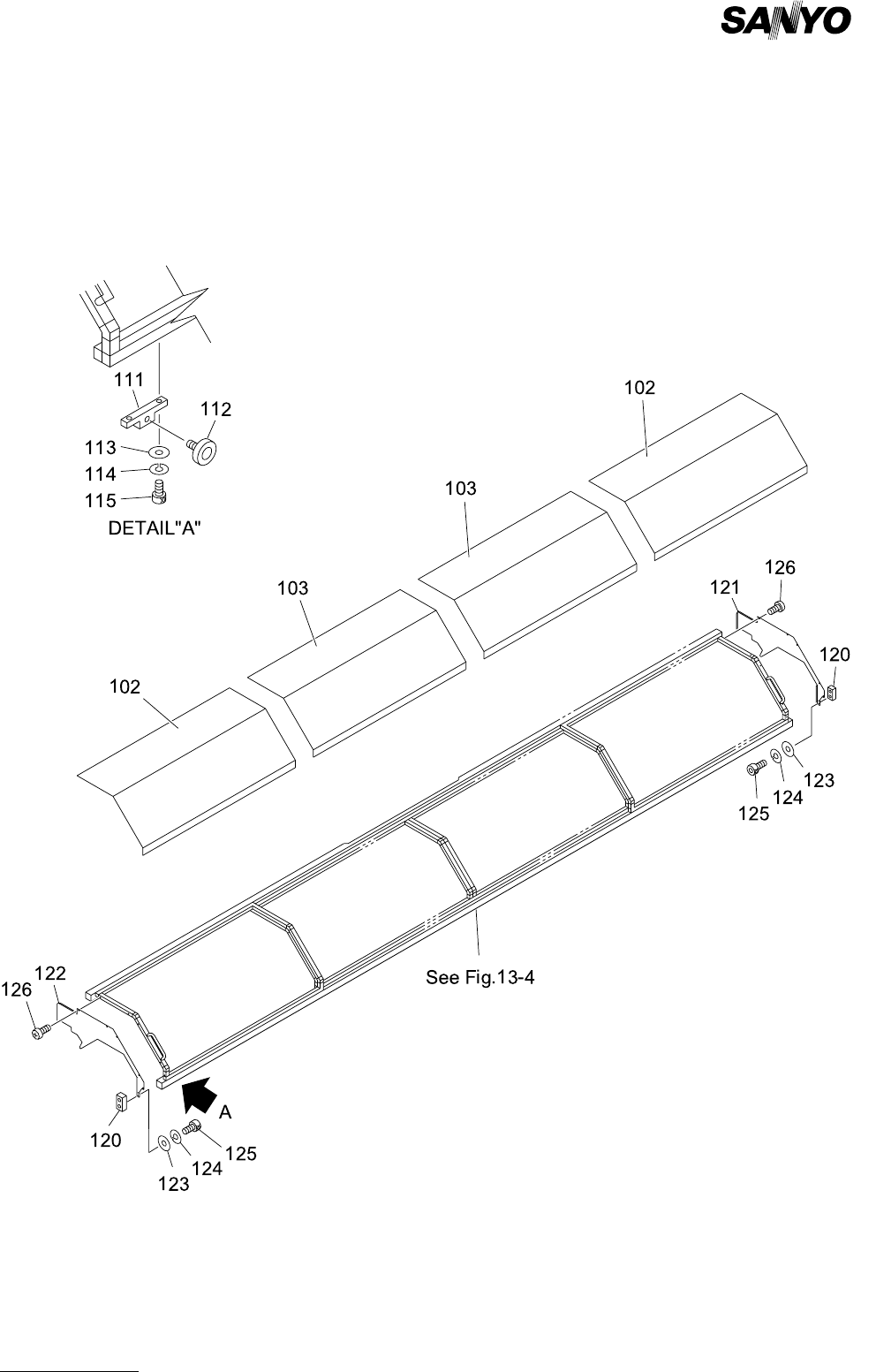
MODEL TCM-3700 9912-001 13- 3 PART No. PART NAME Q'ty REMARK S 102 630 057 66 72 COV ER 2 739R B-01B-044 103 630 057 66 96 COV ER 2 739R B-01B-045 111 630 057 66 65 BLOC K 6 739RB-01B -043 112 630 059 29 79 BEARING …

MODEL TCM-3700
9912-001
後面カバー部 REAR COVER SECTION
Fig.13-3 安全カバー Guard Cover

MODEL TCM-3700
9912-001
13- 3
PART No. PART NAME Q'ty REMARKS
102 630 057 6672 COVER 2 739RB-01B-044
103 630 057 6696 COVER 2 739RB-01B-045
111 630 057 6665 BLOCK 6 739RB-01B-043
112 630 059 2979 BEARING,RADIAL 6 739RB-01H-002
113 411 141 4008 WASHER V 4X9X0.8 12 FW4
114 411 141 2905 WASHER SPR 4 12 SW4
115 630 000 7633 BOLT,HEX-SCT 12 M4X12
120 630 059 9312 SUPPORT 2 739RB-01B-024
121 630 071 4272 PLATE 1 739RB-01B-023
122 630 071 4265 PLATE 1 739RB-01B-022
123 411 141 4008 WASHER V 4X9X0.8 4 FW4
124 411 141 2905 WASHER SPR 4 4 SW4
125 630 000 7626 BOLT,HEX-SCT 4 M4X10
126 411 113 9109 SCR TRS 5X10 10 M5X10 TRS
Key No.
NOTE

MODEL TCM-3700
9912-001
後面カバー部 REAR COVER SECTION
Fig.13-4 安全カバー枠 Guard Cover Frame