P-0138-001 - 第93页
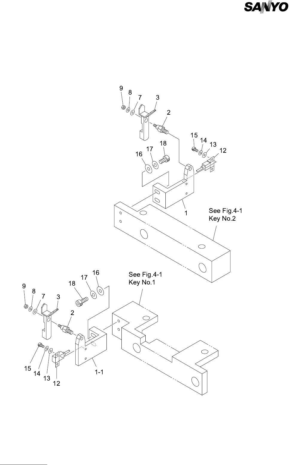
MODEL TCM-3700 9912-001 4- 6 PART No. PART NAME Q'ty REMARK S 1 630 064 5392 SUPPO RT 1 739E--01B-020 1 -1 630 064 5408 SUPPO RT 1 739E--01B-041 2 630 057 3572 PIN,HIN GE 2 739E--01B -029 3 630 069 6158 LEVER 2 739E…

MODEL TCM-3700
9912-001
中間ベース部 MIDDLE BASE SECTION
Fig. 4-6 カセットフック外れ検出部 Disengaged Feeder Hook Detector

MODEL TCM-3700
9912-001
4- 6
PART No. PART NAME Q'ty REMARKS
1 630 064 5392 SUPPORT 1 739E--01B-020
1 -1 630 064 5408 SUPPORT 1 739E--01B-041
2 630 057 3572 PIN,HINGE 2 739E--01B-029
3 630 069 6158 LEVER 2 739E--01B-028
7 411 141 4008 WASHER V 4X9X0.8 2 FW4
8 411 141 2905 WASHER SPR 4 2 SW4
9 411 141 0307 NUT HEX 4 2 M4
12 630 000 0290 SENSOR,PROXIMITY 2 739E--01H-002
13 411 141 3902 WASHER V 3X7X0.5 4 FW3
14 411 141 2806 WASHER SPR 3 4 SW3
15 630 000 7510 BOLT,HEX-SCT 4 M3X8
16 411 141 4107 WASHER V 5X10X1 4 FW5
17 411 141 6705 WASHER SPR 5 4 SW5
18 630 000 7770 BOLT,HEX-SCT 4 M5X20
Key No.
NOTE

MODEL TCM-3700
9912-001
中間ベース部 MIDDLE BASE SECTION
Fig. 4-7 シルエットテンプレート Silhouette Template