NXT 机械手册 QD029-29.pdf - 第179页
5. 基本操作 QD029-09 162 NXT 机械手册 1. 准备料盘单元 -M. 在料盘托架中装有料盘时请将此除去。 2. 请将料盘单元 -M 安装在料站托架的料槽上。 a. 请将料盘单元 -M 安装在料槽 35 上。 b. 安装前,在抬起夹紧手柄的状态下固定。 警告 在搬运料盘单元 -M 时请 2 个操作员进行。此时,请紧紧地握住左右的手 柄。料盘单元 -M 落下后会使机器损坏或者受伤。 在料盘单元 -M 和料站托架之间请不要随…

QD029-09 5. 基本操作
NXT 机械手册 161
5.10.2 安装方法
安装料盘时,有必要事前进行以下的操作。
a. 单侧搭载时 : 请将对应于料带处理切刀的输送槽更换掉。详细请参考 「5.10.5 对应
料但愿 -M 的输送槽的设置」。
b. 两侧搭载时 : 请将对应于料带处理切刀的输送槽的盖罩更换掉。(两侧搭载当前不对
应)。
备注 ) 在单侧搭载时,仅仅可以搭载在位置 B 上。
此外,在此的料盘单元 -M 的安装操作请在拉出模组的状态下开始。
注意
在内部搭载料盘的状态下,请不要移动料盘单元 -M、进行在模组上的安
装 / 拆卸。有可能使元件偏移或者从料盘中飞出来。
即使在将料站托架上的料盘单元 -M 使用 PCU 进行搬运时,也有可能使机
器受损。
进行在料盘单元 -M 的模组的安装 / 拆卸请在不要对机器有冲击的状态下
进行。机器有可能受损。
进行在料盘单元 -M 安装 / 拆除时,请在停止机器的状态下进行。在自动
运转中进行时,有可能使机器受损。
安装料盘单元 -M 后进行运转时,有必要将元件相机设定在模组的中央。

5. 基本操作 QD029-09
162 NXT 机械手册
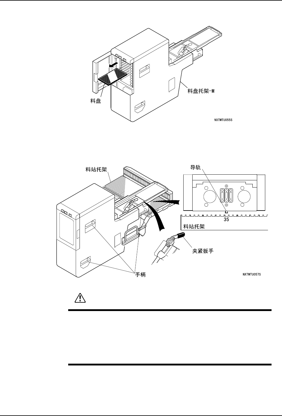
1. 准备料盘单元 -M. 在料盘托架中装有料盘时请将此除去。
2. 请将料盘单元 -M 安装在料站托架的料槽上。
a. 请将料盘单元 -M 安装在料槽 35 上。
b. 安装前,在抬起夹紧手柄的状态下固定。
警告
在搬运料盘单元 -M 时请 2 个操作员进行。此时,请紧紧地握住左右的手
柄。料盘单元 -M 落下后会使机器损坏或者受伤。
在料盘单元 -M 和料站托架之间请不要随意地将手靠近。手指有可能被夹
住受伤。

QD029-09 5. 基本操作
NXT 机械手册 163
3. 维持原样将料盘单元 -M 水平推进去。请将料盘单元 -M 的通信接插头确实地紧紧插入到
机器侧的接插头中。
4. 请按下夹紧扳手,将料盘单元 -M 固定到料站托架上。
5. 双侧搭载时。请按同样的步骤在位置 A 侧安装料盘单元 -M。料盘单元 -M 的导轨插入到料
槽10中。
以上结束了料盘单元 -M 的安装。
备注 ) 料盘单元 -M 的拆除使用专用的台车 (研发中)也可以进行。