NXT 机械手册 QD029-29.pdf - 第271页

7. 消耗品的更换 QD029-09 254 NXT 机械手册 〈H08 工作头〉 〈H12(S) 工作头〉

100%1 / 424
QD029-09 7. 消耗品的更换
NXT 机械手册 253
〈H01 工作头〉
〈H04 工作头〉
7. 消耗品的更换 QD029-09
254 NXT 机械手册
〈H08 工作头〉
〈H12(S) 工作头〉
QD029-09 7. 消耗品的更换
NXT 机械手册 255
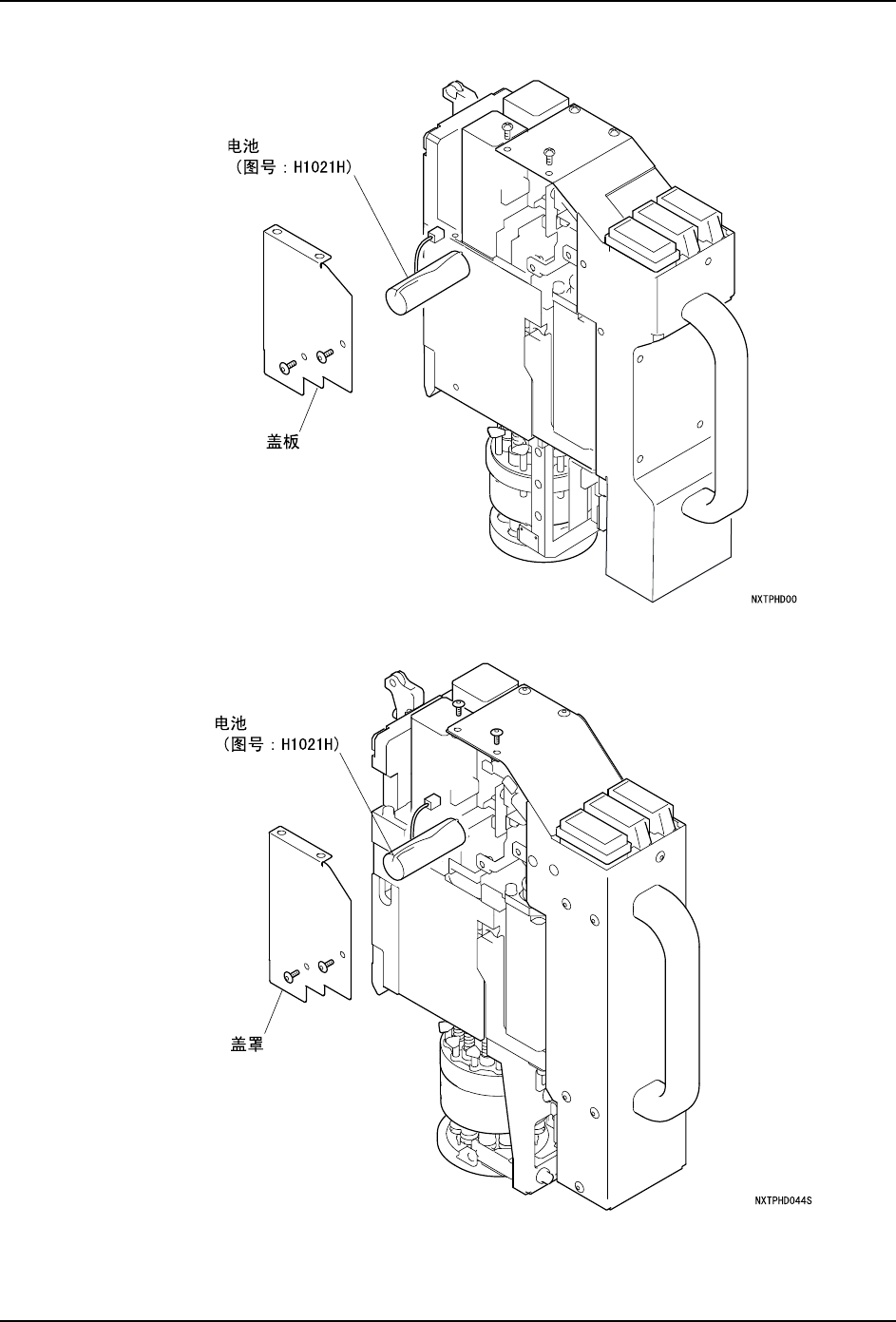
7.6 模组 CPU 箱电池
机器在即使主电源开关处于 OFF 时,也可以根据 CPU 箱内存的电池保持以下的信息。但是,
电池在已经消耗的情况下,如果将机器的主电源开关处于 OFF 时,这些信息会消失。
a. 各种固有值
·矩阵数据 ·料站倾斜数据 ·自动校正结果
b. 模组功能设定值
c. 生产电路板信息
·生产 Job ·生产信息 ·Profiler 信息 ·生产结束顺序信息
为了保持信息,请必须在进行准备操作后更换电池。
7.6.1 更换时期
电池报警时。
7.6.2 准备操作
1. 请确认是否有收存料站数据、料站倾斜数据的软盘。这个软盘在购买机器时被附加。
有软盘时,有必要进行以下 0 的操作。
a. 请将模组的矩阵测定数据保存到 PC 中。详细请参考 NXT 系统手册的「7.11.8 矩阵测
定数据的管理」
b. 请获取模组的料站倾斜测定数据。料站倾斜测定数据在手动模式的信息指令上可以确
认。
2. 请获取模组的功能设定的内容。模组功能设定的内容在附加软件上可以确认。详细请参
NXT 系统手册的 「7.11.3 模组单位的功能设定」
接下来,请进行以下的操作。
1. 请从贴装工作头上拆下吸嘴。
2. 如果在机器内有电路板的话,请将其除去
3. 请将与贴装工作头对应的治具安装在吸嘴更换器上。治具吸嘴的数量与吸嘴头的数量相
一致。
4. 请准备更换用电池、控制电源用的内存电 (电阻值 :1M Ω以上)用的腕带。