NXT 机械手册 QD029-29.pdf - 第279页
7. 消耗品的更换 QD029-09 262 NXT 机械手册 7.8 吸嘴置放台萤光粘纸 7.8.1 更换时期 在确认有无吸嘴中发生错误时。 7.8.2 更换方法 参考 「5.8 吸嘴置放台的拆除 / 安装」 ,将吸嘴置放台从吸嘴更换器 上拆下。请根据 不同型 号按下述步骤,贴换萤光粘纸。 <H01 类型 > 请直接贴换荧光粘纸。 <H04 类型 > 请直接贴换荧光粘纸。

QD029-09 7. 消耗品的更换
NXT 机械手册 261
7.7.4 更换后的各种设定
电池更换后有必要进行基座的网络设定。将主电源开关 ON 后,请进行以下的操作。
1. 使用软件的工具 「NEtworkSetting」进行网络的设定。详细内容请参考 NXT 系统手册
「8.3 NEtworkSetting 的使用」或者 「8.8 TcpIpSEtting 的使用」。
2. 重新启动机器后,网络的设定有效。

7. 消耗品的更换 QD029-09
262 NXT 机械手册
7.8 吸嘴置放台萤光粘纸
7.8.1 更换时期
在确认有无吸嘴中发生错误时。
7.8.2 更换方法
参考 「5.8 吸嘴置放台的拆除 / 安装」,将吸嘴置放台从吸嘴更换器上拆下。请根据不同型
号按下述步骤,贴换萤光粘纸。
<H01 类型 >
请直接贴换荧光粘纸。
<H04 类型 >
请直接贴换荧光粘纸。

QD029-09 7. 消耗品的更换
NXT 机械手册 263
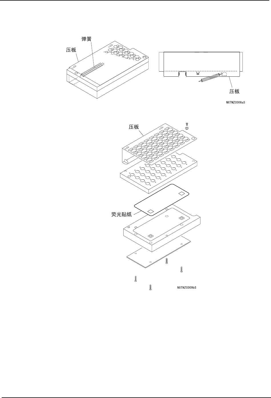
<H08/H12(S) 类型 >
1. 拆下吸嘴置放台下部的弹簧。
2. 取下压板,更换荧光贴纸。