NXT 机械手册 QD029-29.pdf - 第303页
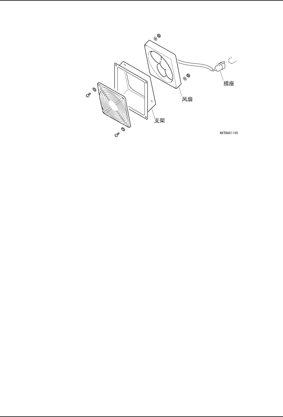
7. 消耗品的更换 QD029-09 286 NXT 机械手册 4. 拆下插座后与风扇一起从模组中取出, 拧下螺丝 (2 根 ) , 将冷却风扇从支架中取出进行 更换。

QD029-09 7. 消耗品的更换
NXT 机械手册 285
7.13 冷却风扇
7.13.1 模组用风扇
1. 将主电源开关 OFF,切断机器的电源。
2. 拧下螺丝 (4 根 ), 卸下 模组背面的盖板。
3. 拧下螺丝 (2 根 ),将冷却风扇的安装支架从模组背面卸下。
警告
更换作业请必须在切断电源后进行。

7. 消耗品的更换 QD029-09
286 NXT 机械手册
4. 拆下插座后与风扇一起从模组中取出, 拧下螺丝 (2 根 ), 将冷却风扇从支架中取出进行
更换。

QD029-09 7. 消耗品的更换
NXT 机械手册 287
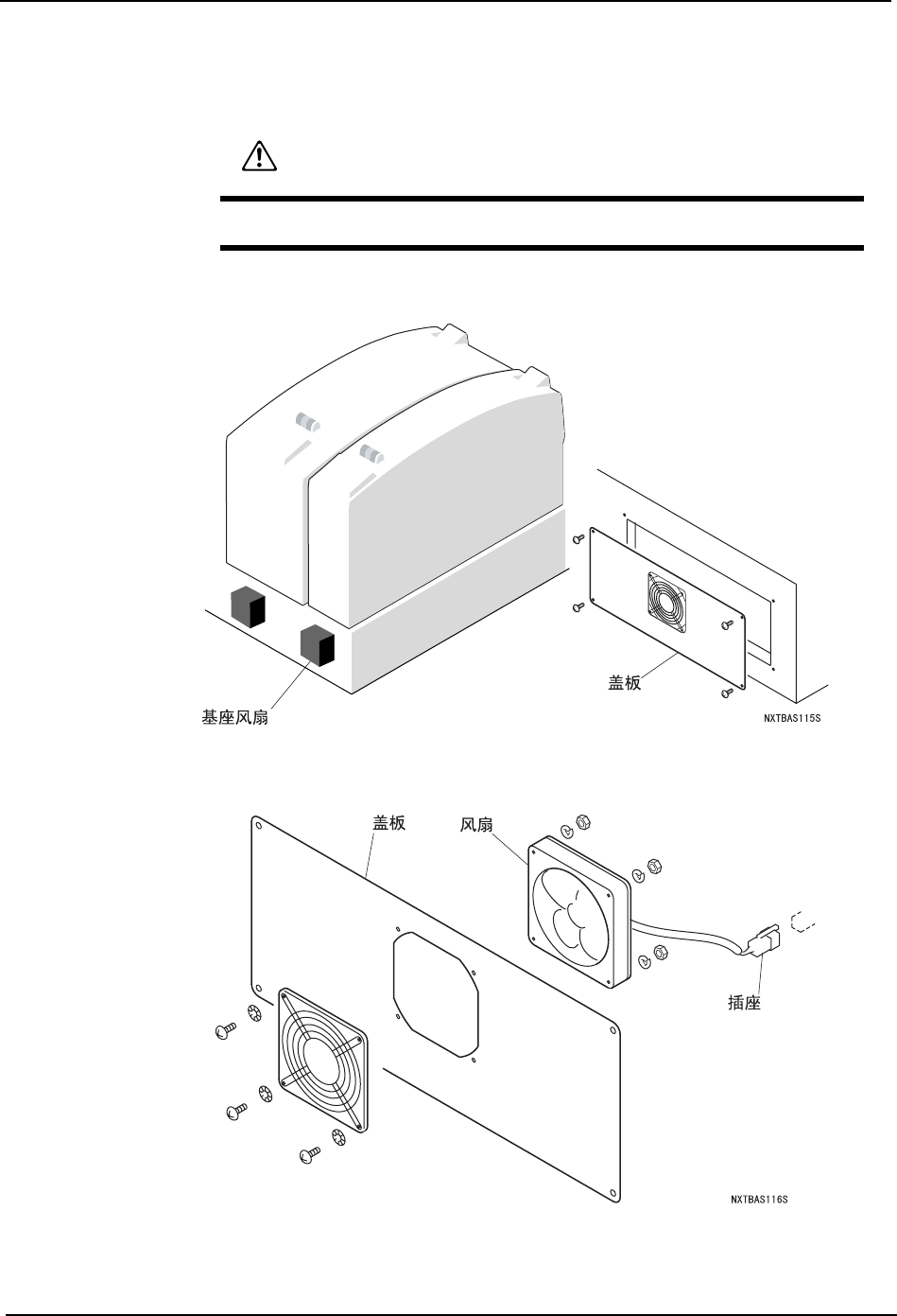
7.13.2 基座用风扇
1. 将主电源开关 OFF,切断机器的电源。
2. 拧下螺丝 (4 根 ), 卸下 模组背面的盖板。
3. 拆下插座后将风扇与盖板一起从机座中卸下, 拧下螺丝 (4 根 ), 将风扇从盖板中取出进
行更换。
警告
更换作业请必须在切断电源后进行。