NXT 机械手册 QD029-29.pdf - 第371页
8. 部件的更换 QD029-09 354 NXT 机械手册 3. 确认真空泵控制箱的位置, 拆除连接在控制箱支架上的插头 (MSICN1、 MSICN2、 MSICN3)。 4. 拆除固定真空控制箱的螺栓 (2 根 )。 5. 从基座中取出控制箱。 6. 以拆除新的真空控制箱的相反的步骤安 装模组主体。

QD029-09 8. 部件的更换
NXT 机械手册 353
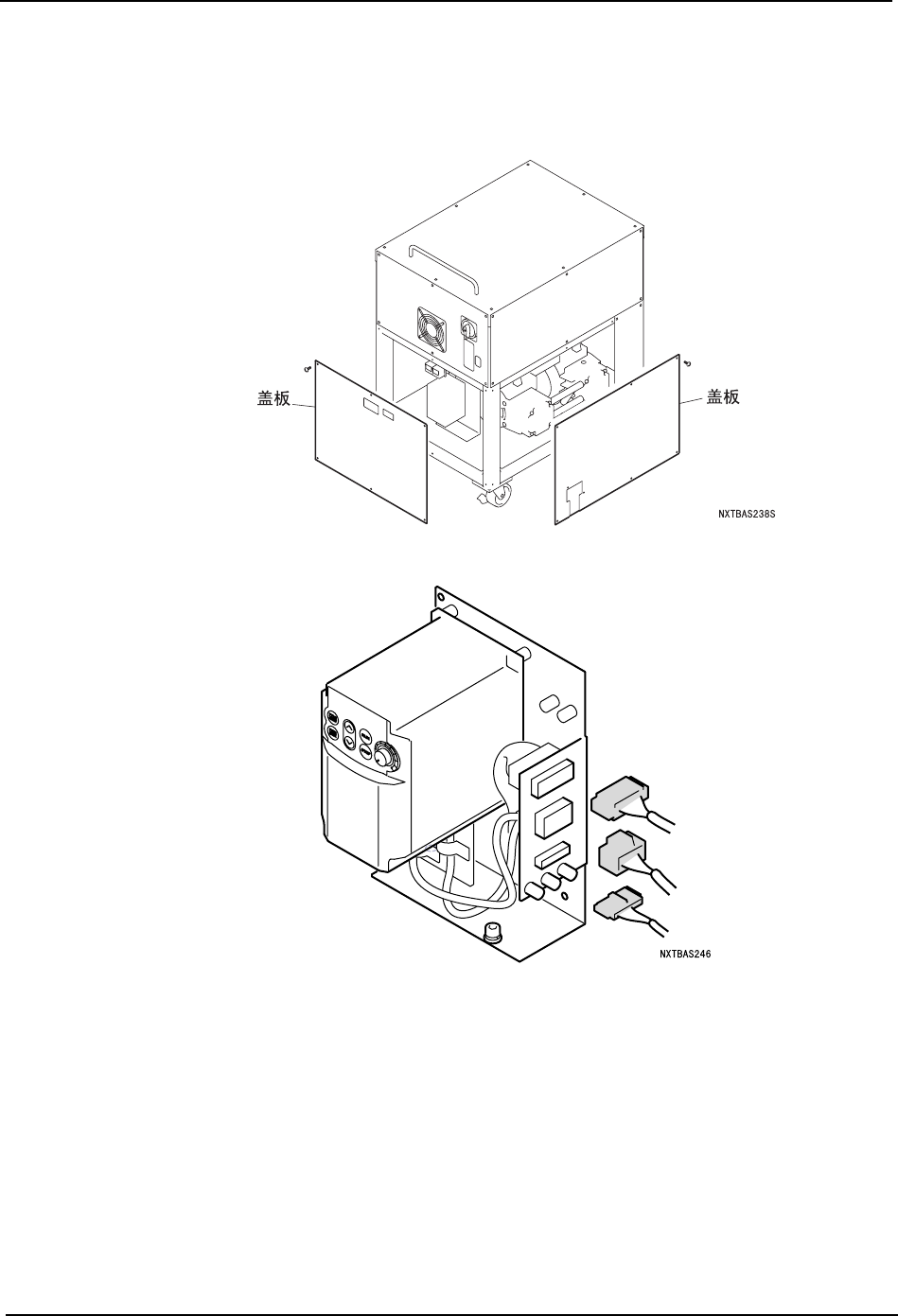
8.13 真空泵控制箱的更换
8.13.1 8M 基座 /4M 基座
1. 将主电源开关 OFF,切断机器的电源。
2. 拆下螺丝 (4 根 ),取下盖板。
警告
·在进行更换操作时,请务必在切断电源后进行。
·在进行更换模组伺服箱的操作时,请注意使其他的操作者不要进行插入
模组的操作。有手指被夹住而切断的危险。
注意
·连接电缆的插接,请握住插头不要拉电缆。
·取出伺服箱时,请注意不要强行拉出电缆。
·在连接插头时,请确认插头名称注意不要错误。
·安装伺服箱时,请注意不要夹住电缆。

8. 部件的更换 QD029-09
354 NXT 机械手册
3. 确认真空泵控制箱的位置,拆除连接在控制箱支架上的插头 (MSICN1、MSICN2、MSICN3)。
4. 拆除固定真空控制箱的螺栓 (2 根 )。
5. 从基座中取出控制箱。
6. 以拆除新的真空控制箱的相反的步骤安装模组主体。

QD029-09 8. 部件的更换
NXT 机械手册 355
8.13.2 外接控制箱
1. 将主电源开关 OFF,切断机器的电源。
2. 取下盖板。
3. 确认真空泵控制箱的位置,拆除连接在控制箱支架上的插头 (MSICN1、MSICN2、MSICN3)。