5OM-1840-001w_F8S - 第153页
5OM-1840 4-1-46 1604-001 Head U02 IO PCB Section IN OUT INPUT DA TA 0 INPUT DA TA 1 INPUT DA TA 2 INPUT DA TA 5 INPUT DA TA 4 INPUT DA TA 3 COMMAND 0 INPUT DA TA 7 INPUT DA TA 6 COMMAND 3 COMMAND 2 COMMAND 1 RESET READY …

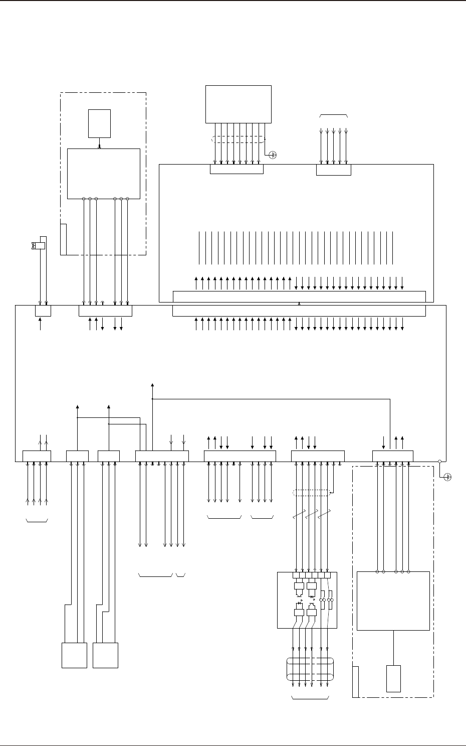
5OM-1840
4-1-45
1604-001
Servo Motor Section
A31
DC24V
Power for Control Circuit
Power for Main Circuit
DC48V
U02(CN1)
[B1-2B]:(Rear)
[B3-2B]
SSCNET
Servo Motor AMP
[B1-2B]:(Rear)
3
M
MRR
P5G
MR
P5
U
SSG
DD
M31
V
W
E
B1
B2
MDR
SHD
MD
B2_C
[B1-4B]:(Front)
[B1-4B]:(Front)
SSCNET
[B1-2B]:(Rear)
N.C.(Front)
B1_C
B2_D
B1_D
1
2
3
4
5
6
7
X314B
CN4B
1
2
3
4
5
6
7
X314D
CN4D
1
2
3
4
5
6
7
X314C
CN4C
1
2
3
X3103
CN3
24A P24I
DI1
DI2
DI3
DO1
DO2
SGI
P24I
DI1
DI2
DI3
DO1
DO2
SGI
P24I
DI1
DI2
DI3
DO1
DO2
SGI
DICOM
EMG
DOCOM
A31
1
5
7
13
X3105
3
CN5
PA1
PAR1
PB1
PBR1
GND
:1
:2
:3
:4
:8
LINE SENSOR(CN5)
[B3-6C]
U03
2B
1A
2A
1B
3A
3B
4A
4B
1A
1B
5A
2A
2B
CNP2A
X31P2A
X312A
CN2A
3
M
SSG
NS
M32
X31P2B
X312B
3
M
SSG
NL
M33
X31P2D
X312D
1A
1B
2A
4B
5A
5B
6A
6B
P48M
P48G
1
2
1
2
P24M
P24G
1
2
3
4
X31P3
CNP3
10
48D3
10D
CN1B
X311B
CN1A
X311A
CNP1
X31P1
X0201:8
X131P1:A2
X131P1:A1
X0201:7
:6
X0201
:1
:5
:2
HEAD ILB(CN1)
[B3-2B]
U02
MRR
P5G
MR
P5
U
V
W
E
B1
B2
MDR
SHD
MD
2B
1A
2A
1B
3A
3B
4A
4B
1A
1B
5A
2A
2B
CNP2B
CN2B
MRR
P5G
MR
P5
U
V
W
E
B1
B2
MDR
SHD
MD
2B
1A
2A
1B
3A
3B
4A
4B
1A
1B
5A
2A
2B
CNP2C
CN2C
MRR
P5G
MR
P5
U
V
W
E
B1
B2
MDR
SHD
MD
2B
1A
2A
1B
3A
3B
4A
4B
1A
1B
5A
2A
2B
CNP2D
CN2C
X0305
16
SD

5OM-1840
4-1-46
1604-001
Head U02 IO PCB Section
IN
OUT
INPUT DATA 0
INPUT DATA 1
INPUT DATA 2
INPUT DATA 5
INPUT DATA 4
INPUT DATA 3
COMMAND 0
INPUT DATA 7
INPUT DATA 6
COMMAND 3
COMMAND 2
COMMAND 1
RESET
READY
SYNC
OUTPUT DATA 1
OUTPUT DATA 0
OUTPUT DATA 2
OUTPUT DATA 3
OUTPUT DATA 7
OUTPUT DATA 6
OUTPUT DATA 4
OUTPUT DATA 5
OUTPUT DATA 11
OUTPUT DATA 10
OUTPUT DATA 8
OUTPUT DATA 9
RESERVED
STROBE
User Input1
D15
D12
D13
D14
D9
D10
D11
D6
D7
D8
D3
D4
D5
D2
D1
D0
D0
D1
D2
D5
D4
D3
D8
D7
D6
D11
D10
D9
D14
D13
D12
D15
LINE SENSOR AMP
U03
COMMAND 4
User Input2
11
12
13
14
15
16
17
18
19
21
22
23
24
25
26
20
27
28
1
2
3
4
5
6
7
8
9
10
29
30
31
32
33
34
35
36
37
38
39
40
CN1
GND1
GND1
GND2
24V_1
24V_1
A
B
CN5
A+
X0305
1
2
3
4
GND
8
A-
B+
B-
:1
:3
:5
:7
:13
SERVO MOTOR AMP(CN5)
[B2-4C]
A31
1
2
3
24V(B)
24V(B)
TX-
DO10_OUT
11
12
13
14
15
16
17
18
19
21
22
23
24
25
26
20
27
28
1
2
3
4
5
6
7
8
9
10
1
2
3
NS_IN
X1
CN1
CN6
29
30
31
32
33
34
35
36
37
38
39
40
24V(B)
L_DI15
24V(B)
L_DI14
L_DI13
L_DI12
L_DI11
L_DI10
L_DI09
L_DI08
L_DI07
L_DI06
L_DI05
L_DI04
L_DI03
L_DI02
L_DI01
L_DI00
L_DO15
L_DO14
L_DO13
L_DO12
L_DO11
L_DO10
L_DO09
L_DO08
L_DO07
L_DO06
L_DO05
L_DO04
L_DO03
L_DO02
L_DO01
L_DO00
A
B
TX+
DI08_IN
DO09_OUT
1
2
3
4
5
6
24V(B)
DI06_IN
DO08_OUT
DI07_IN
1
DO07_OUT
2
24V(A)
Air Blow
CN5
CN2
CN8
CN9
UP_RXD_0(+)
UP_RXD_0(-)
UP_TXD_0(+)
UP_TXD_0(-)
TX+
TX-
HEAD_IL_OUT
CN4
CN3
1
2
3
4
6
5
7
8
S_TXD(+)
S_TXD(-)
S_RXD(+)
S_RXD(-)
1
2
3
4
(UC17)
24V(A)
24A
24A6
Nozle Select Position Detection
(+)
(-)
OUT1
OUT2
BL
BK
W
BR
Nozle Up/Down Interlock
(+)
(-)
OUT1
OUT2
BL
BK
W
BR
B0206
B0210
X10422
X10421
:1
:2
:3
:4
:2
:1
X3701
BK
R
Y
O
BL
GR
[B4-3B]
In the Center Shaft
5
3
6
4
2
1
J1
Slip Rings
PT
PT
PT
PT
U37
U04 (UC22)
TP2
TP1
TP9
TP8
TP7
TP6
GND1
GND1
SENSOR AMP
GND
Light Stop
Zero Shift Input
TX+
TX-
V+
Blue
Purple
Pink
Black
White
Brawn
SENSOR HEAD
B309
B309
GS-IH100
GND
+V
Outside Tuning
Control Output
Stability Output
Pink
Blue
Black
Brown
Orange
GND1
GS-IB100
GND1
GND1
GND2
FG
FG
FG
GND2
GND1
GND1
GND1
24V(A)
OUT
IN
7
8
9
10
1
2
3
4
5
6
[B1-2B]
[B1-4B]
10
10
BK
R
Y0902
U02
HEAD ILB
X0206
X02X1
X0201
X0202
X0203
X0204
X0205
X0208
A31
X314B/X314D
[B2-4BC]
:4
:4
IO
:A1
:B1
:A2
:B2
:C1
:C2
:D2
[B1-2C]
X102X1
:B3
:B1
:B4
:B2
NC
24V(B)
24V(A)
GND1
GND1
5
6
7
8
4
:7
:1
:6B
:6A
1
2
3
5
6
7
4
Height until PCB
Sensor AMP
B308
Bad Mark Detection
Sensor Head
B308
A31 X31P1
[B2-1B]
X314B
X314D
X314B
X314B
:D1
GND2
1
2
3
24V(B)
DI02_IN
CN10
GND1
X0206
[B1-4C]
[B1-2C]
[B1-4C]
X31P1
X31P1
:A5
SENSOR HEAD(R)
X0302
CN2
B0413
8
GND
7
START
6
CK3
5
CK2
4
CK1
3
DOS
2
OS
1
+12V
DI04_IN
24V(B)
Detection

5OM-1840
4-1-47
1604-001
Valve U04 IO PCB Section
(Slip Rings)
U37
U04
I/O P.C.B (STLT_HD)
(HEAD)
2 1
-X0415
X10421:1
X10421:2
[B3-1C]
(UC22)
R
BK
TP1
TP2
TP3
TP5
TP4
TP6
TP7
TP8
TP9
GND
IN
DC5V
B0413T
Y
W
PK
B0413T
:2
:1
:3
SENSOR HEAD (T)
BR
W
V
(Slip Rings)
U37
[B3-1C]
X10422:1
X10422:2
X10422:3
X10422:4
O
Y
GR
BL
2 1
-X0414
2 1
-X0413
2 1
-X0412
2 1
-X0411
2 1
-X0410
2 1
-X0409
2 1
-X0408
2 1
-X0407
2 1
-X0406
2 1
-X0405
2 1
-X0404
2 1
-X0403
2 1
-X0402
2 1
-X0401
CN1
CN2
CN3
CN4
CN5
CN6
CN7
CN8
CN9
CN10
CN11
CN12
CN13
CN14
CN15
Y0415
Y0414
Y0413
Y0412
Y0411
Y0410
Y0409
Y0408
Y0407
Y0406
Y0405
Y0404
Y0403
Y0402
Y0401