5OM-1840-001w_F8S - 第70页
5OM-1840 Pneumatic and Mounting Diagrams 1-1-13 1604-001 Head Unit (Pneumatic Diagram) Fitting ( KQ2L08-00 ) A V P Fitting ( KQ2L04-M5 ) Rotary Joint ( MQR2-01-X154 ) Filter 2 3 4 5 6 1 Fitting ( KQ2L08-01S ) 870mm 830mm…

5OM-1840
Pneumatic and Mounting Diagrams
1-1-12
1604-001
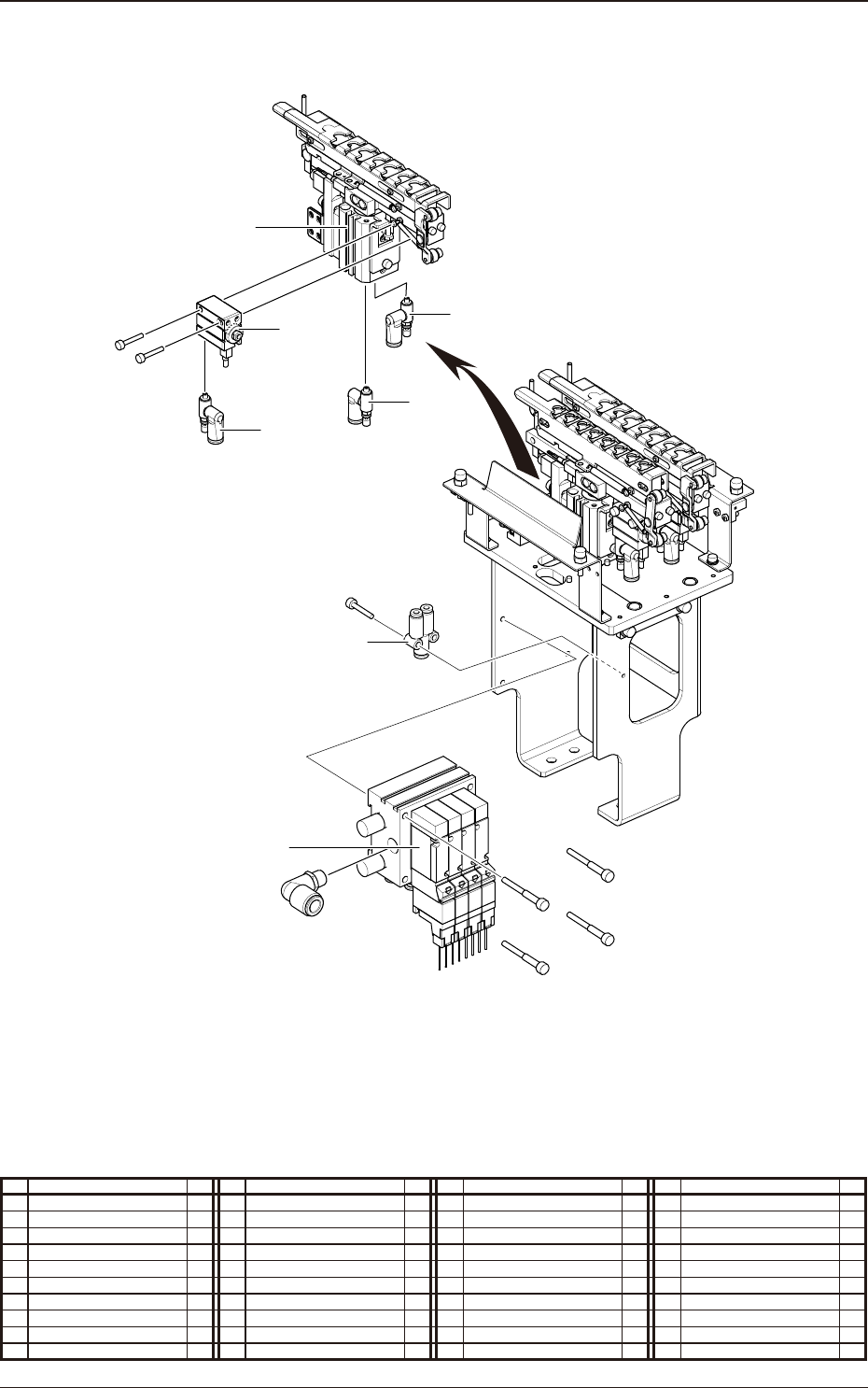
Nozzle Stocker (Mounting Diagram)
6
5
7
8
9
7
4
No. Name Q’ty No. Name Q’ty No. Name Q’ty No. Name Q’ty
4 Solenoid Valve 1
5 Cylinder 2
6 Cylinder 2
7 Speed Controller 2
8 Speed Controller 1
9 Union Y 1

5OM-1840
Pneumatic and Mounting Diagrams
1-1-13
1604-001
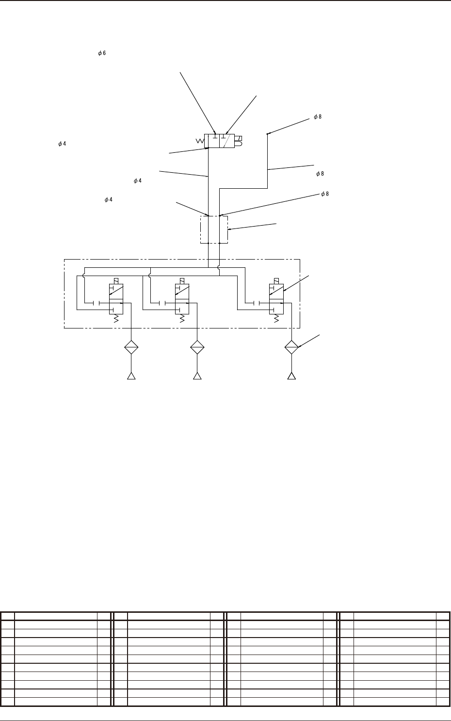
Head Unit (Pneumatic Diagram)
Fitting(KQ2L08-00)
A
V
P
Fitting(KQ2L04-M5)
Rotary Joint(MQR2-01-X154)
Filter
2
3
4
5
6
1
Fitting(KQ2L08-01S)
870mm
830mm
A
V
P
A
R
P
Head
Nozzle 1 Nozzle 15
Valve(VQD1121-5G-X88D)
Nozzle 2
A
V
P
Fitting
High-Speed Head:(KQ2H06-M5)
High-Speed Multi-Purpose Head:(KQ2H06-M5A)
Fitting
High-Speed Head:(KQ2L04-M5)
High-Speed Multi-Purpose Head:(KQ2L04-M5A)
Valve(VQ110U-5L-M5)
No. Name Q’ty No. Name Q’ty No. Name Q’ty No. Name Q’ty
1 Tube
φ
4 1
2 Tube
φ
8 1
3 Solenoid Valve 1
4 Rotary Joint 1
5 Solenoid Valve 15
6 Filter 15

5OM-1840
Pneumatic and Mounting Diagrams
1-1-14
1604-001
Head Unit (Mounting Diagram)
3
4
5
6
No. Name Q’ty No. Name Q’ty No. Name Q’ty No. Name Q’ty
3 Solenoid Valve 1
4 Rotary Joint 1
5 Solenoid Valve 15
6 Filter 15