KE-3010_KE-3020V_KE-3020VR-Rev04.pdf - 第167页
- - REF.NO N O TE PART N O D E S C R I P T I O N Qty 1 40 0-7144 8 F PI 3 0 20 F R O NT ASSY 1 2 40 0-9486 6 F PI_ASSY_ F (1) 3 40 0-9486 8 F PI_BRACKET_ B (1) 4 40 0-9486 9 F PI_COVER _ B (1) 5 SM -6030402-TN SCREW M3…

- -
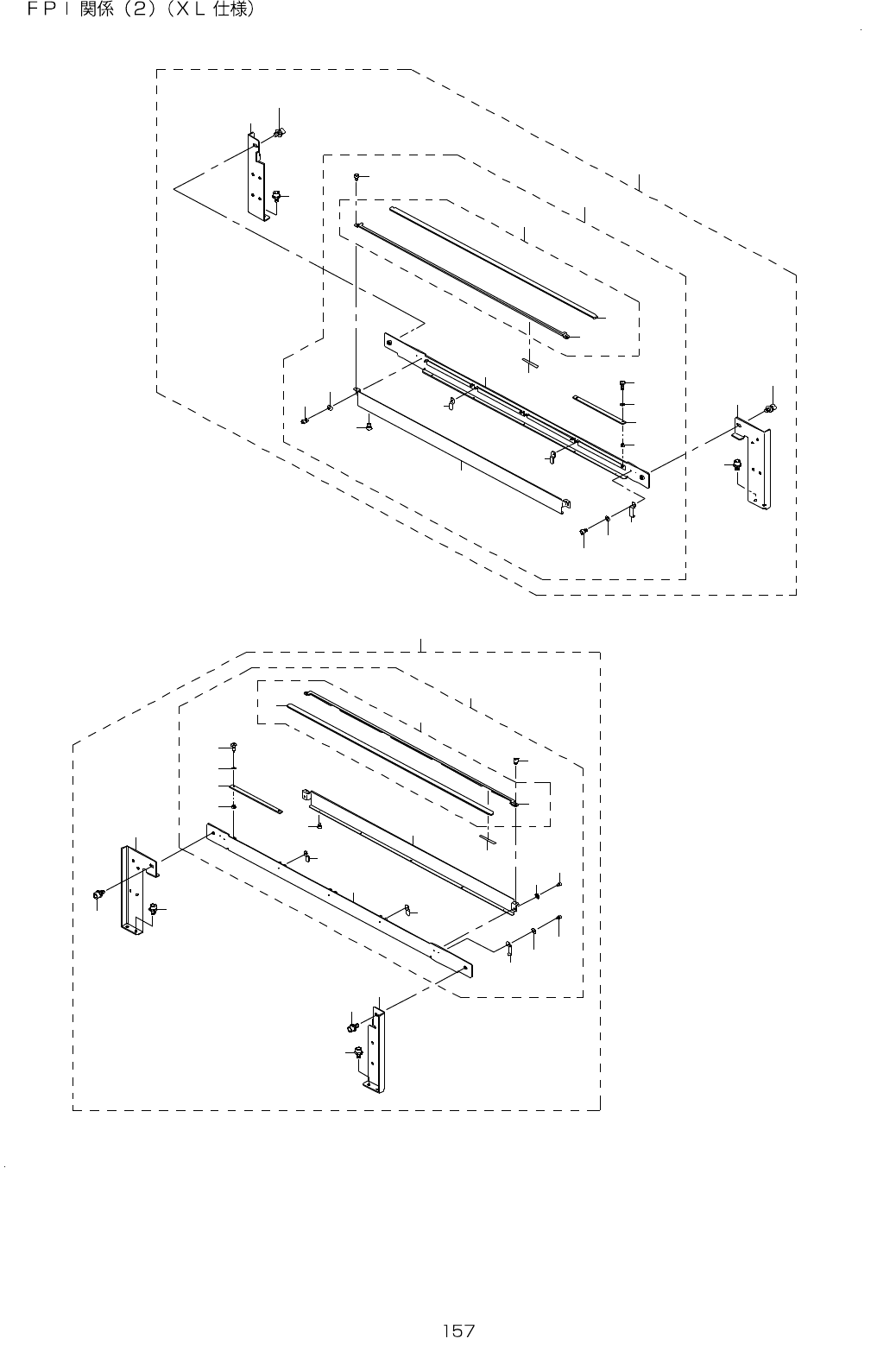
79.FPI COMPONENTS(2)(TYPE XL)
4
5
5
6
7
8
9
1 2
1 3
1 4
1 5
1 6
1 8
3
2
2 2
2 1
2 1
3 3
3 4
3 2
3 8
3 9
4 0
2 5
3 6
2 6
2 7
2 8
2 9
3 1
3 5
4 2
4 4
4 3
4 4
2 5
2 4
2 3
3 7
1
1 7
1 1
2 0
2 1
2 1
4 4
4 4
1 0
1 9
1 0
3 0
3 0
4 1

- -
REF.NO NOTE PART NO D E S C R I P T I O N Qty
1 400-71448 FPI 3020 FRONT ASSY 1
2 400-94866 FPI_ASSY_F (1)
3 400-94868 FPI_BRACKET_B (1)
4 400-94869 FPI_COVER_B (1)
5 SM-6030402-TN SCREW M3X4 (7)
6 E6025-729-0A0 FPI COVER U 20 ASM. (1)
7 E6025-729-000 FPI COVER U 20 (1)
8 E6028-729-000 FPI PLATE 20 (1)
9 SM-6030402-TN SCREW M3X4 (2)
10 400-94870 HARNESS_CLAMP_A (2)
11 SM-6030402-TN SCREW M3X4 (4)
12 E8626-729-0A0 FPI LED BOARD ASM. (4)
13 SM-5030801-SC SCREW M3X0.5 L=8 (8)
14 E2143-715-000 TIMER SPACER A (8)
15 E4901-760-000 POLY SLIDER THRUST WASHER (8)
16 WP-0320501-SC WASHER M3 (2)
17 WP-0320501-SC WASHER M3 (4)
18 E6033-729-000 FPI INSULATION SHEET (0.2)
19 400-94871 HARNESS_CLAMP_B (2)
20 400-94872 FPI_SIDE_BRACKET_L (1)
21 SL-6061292-TN SCREW (6)
22 400-94873 FPI_SIDE_BRACKET_R (1)
23 400-71449 FPI 3020 REAR ASSY 1
24 400-94867 FPI_ASSY_R (1)
25 SM-6030402-TN SCREW M3X4 (7)
26 E6025-729-0A0 FPI COVER U 20 ASM. (1)
27 E6025-729-000 FPI COVER U 20 (1)
28 E6028-729-000 FPI PLATE 20 (1)
29 SM-6030402-TN SCREW M3X4 (2)
30 400-94870 HARNESS_CLAMP_A (2)
31 SM-6030402-TN SCREW M3X4 (4)
32 E8626-729-0A0 FPI LED BOARD ASM. (4)
33 SM-5030801-SC SCREW M3X0.5 L=8 (8)
34 E2143-715-000 TIMER SPACER A (8)
35 E4901-760-000 POLY SLIDER THRUST WASHER (8)
36 WP-0320501-SC WASHER M3 (2)
37 WP-0320501-SC WASHER M3 (4)
38 E6033-729-000 FPI INSULATION SHEET (0.2)
39 400-94868 FPI_BRACKET_B (1)
40 400-94869 FPI_COVER_B (1)
41 400-94871 HARNESS_CLAMP_B (2)
42 400-94872 FPI_SIDE_BRACKET_L (1)
43 400-94873 FPI_SIDE_BRACKET_R (1)
44 SL-6061292-TN SCREW (6)

- -
80.CVS COMPONENTS
2 1
2 2 2 5
1 9 2 0
2 3
1 2
9
9
9
9
6
5
3
1 2
1 8
1 7
1 6
1 5
1 4
1 3
1 2
1 1
1 1
1 1
1 1
1 0
1 0
1 0
1 0
1 0
1 2
1 2
8
7
7
7
6
6
4
2 4 2 5