KE-3010_KE-3020V_KE-3020VR-Rev04.pdf - 第235页
- - REF.NO N O TE PART N O D E S C R I P T I O N Qty 1 40 1-1415 5 F EED ER SEN S BR ASM 1 2 40 1-1473 4 SE NSOR BR FL (1) 3 40 1-1019 2 SE NSOR BR FR (1) 4 # 0 1 401-1495 2 SENSOR BR FR 3010 (1) 5 40 1-1472 9 SE NSOR …

- -
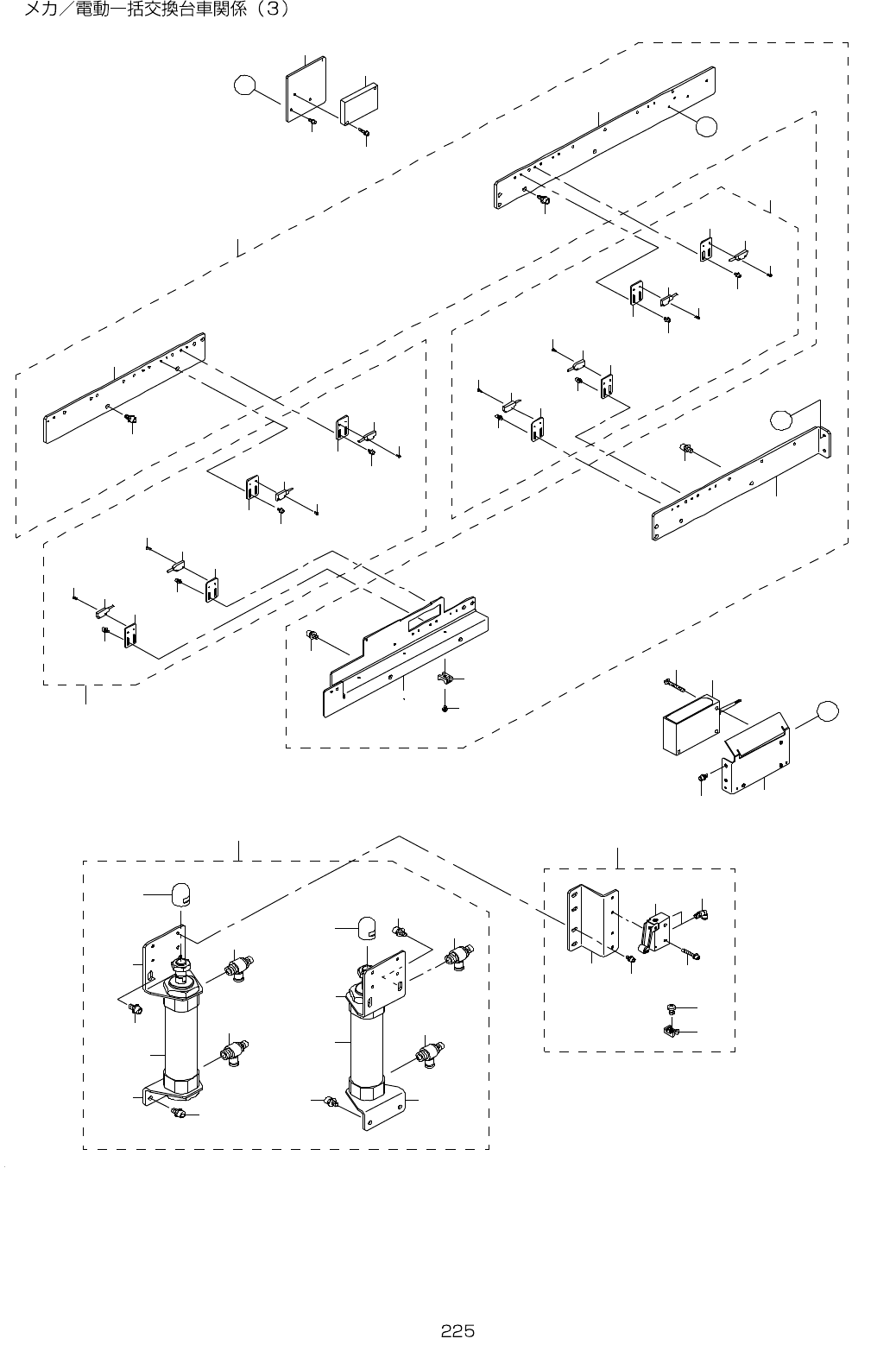
113.M / E REPLACING OVERALL CHANGER TRUCK COMPONENTS(3)
4 2
4 3
4 3
4 3
4 3
4 2
4 6
4 6
4 7
4 7
4 5
4 4
4 4
4 5
4 7
4 7
1 8
1
1 5
3 4
5
2
6
2 3
2 0
2 2
2 4
2 3
2 1
2 2
2 4
2 4
2 4
2 2
2 5
2 2
2 3
1 9
2 3
1 5
1 2
1 6
1 6
1 4
1 4
1 6
1 5
1 3
1 4
1 6
1 7
1 4
1 1
1 5
8
7
6
6
6
9
3 2
3 1
2 9
2 8
2 7
2 6
4 8
3 0
1 0
A
A
B
B
3 4
3 5
3 6
3 7
3 8
3 9
4 0
4 1
3 3

- -
REF.NO NOTE PART NO D E S C R I P T I O N Qty
1 401-14155 FEEDER SENS BR ASM 1
2 401-14734 SENSOR BR FL (1)
3 401-10192 SENSOR BR FR (1)
4
#01
401-14952 SENSOR BR FR 3010 (1)
5 401-14729 SENSOR BR RR (1)
6 SL-6051292-TN SCREW M5 L=12 (8)
7 HX-0029400-00 FIXED BASE (3)
8 SL-4030691-SC SCREW M3 L=6 (3)
9 401-10193 SENSOR BR R (1)
10 401-14156 M BANK F SENSOR ASM 1
11 401-10001 FD-FLOAT(FF)RECEIVE SENS ASM (1)
12 401-10002 FD-FLOAT(FR)EMISSIN SENS ASM (1)
13 401-10003 FD-FLOAT(FR)RECEIVE SENS ASM (1)
14 SM-4020501-SC SCREW M2 L=5 (8)
15 401-10190 FSD BR (4)
16 SL-6030692-TN SCREW M3 L=6 (8)
17 401-10000 FD-FLOAT(FF)EMISSIN SENS ASM (1)
18 401-14157 M BANK R SENSOR ASM 1
19 401-10005 FD-FLOAT(RF)RECEIVE SENS ASM (1)
20 401-10006 FD-FLOAT(RR)EMISSIN SENS ASM (1)
21 401-10007 FD-FLOAT(RR)RECEIVE SENS ASM (1)
22 SM-4020501-SC SCREW M2 L=5 (8)
23 401-10190 FSD BR (4)
24 SL-6030692-TN SCREW M3 L=6 (8)
25 401-10004 FD-FLOAT(RF)EMISSIN SENS ASM (1)
26 SL-6030892-TN SCREW M3 L=8 2
27 400-93804 REFLEKTOR 1
28 SL-6031492-TN SCREW M3 L=14 2
29 401-14730 ARRAY SENSOR BR 1
30 401-10014 REFLEX ARRAY SENSOR ASM 1
31 SM-4043001-SF SCREW M4X30 2
32 SL-6040892-TN SCREW M4 L=8 2
33 401-14146 BANK VALVE ME ASM 1
34 401-11181 BANK VALVE BR B (1)
35 SL-6040892-TN SCREW M4 L=8 (2)
36 PV-0105051-00 MECHANICAL VALVE (1)
37 PJ-3040405-05 UNION (2)
38 SL-6042592-TN SCREW M4 L=25 (2)
39 HX-0029400-00 FIXED BASE (1)
40 SM-4040801-SC SCREW M4X0.7 L=8 (1)
41 401-14141 E BANK SUPPORT UNIT 2
42 400-94347 CYLINDER CM2B40-75 (2)
43 PC-0152030-00 SPEED CONTROLLER (4)
44 400-93841 CYLINDER BR (2)
45 401-11180 CYLINDER BR U (2)
46 400-93842 LIFTER SHAFT HEAD (2)
47 SL-6061292-TN SCREW M6 L=12 (8)
48 400-93992 S BR C 1

- -
114.M / E REPLACING OVERALL CHANGER TRUCK COMPONENTS(4)(TYPE XL)
2 6
2 5
2 7
2 3
2 4
3
1 4
1 4
2 7
1 3
1 3
4
5
5 5
5
6
6
7
7
8
8
9
9
1 0
1 0
1 1
1 1
1 2
1 2
1 5
1 6
1 5
1 6
1 7
1 8
2 1
2 1
2 0
2 0
1 9
1 9
2 2
2
2
2 2
6 2 6 9
3 1
3 4
3 5
3 6
4 4
3 8
3 9
3 9
3 9
4 0
4 1
4 2
4 3
5 0
5 1
5 5
6 1
4 7
5 7
5 6
5 2
4 8
4 9
4 8
4 9
5 8
5 4
7 2
7 3
5 9
6 0
6 3
6 4
6 5
6 6
7 1
6 8
7 4
6 7
5 3
7 5
7 6
5 3
7 7
7 0
8 0
7 9
8 5
8 2
8 3
8 4
8 3
8 4
8 1
8 5
8 6
4 5
7 8
8 7
8 8
7 8
4 5
4 5
7 8
A
9 0
9 0
8 9
4 6
4 6
4 6
4 6
A
B
B
6 5
6 4
C
C
3 7 3 2 3 3
8 9
7 8
4 5
1
2 8
2 8
3 0
2 9