KE-3010_KE-3020V_KE-3020VR-Rev04.pdf - 第36页
- - 14.ATC & CAL BLOC K C O MPO N E NTS(30 1 0) 6 4 6 4 6 4 4 6 4 7 5 0 5 1 5 4 4 4 4 5 6 1 6 3 2 4 4 3 A 5 9 5 7 5 3 4 8 4 9 5 2 5 8 5 6 5 5 5 4 6 0 6 2 1 2 9 1 3 6 1 8 2 6 1 9 A 4 3 4 3 1 5 9 8 2 5 7 6 5 1 2 1 1 …

- -
REF.NO NOTE PART NO D E S C R I P T I O N Qty
1 401-06035 BASE_BRIGE 1
2 HX-0034400-00 HARNESS PARTS 2
3 HX-0029400-00 FIXED BASE 5
4 SM-4040601-SC SCREW M4X0.7 L=6 12
5 HX-0045400-00 TIE MOUNT 5
6 401-14520 ATC_3020V_ASSY 1
7 400-45972 ATC BASE(80) (1)
8 HX-0034400-00 HARNESS PARTS (3)
9 SM-4040601-SC SCREW M4X0.7 L=6 (3)
10 PC-0105080-00 SPEED CONTROLLER (2)
11 400-62594 CHEESE UNION (1)
12 PV-1502060-A0 5 PORT MAGNETIC TRANSFER VALVE (1)
13 PX-0505010-00 SILENCER (2)
14 SM-6040802-TN SCREW (2)
15 400-45983 ATC LABEL (1)
16 400-92510 ATC SV CABLE ASM (1)
17 400-45973 ATC PLATE (1)
18 400-45974 SLIDE BASE (1)
19 SM-1051452-TN PLATE SCREW M5 L=14 (4)
20 400-45975 GUIDE SPACER (4)
21 400-45976 SLIDE PLATE (1)
22 E3404-700-000 THRUST WASHER (8)
23 WP-0451016-SP WASHER 4.5X20X1 (4)
24 400-50375 CAL VCUM SV ASM (1)
25 400-02125 CAL VCUM SV ASM (1)
26 PJ-3010605-03 HALF UNION (1)
27 PJ-3040405-04 ELBOW UNION (1)
28 401-06052 CHIP_BOX_HANGER (1)
29 SM-1040852-TP DISH SCREW (2)
30 SL-6041092-TN SCREW (4)
31 400-45977 SLIDER ANGLE (1)
32 SL-6041092-TN SCREW (2)
33 400-45978 SENSOR DOG (1)
34 SL-4030691-SC SCREW M3 L=6 (1)
35 400-01286 ATC SPACER RUBBER (1)
36 B2107-816-000 WASHER (1)
37 GLA-02335000 CLAMP WASHER (1)
38 E3528-729-000 ATC JOINT (1)
39 401-10017 ATC CLOSE SENS ASM (1)
40 401-10016 ATC OPEN SENS ASM (1)
41 SM-4030501-SC SCREW M3X0.5 L=5 (4)
42 400-42709 AIR CYLINDER (1)
43 BT-0400251-EA TUBE HOSE, BLUE (0.8)
44
#02
401-32367 CAL_BLOCK_3020V_ASM 1
45
#01
400-50377 CAL BLOCK 80 ASM 1
46
#02
401-32365 NOZZLE CAL PIECE ASM (1)
47
#01
400-57039 NOZZLE CAL PIECE ASM (1)
48 L203E-021-000 NOZZLE CAL PIECE OUTER (1)
49 NM-6050001-SC NUT M5X0.8 TYPE1 (1)
50
#02
401-22811 CAL-VCUM_SENS_ASM (1)
51
#01
400-02126 CAL VACUUM SENSOR ASSY (1)
52 400-45979 NOZZLE CAL PIECE (1)
53 L203E-121-000 NOZZLE CAL PIECE OUTER SP (1)
54 L202E-521-000 CAL SIDE COVER (1)
55 SM-6030602-TN SCREW M3X6 (2)
56 L202E-621-000 CAL DIFFUSER (1)
57 SL-4030691-SC SCREW M3 L=6 (2)
58 400-07376 CALBLOCK PCB ASM (1)
59 SL-4030891-SC SCREW M3X8 (2)
60 PJ-3010405-05 HALF UNION (1)
61 400-45995 CAL PIECE BASE (1)
62 400-45996 CAL PIECE RING (1)
63 SM-6031602-TN SCREW M3 L=16 (4)
64 L202E-421-000 CAL PLATE (1)
65 SM-1051452-TN PLATE SCREW M5 L=14 (2)
66 BT-0400251-EB URETHANE HOSE, BLACK (0.3)
67 SL-6062092-TN SCREW M6 L=20 4
68 SL-6064092-TN SCREW 6

- -
14.ATC & CAL BLOCK COMPONENTS(3010)
6 4
6 4
6 4
4 6 4 7
5 0 5 1
5
4
4 4 4 5
6 1
6 3
2
4
4
3
A
5 9
5 7
5 3
4 8
4 9
5 2
5 8
5 6
5 5
5 4
6 0
6 2
1
2 9
1 3
6
1 8
2 6
1 9
A
4 3
4 3
1 5
9
8
2 5
7
6 5
1 2
1 1
4 2
2 9
4 1
4 1
3 9
4 0
3 1
3 2
3 4
3 3
2 0
1 9
1 7
1 4
1 6
2 7
2 8
1 0
3 8
3 7
3 6
3 5
3 0
2 1
2 2
2 3
2 4

- -
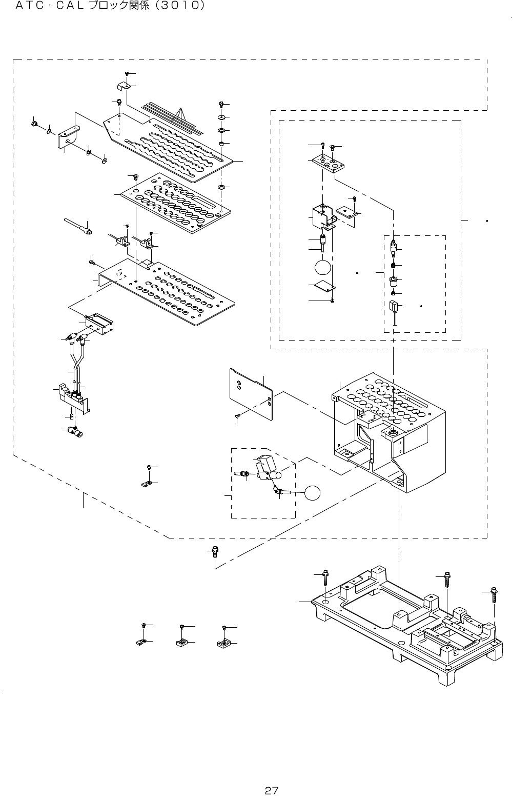
REF.NO NOTE PART NO D E S C R I P T I O N Qty
1 401-08815 BASE BRIDGE 3010 1
2 HX-0034400-00 HARNESS PARTS 2
3 HX-0029400-00 FIXED BASE 5
4 SM-4040601-SC SCREW M4X0.7 L=6 12
5 HX-0045400-00 TIE MOUNT 5
6 401-14763 ATC 3010 ASSY 1
7 400-45971 ATC BASE(70) (1)
8 HX-0034400-00 HARNESS PARTS (3)
9 SM-4040601-SC SCREW M4X0.7 L=6 (3)
10 PX-0505010-00 SILENCER (2)
11 SM-6040802-TN SCREW (2)
12 400-45983 ATC LABEL (1)
13 400-92510 ATC SV CABLE ASM (1)
14 400-45973 ATC PLATE (1)
15 400-45974 SLIDE BASE (1)
16 SM-1051452-TN PLATE SCREW M5 L=14 (4)
17 400-45975 GUIDE SPACER (4)
18 400-45976 SLIDE PLATE (1)
19 E3404-700-000 THRUST WASHER (8)
20 WP-0451016-SP WASHER 4.5X20X1 (4)
21 400-50375 CAL VCUM SV ASM (1)
22 400-02125 CAL VCUM SV ASM (1)
23 PJ-3010605-03 HALF UNION (1)
24 PJ-3040405-04 ELBOW UNION (1)
25 SM-1040852-TP DISH SCREW (2)
26 400-45980 CHIP BOX HANGER (1)
27 PV-1502060-A0 5 PORT MAGNETIC TRANSFER VALVE (1)
28 400-62594 CHEESE UNION (1)
29 PC-0105080-00 SPEED CONTROLLER (2)
30 SL-6041092-TN SCREW (4)
31 400-45977 SLIDER ANGLE (1)
32 SL-6041092-TN SCREW (2)
33 400-45978 SENSOR DOG (1)
34 SL-4030691-SC SCREW M3 L=6 (1)
35 400-01286 ATC SPACER RUBBER (1)
36 B2107-816-000 WASHER (1)
37 GLA-02335000 CLAMP WASHER (1)
38 E3528-729-000 ATC JOINT (1)
39 401-10017 ATC CLOSE SENS ASM (1)
40 401-10016 ATC OPEN SENS ASM (1)
41 SM-4030501-SC SCREW M3X0.5 L=5 (4)
42 400-42709 AIR CYLINDER (1)
43 BT-0400251-EA TUBE HOSE, BLUE (0.8)
44
#02
401-32366 CAL_BLOCK_3010_ASM 1
45
#01
400-50376 CAL BLOCK 70 ASM 1
46
#02
401-32365 NOZZLE CAL PIECE ASM (1)
47
#01
400-57039 NOZZLE CAL PIECE ASM (1)
48 L203E-021-000 NOZZLE CAL PIECE OUTER (1)
49 NM-6050001-SC NUT M5X0.8 TYPE1 (1)
50
#02
401-22811 CAL-VCUM_SENS_ASM (1)
51
#01
400-02126 CAL VACUUM SENSOR ASSY (1)
52 400-45979 NOZZLE CAL PIECE (1)
53 L203E-121-000 NOZZLE CAL PIECE OUTER SP (1)
54 L202E-521-000 CAL SIDE COVER (1)
55 SM-6030602-TN SCREW M3X6 (2)
56 L202E-621-000 CAL DIFFUSER (1)
57 SL-4030691-SC SCREW M3 L=6 (2)
58 400-07376 CALBLOCK PCB ASM (1)
59 SL-4030891-SC SCREW M3X8 (2)
60 PJ-3010405-05 HALF UNION (1)
61 400-45994 CAL PLATE (1)
62 SM-1051452-TN PLATE SCREW M5 L=14 (2)
63 BT-0400251-EB URETHANE HOSE, BLACK (0.3)
64 SL-6064092-TN SCREW 6
65 SL-6062092-TN SCREW M6 L=20 4