EJM8ACIM1
CM602-L 安装手册 Page 1-1 1. 1. 设置 在本章中,对本机器的设置方法进行了说明。 请按照本书进行安装。 设置时,请参照 “ 关于直线马达的使用 ” ,并进行作业。 1.1 设置准备 对设置时的条件及设定 方法进行了说明。 1.2 设置步骤 对从安装到向本机器供 给电源、空气的作业 步骤进行了说明。 1.3 周边装置和电缆的连接 对主要周边装置连接方 法进行了说明。 EJM8A- C-IMB01-A00- 00

CM602-L
安装手册
Page 1-1
1.
1.
设置
在本章中,对本机器的设置方法进行了说明。
请按照本书进行安装。
设置时,请参照
“
关于直线马达的使用
”
,并进行作业。
1.1
设置准备
对设置时的条件及设定方法进行了说明。
1.2
设置步骤
对从安装到向本机器供给电源、空气的作业步骤进行了说明。
1.3
周边装置和电缆的连接
对主要周边装置连接方法进行了说明。
EJM8A-C-IMB01-A00-00

CM602-L
安装手册
1.1
设置准备
Page 1-2
1.
1.1
设置准备
1.1.1
设置场所的选择
1.
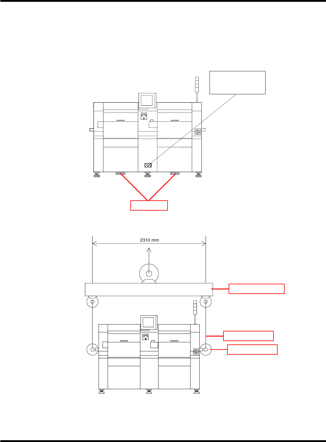
将机器放置于水平的场所。
2.
基础
设置的基础必须为水平的混凝土地板。
请确认地基有无足够的耐久力。
∗
地基的耐久力
: 6570 N/m
2
以上
3.
条件
(
应无水汽凝结
)
•
温度
:
10
°
C ~ 35
°
C
•
湿度
: 25% RH ~ 75% RH
4.
其它条件
参照由客户准备的配置图,并确保维修作业所需的足够空间。
1.1.2
配置图
使用由客户准备的配置图,划机器的基准线。
EJM8A-C-IMB01-A01-00

CM602-L
安装手册
1.1
Page 1-3
1.1.3
搬送
∗
在搬送之前,请务必将整体交换台车以及直接托盘供料器从主体上拆卸。
A)
往载重汽车上装卸时使用叉车或吊车。
使用叉车时
请操作叉车,以使如下图所示的中心标签与货叉中心相吻合。
使用吊车时
(
需用特殊的吊起工具。
)
∗
1
:
带孔螺栓,请务必确实地拧紧至螺栓根部。
4Z4C-814E
特殊的吊起工具
钢丝绳
带孔螺栓
∗
1
EJM8A-C-IMB01-A01-00
4Z4C-805E
MASS: 3400 kg
CENTER
6
货叉